美国外观专利第44期|12.20厨房工具专利新下证合集
AI设计/3D打印/欧洲市场实战拆解,点击报名
近日,多款厨房工具用品已成功申请美国外观专利认证,包括厨房秤、电动瓶刷、盐和胡椒研磨器、餐具架、蔬菜切碎机、磨刀器、清洁刷、冰块托盘、玉米脱粒机等热卖品类。跨境卖家在选品时务必注意规避侵权风险。
01
厨房秤

专利图

相似实物
专利信息 | |
专利名称 | Kitchen scale |
专利号 | USD1105945S1 |
专利权人 | SMEG S.P.A. (Guastalla, IT) |
侵权类型 | 美国外观专利 |
申请日 | 2023-10-26 |
下证时间 | 2025-12-16 |
02
电动瓶刷

专利图

相似实物
专利信息 | |
专利名称 | Electric bottle brush |
专利号 | USD1105758S1 |
专利权人 | Shenzhen Chuangshenli Technology Co., Ltd |
侵权类型 | 美国外观专利 |
申请日 | 2024-06-21 |
下证时间 | 2025-12-16 |
03
盐和胡椒研磨器

专利图

相似实物
专利信息 | |
专利名称 | Salt and pepper mill |
专利号 | USD1105864S1 |
专利权人 | Nasyrov; Timur Yuryevich |
侵权类型 | 美国外观专利 |
申请日 | 2023-12-15 |
下证时间 | 2025-12-16 |
04
磁性餐具架

专利图

相似实物
专利信息 | |
专利名称 | Magnetic cutlery holder |
专利号 | USD1103711S1 |
专利权人 | Bevel Pro, Inc. (Vero Beach, FL US) |
侵权类型 | 美国外观专利 |
申请日 | 2023-05-16 |
下证时间 | 2025-12-02 |
05
烤架刮刀

专利图

相似实物
专利信息 | |
专利名称 | Grill scraper |
专利号 | USD1104389S1 |
专利权人 | Thompson Brothers & Company, LLC (Oakdale, MN US) |
侵权类型 | 美国外观专利 |
申请日 | 2022-11-28 |
下证时间 | 2025-12-02 |
06
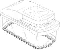
烹饪篮

专利图
专利信息 | |
专利名称 | Cooking basket |
专利号 | USD1105845S1 |
专利权人 | GESTION ADCI INC. (Saint-Victor, CA) |
侵权类型 | 美国外观专利 |
申请日 | 2023-07-13 |
下证时间 | 2025-12-16 |
07
蔬菜切碎机

专利图

相似实物
专利信息 | |
专利名称 | Vegetable chopper |
专利号 | USD1105862S1 |
专利权人 | Shuangma Plastic Manufacturing Inc (Taizhou, CN) |
侵权类型 | 美国外观专利 |
申请日 | 2024-01-31 |
下证时间 | 2025-12-16 |
08
磨刀器

专利图

相似实物
专利信息 | |
专利名称 | Knife sharpener |
专利号 | USD1104694S1 |
专利权人 | He; Xiaocui (Shenzhen, CN) |
侵权类型 | 美国外观专利 |
申请日 | 2024-03-17 |
下证时间 | 2025-12-09 |
09
厨房储物架

专利图

相似实物
专利信息 | |
专利名称 | Kitchen storage rack |
专利号 | USD1104656S1 |
专利权人 | Caraway Home, Inc. |
侵权类型 | 美国外观专利 |
申请日 | 2023-07-16 |
下证时间 | 2025-12-09 |
10
厨房秤

专利图

相似实物
专利信息 | |
专利名称 | Kitchen scale |
专利号 | USD1105944S1 |
专利权人 | Shenzhen Wenqu E-commerce Co., Ltd. |
侵权类型 | 美国外观专利 |
申请日 | 2024-09-13 |
下证时间 | 2025-12-16 |
11
铸铁清洁刷

专利图

相似实物
专利信息 | |
专利名称 | Chainmail scrubber |
专利号 | USD1102695S1 |
专利权人 | Lin; Huixian |
侵权类型 | 美国外观专利 |
申请日 | 2024-03-06 |
下证时间 | 2025-11-18 |
12
排水碟架

专利图

相似实物
专利信息 | |
专利名称 | Drainage dish rack |
专利号 | USD1105683S1 |
专利权人 | Wang; Yongding |
侵权类型 | 美国外观专利 |
申请日 | 2025-01-15 |
下证时间 | 2025-12-09 |
13
冰盘

专利图

相似实物
专利信息 | |
专利名称 | Ice tray |
专利号 | USD1105180S1 |
专利权人 | YETI Coolers, LLC |
侵权类型 | 美国外观专利 |
申请日 | 2025-05-02 |
下证时间 | 2025-12-09 |
14
冰块托盘

专利图
专利信息 | |
专利名称 | Ice cube tray |
专利号 | USD1105179S1 |
专利权人 | Shenzhen Feiaoda Technology Co., Ltd. |
侵权类型 | 美国外观专利 |
申请日 | 2024-04-27 |
下证时间 | 2025-12-09 |
15
手持式玉米脱粒机

专利图

相似实物
专利信息 | |
专利名称 | Handheld corn sheller |
专利号 | USD1101521S1 |
专利权人 | Wang; Yongding |
侵权类型 | 美国外观专利 |
申请日 | 2023-08-17 |
下证时间 | 2025-11-11 |
16
披萨刀

专利图

相似实物
专利信息 | |
专利名称 | Pizza cutter |
专利号 | USD1100609S1 |
专利权人 | CARAWAY HOME, INC. |
侵权类型 | 美国外观专利 |
申请日 | 2024-02-26 |
下证时间 | 2025-11-04 |


近日,多款厨房工具用品已成功申请美国外观专利认证,包括厨房秤、电动瓶刷、盐和胡椒研磨器、餐具架、蔬菜切碎机、磨刀器、清洁刷、冰块托盘、玉米脱粒机等热卖品类。跨境卖家在选品时务必注意规避侵权风险。
01
厨房秤

专利图

相似实物
专利信息 | |
专利名称 | Kitchen scale |
专利号 | USD1105945S1 |
专利权人 | SMEG S.P.A. (Guastalla, IT) |
侵权类型 | 美国外观专利 |
申请日 | 2023-10-26 |
下证时间 | 2025-12-16 |
02
电动瓶刷

专利图

相似实物
专利信息 | |
专利名称 | Electric bottle brush |
专利号 | USD1105758S1 |
专利权人 | Shenzhen Chuangshenli Technology Co., Ltd |
侵权类型 | 美国外观专利 |
申请日 | 2024-06-21 |
下证时间 | 2025-12-16 |
03
盐和胡椒研磨器

专利图

相似实物
专利信息 | |
专利名称 | Salt and pepper mill |
专利号 | USD1105864S1 |
专利权人 | Nasyrov; Timur Yuryevich |
侵权类型 | 美国外观专利 |
申请日 | 2023-12-15 |
下证时间 | 2025-12-16 |
04
磁性餐具架

专利图

相似实物
专利信息 | |
专利名称 | Magnetic cutlery holder |
专利号 | USD1103711S1 |
专利权人 | Bevel Pro, Inc. (Vero Beach, FL US) |
侵权类型 | 美国外观专利 |
申请日 | 2023-05-16 |
下证时间 | 2025-12-02 |
05
烤架刮刀

专利图

相似实物
专利信息 | |
专利名称 | Grill scraper |
专利号 | USD1104389S1 |
专利权人 | Thompson Brothers & Company, LLC (Oakdale, MN US) |
侵权类型 | 美国外观专利 |
申请日 | 2022-11-28 |
下证时间 | 2025-12-02 |
06
烹饪篮

专利图
专利信息 | |
专利名称 | Cooking basket |
专利号 | USD1105845S1 |
专利权人 | GESTION ADCI INC. (Saint-Victor, CA) |
侵权类型 | 美国外观专利 |
申请日 | 2023-07-13 |
下证时间 | 2025-12-16 |
07
蔬菜切碎机

专利图

相似实物
专利信息 | |
专利名称 | Vegetable chopper |
专利号 | USD1105862S1 |
专利权人 | Shuangma Plastic Manufacturing Inc (Taizhou, CN) |
侵权类型 | 美国外观专利 |
申请日 | 2024-01-31 |
下证时间 | 2025-12-16 |
08
磨刀器

专利图

相似实物
专利信息 | |
专利名称 | Knife sharpener |
专利号 | USD1104694S1 |
专利权人 | He; Xiaocui (Shenzhen, CN) |
侵权类型 | 美国外观专利 |
申请日 | 2024-03-17 |
下证时间 | 2025-12-09 |
09
厨房储物架

专利图

相似实物
专利信息 | |
专利名称 | Kitchen storage rack |
专利号 | USD1104656S1 |
专利权人 | Caraway Home, Inc. |
侵权类型 | 美国外观专利 |
申请日 | 2023-07-16 |
下证时间 | 2025-12-09 |
10
厨房秤

专利图

相似实物
专利信息 | |
专利名称 | Kitchen scale |
专利号 | USD1105944S1 |
专利权人 | Shenzhen Wenqu E-commerce Co., Ltd. |
侵权类型 | 美国外观专利 |
申请日 | 2024-09-13 |
下证时间 | 2025-12-16 |
11
铸铁清洁刷

专利图

相似实物
专利信息 | |
专利名称 | Chainmail scrubber |
专利号 | USD1102695S1 |
专利权人 | Lin; Huixian |
侵权类型 | 美国外观专利 |
申请日 | 2024-03-06 |
下证时间 | 2025-11-18 |
12
排水碟架

专利图

相似实物
专利信息 | |
专利名称 | Drainage dish rack |
专利号 | USD1105683S1 |
专利权人 | Wang; Yongding |
侵权类型 | 美国外观专利 |
申请日 | 2025-01-15 |
下证时间 | 2025-12-09 |
13
冰盘

专利图

相似实物
专利信息 | |
专利名称 | Ice tray |
专利号 | USD1105180S1 |
专利权人 | YETI Coolers, LLC |
侵权类型 | 美国外观专利 |
申请日 | 2025-05-02 |
下证时间 | 2025-12-09 |
14
冰块托盘

专利图
专利信息 | |
专利名称 | Ice cube tray |
专利号 | USD1105179S1 |
专利权人 | Shenzhen Feiaoda Technology Co., Ltd. |
侵权类型 | 美国外观专利 |
申请日 | 2024-04-27 |
下证时间 | 2025-12-09 |
15
手持式玉米脱粒机

专利图

相似实物
专利信息 | |
专利名称 | Handheld corn sheller |
专利号 | USD1101521S1 |
专利权人 | Wang; Yongding |
侵权类型 | 美国外观专利 |
申请日 | 2023-08-17 |
下证时间 | 2025-11-11 |
16
披萨刀

专利图

相似实物
专利信息 | |
专利名称 | Pizza cutter |
专利号 | USD1100609S1 |
专利权人 | CARAWAY HOME, INC. |
侵权类型 | 美国外观专利 |
申请日 | 2024-02-26 |
下证时间 | 2025-11-04 |







其他
04-09 周四











