这些卖得不错的家居玩具品类谨慎上架!已经有专利了
Wayfair官方经理解码定价运营策略,拆解亿级大卖0-1运营实战全路径!点击获取>>>

专利名称:Camping pot露营锅
专利号:US-D1104605-S
申请日:2025-1-16
下证日:2025-12-9

专利名称:Crab toy蟹玩具
专利号:US-D1105294-S
申请日:2025-2-7
下证日:2025-12-9

专利名称:Drainage dish rack排水盘架
专利号:US-D1105683-S
申请日:2025-1-15
下证日:2025-12-9

专利名称:Toothbrush holder牙刷架
专利号:US-D1104527-S
申请日:2025-2-17
下证日:2025-12-9


专利名称:Warming plate加热垫
专利号:US-D1104608-S
申请日:2024-12-18
下证日:2025-12-9

专利名称:Pet water dispenser宠物饮水器
专利号:US-D1105638-S
申请日:2025-1-10
下证日:2025-12-9

专利名称:Fan lamp风扇吊扇
专利号:US-D1105538-S
申请日:2024-11-28
下证日:2025-12-9

专利名称:Incense burner香炉
专利号:US-D1104851-S
申请日:2025-1-8
下证日:2025-12-9

专利名称:Turtle doll针织玩偶
专利号:US-D1105296-S
申请日:2024-10-29
下证日:2025-12-9

专利名称:Bottle水瓶
专利号:US-D1104628-S
申请日:2024-10-24
下证日:2025-12-9

专利名称:Ambience light氛围灯
专利号:US-D1105569-S
申请日:2024-10-23
下证日:2025-12-9

专利名称:Spoon holder汤勺架
专利号:US-D1104657-S
申请日:2024-10-18
下证日:2025-12-9

专利名称:Lamp灯
专利号:US-D1105571-S
申请日:2024-9-11
下证日:2025-12-9

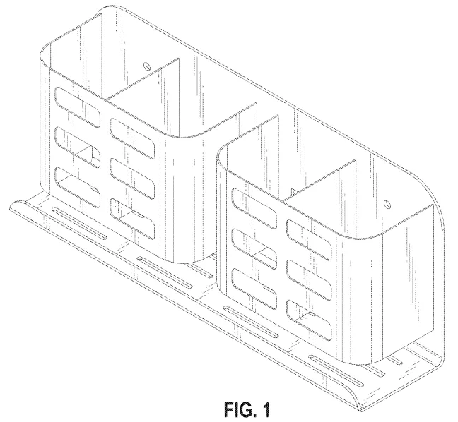
专利名称:Storage rack储物架
专利号:US-D1104524-S
申请日:2024-9-6
下证日:2025-12-9

专利名称:Portable sound machine便携音乐播放器
专利号:US-D1105038-S
申请日:2024-8-29
下证日:2025-12-9
温馨提示:
不是下证了的专利就一定稳定,或者一定能在市场发起投诉,也要看专利的申请时间是否更早,同类型的专利技术有无更早的公开,这些都会影响专利后期的使用。有的专利发起维权就遇到其他人无效的情况也是很常见。
同时最重要要看专利的保护范围,比如外观的虚实线,整个产品的结构特点,发明专利的权利点等等。
建议大家不要为了专利而申请专利,申请有效果能实际保护到产品的专利才是好专利!




专利名称:Camping pot露营锅
专利号:US-D1104605-S
申请日:2025-1-16
下证日:2025-12-9

专利名称:Crab toy蟹玩具
专利号:US-D1105294-S
申请日:2025-2-7
下证日:2025-12-9

专利名称:Drainage dish rack排水盘架
专利号:US-D1105683-S
申请日:2025-1-15
下证日:2025-12-9

专利名称:Toothbrush holder牙刷架
专利号:US-D1104527-S
申请日:2025-2-17
下证日:2025-12-9


专利名称:Warming plate加热垫
专利号:US-D1104608-S
申请日:2024-12-18
下证日:2025-12-9

专利名称:Pet water dispenser宠物饮水器
专利号:US-D1105638-S
申请日:2025-1-10
下证日:2025-12-9

专利名称:Fan lamp风扇吊扇
专利号:US-D1105538-S
申请日:2024-11-28
下证日:2025-12-9

专利名称:Incense burner香炉
专利号:US-D1104851-S
申请日:2025-1-8
下证日:2025-12-9

专利名称:Turtle doll针织玩偶
专利号:US-D1105296-S
申请日:2024-10-29
下证日:2025-12-9

专利名称:Bottle水瓶
专利号:US-D1104628-S
申请日:2024-10-24
下证日:2025-12-9

专利名称:Ambience light氛围灯
专利号:US-D1105569-S
申请日:2024-10-23
下证日:2025-12-9

专利名称:Spoon holder汤勺架
专利号:US-D1104657-S
申请日:2024-10-18
下证日:2025-12-9

专利名称:Lamp灯
专利号:US-D1105571-S
申请日:2024-9-11
下证日:2025-12-9

专利名称:Storage rack储物架
专利号:US-D1104524-S
申请日:2024-9-6
下证日:2025-12-9

专利名称:Portable sound machine便携音乐播放器
专利号:US-D1105038-S
申请日:2024-8-29
下证日:2025-12-9
温馨提示:
不是下证了的专利就一定稳定,或者一定能在市场发起投诉,也要看专利的申请时间是否更早,同类型的专利技术有无更早的公开,这些都会影响专利后期的使用。有的专利发起维权就遇到其他人无效的情况也是很常见。
同时最重要要看专利的保护范围,比如外观的虚实线,整个产品的结构特点,发明专利的权利点等等。
建议大家不要为了专利而申请专利,申请有效果能实际保护到产品的专利才是好专利!








其他
04-09 周四











