Item 1 of 1
#匹克球拍 发明专利加持,相关同行应做好侵权风险评估了!
2026-04-10 20:32
平台新政&爆款打造及差异化布局攻略揭秘,手把手教你进军巴西>>>
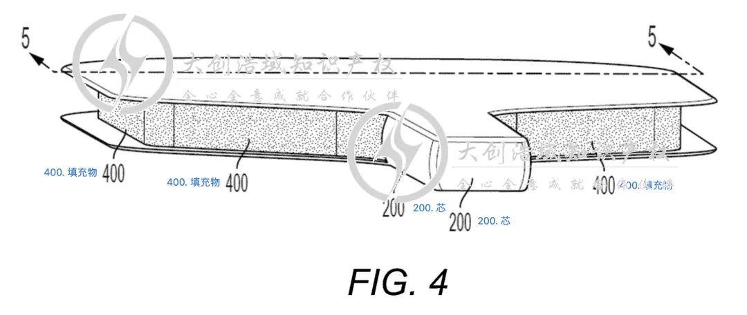
目前市面上的匹克球、壁球等运动球拍,在性能上仍有明显提升空间,尤其是力量传导、击球手感和减震效果方面。

一种新型实心拍面的制造工艺如下:首先,挖去拍芯的一部分区域,用泡沫等第一种填充材料填补空隙;接着,再使用第二种填充材料,将拍框整体包裹在拍芯外围。这一工艺能够有效增强击球力量并减少振动,从而打造出力量更强、震动更小的球拍,帮助球员获得更出色的场上表现与舒适手感。



TikTok、Facebook、谷歌、Twitter广告服务,0门槛抢占全球流量!
极速开户+优化投流+风险保障+效果跟踪,仅需4步,轻松撬动亿万海外流量,让品牌销量翻倍增长!
已成功开通5000+账户

最新热门报告作者标签
美国CPSC紧急召回1.2万亚马逊在售风扇,存起火风险AMZ123获悉,近日,美国消费品安全委员会(CPSC)发布公告,紧急召回Snooz, Inc.生产的Breez 2-in-1智能卧室风扇及白噪音机器,原因是产品存在潜在火灾风险。本次召回产品型号为Breez 2-in-1 Smart Bedroom Fan and White Noise Machine,这是一款结合白噪音与空气循环功能的智能设备,产品外观为白色机身搭配米色支架,并配备温度感应自动风扇模式及可通过手机应用控制的智能功能。根据公告,产品底部木质底座上印有序列号,凡以BZ10或BZ02开头的产品均在召回范围内。召回原因是设备内部电源连接器可能发生腐蚀,进而导致风扇过热,存在起火风险。
DHL在印尼雅加达南部开设新网点AMZ123获悉,近日,DHL Express宣布,在印度尼西亚南雅加达Fatmawati地区开设新的服务网点,以提升客户获取国际与国内快递服务的便利性。该网点位于当地重要商业走廊,旨在覆盖南雅加达最活跃的商贸区域之一。新设立的服务点主要服务于出口、进口以及国内配送需求,覆盖中小企业、线上卖家、创意从业者以及企业客户等多类用户。这些客户通常依赖DHL的全球航空运输网络以及本地快递路线,以完成对时效要求较高的物流运输。当前,印尼跨境电商市场持续增长,整体规模已达到1200亿美元。在数字化普及和消费需求提升的推动下,无论是进口商品进入印尼市场,还是本地商品出口至全球买家,均呈现出强劲需求。
3C类目再现黑马!TikTok一款“手搓”型支架单日爆卖近10万上架不足月的3C新品,在TikTok美区杀疯了
费用上涨与回款延迟,亚马逊卖家资金链压力加剧AMZ123获悉,近日,据外媒报道,随着费用上涨和平台政策调整持续推进,亚马逊平台卖家正面临更大的现金流压力与利润收缩风险。多位卖家表示,今年以来的一系列新变化,包括广告费用扣款方式调整、回款周期延长以及物流成本上升,正在对经营产生叠加影响。在广告费用方面,亚马逊计划自4月15日起,将广告支出从原本通过信用卡支付,调整为直接从卖家销售收入中扣除。这一变化意味着卖家无法再利用信用卡周期来缓冲资金压力。以美国威斯康星州卖家Chuck Gregorich为例,其公司此前通过信用卡管理广告费用与销售回款之间的时间差,而新政策实施后,预计将有高达80万美元的营运资金被占用。
亚马逊平台竞争白热化,一系列政策调整如何应对?近两年,亚马逊密集推出一系列政策调整,从变体管理到定价规范,从合规审查到费用调整,力度之大前所未有。表面上看是平台规则的完善与升级,实则折射出一个严峻的现实:亚马逊生态早已告别红利期,卖家正面临前所未有的生存压力。面对持续收紧的平台政策和日益激烈的存量竞争,“把鸡蛋放在一个篮子里”的单一平台策略风险越来越大,多渠道运营、尤其是结合TikTok和独立站的全域打法,正在成为越来越多亚马逊卖家的破局之道。一、政策收紧,合规成本持续攀升过去两年,亚马逊在合规层面的要求可谓层层加码。2025年9月起,平台开始移除不相关的变体主题,跨品类捆绑、利用僵尸链接为新品引流等操作被明令禁止。
跨境电商的这3张绩效表,不是给HR看的,是给你看的2024年已行至一半,全球跨境电商市场在经历了一段时间的波动后,逐渐展现出恢复与增长的态势,作为跨境电商老板,上半年行业整体如何?有哪些新的趋势和机会点?作为企业的决策者,如何制定适合自己的策略和计划?有时候,制定计划会让我们觉得繁琐而不去实行,实际上这2%的时间常常有不亚于10%的效果,它不仅帮助我们节约了做任务时的边际时间,还带给我们一种踏实感。“先做了再说”和“胸有成竹”地做效率是截然不同的。我们应该与雄鹰为邻,与白云做伴,与太阳为友;我们应该像风一样掠过天空。——尼采《谁是谁的太阳》我们应该与雄鹰为邻,与白云做伴,与太阳为友;我们应该像风一样掠过天空。
重磅!小红书跨境电商平台将于6月上线中国电商的出海竞争,正在进入“贴身肉搏”的竞争白热化阶段。拼多多Temu在维持低价优势的同时收紧平台监管、优化卖家生态;阿里通过速卖通、淘宝、天猫进一步向欧洲、东南亚等核心区域伸出触角;京东则持续加码海外零售与物流布局,并在欧洲重新亮出了名为“Joybuy”的新刺刀……而在三大电商巨头之外,其他平台同样也在努力“抢戏”——比如近期再度吹响进军跨境电商号角的小红书。全链路合规难题现场答疑,4.17 深圳 | 深圳商务局&行业专家坐镇,落地实操一站获取!点击报名在跨境电商这片巨头林立的棋局上,小红书再落一子。
2025年西班牙电商市场将破900亿欧元!AMZ123获悉,近日,据外媒报道,2024年,西班牙零售市场规模已达3166.1亿美元。按照4.2%的年复合增长率推算,到2034年这一数字有望攀升至4777.5亿美元。推动这一扩张的核心力量,正是数字化渠道。预计到2025年,西班牙电商市场将突破900亿欧元。从线下业态来看,西班牙的综合零售业已经相当成熟。超市和百货商店在2026年的市场价值达到1193亿欧元,但竞争异常激烈且高度分散。以Mercadona和Lidl为代表的连锁超市占据着主导地位,它们手握庞大的货架资源,并拥有极高的客户忠诚度。这种格局持续挤压着价格与价值的空间,使得普通品牌很难维持高端定位。
TikTok带火国产电动烤架刷,跨境卖家已入账680万28天成交260万,TikTok烤架刷赛道又现吸金“爆款”
谈判破裂!美国宣布封锁伊朗所有港口AMZ123获悉,近日,据外媒报道,美国与伊朗围绕核问题的谈判在巴基斯坦未能达成协议后,局势迅速升级。美国中央司令部表示,将对伊朗所有港口实施海上封锁,封锁措施将于格林尼治时间周一14时(美国东部时间周一上午10时)开始执行,范围涵盖所有进出伊朗港口及沿海区域的船只,包括位于阿拉伯湾和阿曼湾的全部港口。声明强调,封锁将“对所有国家船只一视同仁”,但不会阻止往返非伊朗港口的船只通过霍尔木兹海峡。美国总统特朗普表示,此举旨在清除海峡中的水雷并恢复航道畅通,同时防止伊朗通过控制该水道获利。美国海军将拦截任何试图进出霍尔木兹海峡的船只,并警告称,对美方或民用船只发动攻击的行为将遭到强力回应。
紧急!卖家直评将被亚马逊全面取消点击雪球站外关注>>免费领取>>站外电子书2.0自开年,亚马逊的政策变化是分分钟的事。— 1 —亚马逊将全面取消直评?近期,有一则“4月8日起亚马逊将正式取消直评”的消息,在卖家朋友圈与社群持续刷屏。这次传闻一出来,更是让不少卖家坐不住,甚至还有人连夜找渠道囤直评号?!对新手卖家来说,首先要知道:直评是什么?直评是指消费者无需在亚马逊平台购买商品即可直接留下的评论,是亚马逊新品快速获取评论、提升权重的重要手段之一。在之前,直评就是卖家的起步神器,新链接全靠它撑场面。
我国广告收入首破2万亿;大疆创始人汪滔:脱离钱谈激励都是PUA;星巴克中国首提“千店千面”战略一周要闻速览2025年广告产业收入首次突破两万亿人民网报道,4月7日,市场监管总局公布数据显示,2025年,全国事业单位和规模以上企业广告业务收入首次突破2万亿元,达20502.1亿元,比2020年收入规模实现翻一番,年均增长率达16.8%。2025年,市场监管部门认真贯彻落实党中央、国务院决策部署,着力优化市场环境,广告业发展实现新跃升,呈现出三大亮点。数智广告增添产业发展动能。数智技术成为产业增长核心引擎,互联网广告业务收入13574.3亿元,比上年增长34.6%,在广告业务收入中所占的比重达到66.2%。从广告发布环节看,互联网广告发布收入12518.4亿元,占各类媒介广告发布收入的比重增长至89.1%。
小红书将于六月再次出海,定向邀50家商家AMZ123获悉,近日,根据多位受邀博主在社交平台发布的信息,小红书旗下的跨境电商项目Redshop将于2026年6月正式上线,首期定向邀请50家种子商家入驻,首批覆盖中国香港、中国澳门、美国、英国、澳大利亚、加拿大、新加坡、马来西亚等9大核心市场,后续将逐步拓展至更多海外区域。图源:小红书从定位来看,Redshop的口号是“把中国好货,带给全球用户”。与传统的货架式跨境电商不同,Redshop延续了小红书“内容种草+交易转化”的路径。目前Redshop仍处于定向邀请内测阶段,首批50家种子商家主要集中在非遗手工类和特色手工艺品领域,后续才会逐步放开其他品类。
亚马逊平台竞争白热化,一系列政策调整如何应对?近两年,亚马逊密集推出一系列政策调整,从变体管理到定价规范,从合规审查到费用调整,力度之大前所未有。表面上看是平台规则的完善与升级,实则折射出一个严峻的现实:亚马逊生态早已告别红利期,卖家正面临前所未有的生存压力。面对持续收紧的平台政策和日益激烈的存量竞争,“把鸡蛋放在一个篮子里”的单一平台策略风险越来越大,多渠道运营、尤其是结合TikTok和独立站的全域打法,正在成为越来越多亚马逊卖家的破局之道。一、政策收紧,合规成本持续攀升过去两年,亚马逊在合规层面的要求可谓层层加码。2025年9月起,平台开始移除不相关的变体主题,跨品类捆绑、利用僵尸链接为新品引流等操作被明令禁止。
费用上涨与回款延迟,亚马逊卖家资金链压力加剧AMZ123获悉,近日,据外媒报道,随着费用上涨和平台政策调整持续推进,亚马逊平台卖家正面临更大的现金流压力与利润收缩风险。多位卖家表示,今年以来的一系列新变化,包括广告费用扣款方式调整、回款周期延长以及物流成本上升,正在对经营产生叠加影响。在广告费用方面,亚马逊计划自4月15日起,将广告支出从原本通过信用卡支付,调整为直接从卖家销售收入中扣除。这一变化意味着卖家无法再利用信用卡周期来缓冲资金压力。以美国威斯康星州卖家Chuck Gregorich为例,其公司此前通过信用卡管理广告费用与销售回款之间的时间差,而新政策实施后,预计将有高达80万美元的营运资金被占用。
亚马逊强烈否认五月裁员1.4万人的传闻|跨境圈一周头条|圈子知道01亚马逊强烈否认五月裁员1.4万人的传闻近日有报道称,亚马逊计划在2026年5月进行大规模裁员,涉及1.4万个岗位。结合之前约1.6万人的裁员,若属实,亚马逊一年内裁员人数将逼近3万人。然而,亚马逊方面迅速否认了这一消息,称相关报道“不实且毫无依据”。不过,亚马逊确实正在进行内部重组,重心倾向于人工智能领域,并推进成本管控与组织架构的精简。云科技(AWS)、零售板块以及人力资源团队可能会受到影响,尤其是中层管理岗位,预计一线仓储与物流人员不受直接波及。此外,亚马逊的裁员与技术投入密切相关,公司将继续加大对数据中心和人工智能的投资,预计2026年将投入超过1250亿美元。
《全球产业深度研究之清真经济专题》PDF下载印度尼西亚是全球最大清真消费市场,规模达到2650亿美元;马来西亚是全球认证标准输出中心;沙特阿拉伯是GCC(海湾阿拉伯国家合作委员会)具有战略价值的清真枢纽。这三个国家形成了清真消费三大市场占比60%。
《TikTok Shop2026欧美运动户外类目报告》PDF下载欧美市场总GMV为15.11亿,整体结构呈现极度集中化的特征,其中美国站点的GMV高达12.32亿,占据了欧美市场的81.52%,月均GMV超过1.02亿。英国站点以 2.40亿的GMV和15.89%的份额位居第二。两大站点贡献了市场总GMV的97%以上。
《TikTok Shop2026东南亚运动户外类目报告》PDF下载作为东南亚各站点的支柱品类,运动户外凭借其深厚的消费群体基础与高社交属性,相比其他品类规模优势显著,并在近12个月继续保持强劲增长。近一年内,东南亚地区该品类总GMV逼近百亿美元,其中泰国站表现尤为突出,GMV突破4.7亿美元;马印尼站紧随其后,GMV近4亿美元。
《2026中国新能源智能汽车产业链出海研究报告》PDF下载海外主要汽车市场的国家/地区政策出现分化:以德国、意大利为代表的欧洲主要汽车生产国,携其本土汽车产业巨头,共同构成了推动欧盟调整“禁燃令”的主导力量。从本质上看,此次政策调整的进程,折射出欧盟内部不同国家与产业利益集团之间的复杂博弈。泰国、马来西亚和巴西现阶段开始偏好汽车产能的实际落地希望引入长期资本以支持当地的经济发展。
《2026中国电动微出行出海欧美市场研究报告》PDF下载动微出行的产品开发逻辑向车规级演进:行业技术架构正加速向机械一电驱一智控体系演进,提升产品研发、安全标准与供应链体系。未来竞争的核心不再是单一的续航或功率参数,而是平台化能力、智能化深度与全生命周期服务体系的构建。
《TikTok Shop突破末次触达归因(LTA)ROAS分析报告》PDF下载在数字化浪潮中,广告主正面临有效衡量广告支出回报率(ROAS)的挑战。传统未次触达归因(LTA)模型因数据收集难度和归因偏差问题已难以满足广告主的需求,因此,探索新的方法来解决这些问题显得尤为重要。
《未来电商报告:品牌独立站五步升级锁定未来确定性增长》PDF下载调研显示,出海商家针对家居、时尚及消费电子等品类布局比例均超过30%。独立站凭借其高度品牌化、个性化、场景化及功能性等优势,精准契合上述品类对品牌调性、场景交互及沉浸式体验的核心诉求,正成为商家黑五大促期提升销量、构建品牌竞争壁垒的关键载体。
《TikTok Shop达人真实种草力报告》PDF下载达人正在将文化内容、社群互动与商业转化深度融合,形成一个高度协同的内容商业生态,其价值早已不再局限于内容带来的直接收入。从更广义的商业视角来看,达人价值的核心在于真实影响力-即其内容对商品与服务产生影响并促成转化所形成的整体商业价值,这一能力正构成达人在内容电商体系中的带货价值基础。

#匹克球拍 发明专利加持,相关同行应做好侵权风险评估了!
案说跨境知识产权
2026-04-10 20:32
78
目前市面上的匹克球、壁球等运动球拍,在性能上仍有明显提升空间,尤其是力量传导、击球手感和减震效果方面。

一种新型实心拍面的制造工艺如下:首先,挖去拍芯的一部分区域,用泡沫等第一种填充材料填补空隙;接着,再使用第二种填充材料,将拍框整体包裹在拍芯外围。这一工艺能够有效增强击球力量并减少振动,从而打造出力量更强、震动更小的球拍,帮助球员获得更出色的场上表现与舒适手感。










其他
04-16 周四










