亚马逊要涨价了,即将迎来最严跨境审查,这就是本周的跨境新闻
导言
亚马逊prime day落下帷幕,贝索斯成了世界二富,据悉美国将对进口商进行严格审查。
亚马逊prime day落幕,echo设备成最大赢家

36氪消息:亚马逊在美东时间周三早上宣布,今年Prime会员日的销售额超过了黑色星期五和网络星期一的销售额总和,今年的销售额比去年同期增加了60%以上。亚马逊表示,今年Prime会员日活动中最受欢迎的商品是Echo Dot,该产品在30个小时的会员日活动期间卖出了数千万台,比去年同期增加50%以上。
亚马逊股票周三早盘上涨了9美元,突破1000美元大关。亚马逊表示,今年的Prime会员日是亚马逊设备在美国和全世界销量最高的一次促销活动,这次促销活动为Echo、Fire平板电脑和Kindle设备带来了创纪录的销售额。
贝索斯成了世界第二富
美国海关将对电商进行调查,亚马逊将严查产品认证

美国海关将开始对所有电商产品的进口商进行调查,追溯5年以内从事电商进口的记录、核实所有进口申报有无虚假、低报价格以及不法的偷税漏税问题。
凡是进口的关税税率必须以最终报关时海关判定的税率以及真实的在美销售的价格申报,否则进口商及相关公司将被十倍以上的罚款,严重的将会承担法律责任。
跨境电商3.0时代:合法合规成为重要课题
亚马逊将提高多渠道订单的FBA费用

雨果网消息:从2017年8月30日开始,亚马逊将提高一些FBA物流服务的费用,卖家对于这个费用变化似乎存在比较大的意见。
卖家在使用亚马逊FBA(Fulfillment By Amazon)服务时会有不同的利率,这具体需要取决于产品是通过亚马逊平台售出还是通过另一渠道(称为多渠道订单MCF——Multi-Channel Fulfillment)售出的。根据亚马逊发送给卖家的信显示,亚马逊将要增加后者的费用。
羊毛出在羊身上
浔兴股份逾10亿收购价之链65%股权

雨果网消息:7月9日,浔兴股份(002098.SZ)发布《重大资产购买报告书(草案)》,浔兴股份将以现金方式收购新三板挂牌公司深圳价之链跨境电商股份有限公司(下称价之链)65%的股份,收购总价为10.14亿元。这标志着,又一家新三板跨境电商企业将被A股上市公司并购。
价之链是第一家定位于做行业生态服务平台的跨境电商企业,通过收购和新设公司的形式,价之链形成了”自营电商+电商生态服务+软件“的立体布局。
本次交易完成后,双方将通过在业务、产品品类、品牌、资金、管理等发挥协同效应,实现共同发展。
价之链就是买买买,然后被买
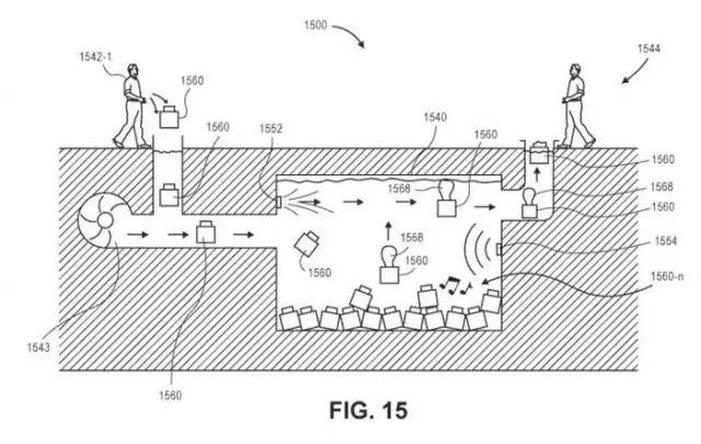
亚马逊又发黑科技,水下仓库

亚马逊提出飞行仓库这一想法后,没有停下创新的脚步,又为水下仓库申请专利。该仓库淹没在水下,通过声波振动将物品“召唤”出水面。
今年早期在美国提交的专利细节已于本周公布。由于网购的需求日益增加,亚马逊打算利用湖泊、水库和专门建造的游泳池作为订单处理中心。
专利中还展示了处理水中货物的多种方法,比如用卡车或者降落伞把货物丢进水池。
此外,亚马逊无人机送货已有巨大进展。6月底发布的一项专利中,亚马逊描述了一个类似蜂巢的订单处理中心,无人机可以在那里起飞或降落。
黑科技我只服亚马逊

导言
亚马逊prime day落下帷幕,贝索斯成了世界二富,据悉美国将对进口商进行严格审查。
亚马逊prime day落幕,echo设备成最大赢家

36氪消息:亚马逊在美东时间周三早上宣布,今年Prime会员日的销售额超过了黑色星期五和网络星期一的销售额总和,今年的销售额比去年同期增加了60%以上。亚马逊表示,今年Prime会员日活动中最受欢迎的商品是Echo Dot,该产品在30个小时的会员日活动期间卖出了数千万台,比去年同期增加50%以上。
亚马逊股票周三早盘上涨了9美元,突破1000美元大关。亚马逊表示,今年的Prime会员日是亚马逊设备在美国和全世界销量最高的一次促销活动,这次促销活动为Echo、Fire平板电脑和Kindle设备带来了创纪录的销售额。
贝索斯成了世界第二富
美国海关将对电商进行调查,亚马逊将严查产品认证

美国海关将开始对所有电商产品的进口商进行调查,追溯5年以内从事电商进口的记录、核实所有进口申报有无虚假、低报价格以及不法的偷税漏税问题。
凡是进口的关税税率必须以最终报关时海关判定的税率以及真实的在美销售的价格申报,否则进口商及相关公司将被十倍以上的罚款,严重的将会承担法律责任。
跨境电商3.0时代:合法合规成为重要课题
亚马逊将提高多渠道订单的FBA费用

雨果网消息:从2017年8月30日开始,亚马逊将提高一些FBA物流服务的费用,卖家对于这个费用变化似乎存在比较大的意见。
卖家在使用亚马逊FBA(Fulfillment By Amazon)服务时会有不同的利率,这具体需要取决于产品是通过亚马逊平台售出还是通过另一渠道(称为多渠道订单MCF——Multi-Channel Fulfillment)售出的。根据亚马逊发送给卖家的信显示,亚马逊将要增加后者的费用。
羊毛出在羊身上
浔兴股份逾10亿收购价之链65%股权

雨果网消息:7月9日,浔兴股份(002098.SZ)发布《重大资产购买报告书(草案)》,浔兴股份将以现金方式收购新三板挂牌公司深圳价之链跨境电商股份有限公司(下称价之链)65%的股份,收购总价为10.14亿元。这标志着,又一家新三板跨境电商企业将被A股上市公司并购。
价之链是第一家定位于做行业生态服务平台的跨境电商企业,通过收购和新设公司的形式,价之链形成了”自营电商+电商生态服务+软件“的立体布局。
本次交易完成后,双方将通过在业务、产品品类、品牌、资金、管理等发挥协同效应,实现共同发展。
价之链就是买买买,然后被买
亚马逊又发黑科技,水下仓库

亚马逊提出飞行仓库这一想法后,没有停下创新的脚步,又为水下仓库申请专利。该仓库淹没在水下,通过声波振动将物品“召唤”出水面。
今年早期在美国提交的专利细节已于本周公布。由于网购的需求日益增加,亚马逊打算利用湖泊、水库和专门建造的游泳池作为订单处理中心。
专利中还展示了处理水中货物的多种方法,比如用卡车或者降落伞把货物丢进水池。
此外,亚马逊无人机送货已有巨大进展。6月底发布的一项专利中,亚马逊描述了一个类似蜂巢的订单处理中心,无人机可以在那里起飞或降落。
黑科技我只服亚马逊




福建
12-12 周五











