Item 1 of 1
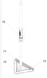
【美国外观专利侵权预警】今日品类:拖把/Mop
2026-01-06 09:30
平台新政&爆款打造及差异化布局攻略揭秘,手把手教你进军巴西>>>










在这里需要提醒同样销售类似产品的卖家,定期排查商品特征,警惕侵权风险!注意规避侵权特征,及时下架侵权产品
TikTok、Facebook、谷歌、Twitter广告服务,0门槛抢占全球流量!
极速开户+优化投流+风险保障+效果跟踪,仅需4步,轻松撬动亿万海外流量,让品牌销量翻倍增长!
已成功开通5000+账户

最新热门报告作者标签
30年印度电商将达2500亿美元,四大原因助力其增长AMZ123获悉,近日,德勤与谷歌联合发布《2500亿美元的商业前沿》报告,基于对印度电商市场的交易数据、消费者调研及行业专家访谈,深度解析了当地网购行为变迁、市场格局特征及未来增长动力。核心发现如下:一、电商市场概况(一)整体市场规模2025年,印度电商市场已扩张至900亿美元。尽管线下零售仍占据近90%的市场份额,但电商正在从根本上改变印度消费者发现和购买的方式。从2019年到2025年,约1.1亿新在线购物者的加入,推动了市场的持续扩张。展望2030年,印度在线零售市场预计将增长3倍,达到2500亿美元。届时,人均电商支出将从目前的350-380美元增长至625-650美元,几乎翻倍。
电商平台高度集中与利润承压,26年卖家经营策略大变AMZ123获悉,近日,Marketplace Pulse发布了《2026年电商卖家销售现状报告》。从卖家运营现状、利润情况、经营模式、物流策略、AI应用以及未来挑战等多个维度,系统分析了全球181位卖家(合计超过20亿美元年收入)的经营状态与结构性变化。报告揭示了一个核心趋势:电商卖家正处于利润持续压缩与电商平台高度集中的阶段。在这种情况下,卖家的经营重点发生了变化,从过去追求规模增长,转向更加注重风险控制和优化业务结构。一、卖家运营现状数据显示,当前电商卖家平均运营2.83个平台,覆盖80个不同平台。其中,亚马逊以92.8%的占比处于绝对主导地位,几乎成为所有卖家的必选平台。
Q1印度电商市场同比增长25%,消费信心回暖AMZ123获悉,近日,Flipkart与贝恩公司联合发布的《2026印度线上消费报告》显示,2026年第一季度,印度电商市场同比增长25%。报告指出,这一增长主要受宏观经济改善和政策支持带动,消费者信心回升成为关键推动因素。从全年趋势来看,印度电商市场在2025年已呈现恢复态势。报告显示,2025年电商销售额同比增长19%至21%,其中下半年增速达到22%至24%,约为上半年同比增速的1.5倍。与此同时,印度电商GMV(商品交易总额)在过去五年实现翻倍增长,2025年达到650亿至660亿美元规模。消费端结构也在发生变化。报告指出,新增用户主要来自Z世代、二线及以下城市以及中等收入家庭。
3月波兰电商平台排名:Temu用户数第一AMZ123获悉,近日,根据最新的Mediapanel数据,2026年3月波兰电商市场的用户竞争格局出现明显变化,Temu以约1910万用户位居第一,超过了波兰本土电商平台Allegro的1850万用户。除Temu和Allegro外,进入前十的电商平台还包括Media Expert(1320万用户)、Empik(960万用户)、AliExpress(960万用户)、Erli(870万用户)、Shein(830万用户)、Rossmann(780万用户)、亚马逊(770万用户)以及Vinted(695万用户)。
国产AI伴侣玩具,在TikTok拿下百万GMV根据央视新闻3月报道,在“世界超市”义乌,搭载人工智能技术的玩具正成为外贸出口的新爆款。这些“会说话”的玩具在欧美、东南亚等市场量价齐升,成为拉动义乌出口增长的新引擎。官方的数据披露为AI玩具撕下了“伪需求”的刻板印象,同时在TikTok美区,与之相关的市场需求也得到了更为直接的数据印证。在TikTok美区,中国品牌「Unee」用旗下炙手可热的AI毛绒伴侣玩具,书写着有关AI商业落地的又一叙事。01近千元的玩具,成TikTok爆款TT123观察到,近7天TikTok美区娃娃与毛绒玩具类目的销售额TOP4,由中国品牌「Unee」旗下的AI毛绒伴侣玩具摘下,数据显示,一周以来这款产品共卖出2.89万美元。
AMZ123会员专享丨4月第2周资讯汇总亚马逊亚马逊与USPS达成新的包裹配送协议,双方长期合作关系得以延续。根据知情人士透露,在新协议下,USPS将保留约80%的亚马逊包裹配送业务,规模超过每年10亿件,这一结果明显好于此前市场预期的削减三分之二甚至更多业务量的情况。瑞银全球研究部发布最新报告显示,亚马逊印度计划在10至15个主要城市逐步关停4至24小时送达的生鲜配送服务Amazon Fresh,转而全力押注快速电商Amazon Now。据The Information报道,亚马逊在2026年Prime Day前对卖家价格规则进行调整,卖家必须确保所设商品标价与最近在亚马逊或其他品牌的实际购买价格相符,以防止出现误导性促销。
TikTok Shop马来斋月销售额同比增长超130%AMZ123获悉,近日,根据TikTok Shop发布的数据,2026年斋月和开斋节期间,TikTok Shop实现显著增长。数据显示,今年节日期间TikTok Shop销售额同比增长超过130%,成为马来西亚本地电商市场中增长较快的平台之一。此次增长与TikTok Shop推出的扶持政策密切相关。TikTok Shop表示,其通过#JomLokal Booster激励计划投入了2000万林吉特(RM20 million),为卖家提供支持,同时持续加大在购物安全方面的投入。这一计划自2025年9月推出以来,已为超过5000家中小微企业提供佣金减免支持,并组织了14场培训工作坊,用于提升新卖家的运营能力。
宠物电商平台Chewy收购兽医平台Modern AnimalAMZ123获悉,近日,美国宠物电商平台Chewy宣布,已签署最终协议收购兽医服务平台Modern Animal。此次收购被视为Chewy向“全链路宠物医疗生态系统”转型的重要一步,旨在将医疗服务、电商和相关服务整合在宠物生命周期的各个环节中。根据披露,Modern Animal目前拥有29家自营诊所,提供7×24小时虚拟医疗服务,并采用高留存率的会员制模式。通过此次交易,Chewy预计将新增超过1.25亿美元的年化收入规模,同时将其线下宠物医疗网络规模从原有的18家门店快速扩大至47家,实现线下服务能力的即时扩张。
亚马逊否认五月将裁员1.4万人的传闻AMZ123获悉,此前有报道称,亚马逊可能在2026年5月启动新一轮裁员,涉及规模高达1.4万个岗位。结合今年早些时候已完成的约1.6万人的裁撤动作,若消息属实,亚马逊一年内裁员数量将逼近3万人。面对这一说法,近日,亚马逊方面予以强烈否认,直言相关报道“不实且毫无事实依据”。不过,据多方信息显示,亚马逊内部确实正在进行一场深度重组。调整的核心方向,既包括向人工智能领域的明显倾斜,也涉及成本管控与组织架构的精简化。从波及范围看,亚马逊云科技(AWS)、零售业务板块以及人力资源团队均可能牵涉其中。尤其需要留意的是,白领岗位受到的冲击预计最为突出。
美伊局势又变!霍尔木兹海峡已再次关闭4月8日,伊朗表示接受巴方提出的停火提议。尽管停火期限仅有两周,但在消息传出后,市场情绪一度明显回暖。国际油价快速回落,全球股市普遍反弹,外界普遍将其视作中东局势阶段性降温的信号。然而仅仅一天过去,事情就急转直下。当地时间4月8日,伊朗方面公开表示,作为谈判基础的“十点计划”中,已有三项关键条款遭到违反。按照伊方说法,这三项问题分别涉及黎巴嫩停火未能落实、伊朗领空再遭侵犯,以及伊朗铀浓缩权利被否认。伊朗议长卡利巴夫随后表态称,在这样的情况下,无论是停火还是谈判,都已失去意义。与此同时,美伊双方对这份停火安排本身的理解也明显存在分歧,包括停火范围、霍尔木兹海峡通行权,以及伊朗铀浓缩问题,双方说法并不一致。
太突然了!4月15日亚马逊新的广告结算方式生效!亚马逊多项政策调整!
月销百万美金!亚马逊10款热销家居产品解析AMZ123获悉,近日,亚马逊各类产品搜索量增长显著,以下10款产品在亚马逊上销量表现突出,深受消费者欢迎。1. 净水器滤芯预计销售额:489.8万美元/月销量:94,000+星级评分:4.5好评数量:40,108+图源:亚马逊产品描述:该滤芯采用多重过滤技术,可有效去除水中的铅、氯、微塑料及部分药物残留等50多种杂质,同时符合相关饮用水安全标准。产品适配多款冰箱型号,安装过程无需工具或断水操作,使用便捷。品牌介绍:GE Appliances总部位于美国,隶属于海尔集团。品牌起源可追溯至20世纪初,主营冰箱、洗衣机、厨房电器及水处理系统等家电产品,长期专注于智能家居及高品质生活电器的研发与制造。
男性美容月支出达90美元,Z世代撑起美妆电商新增量AMZ123获悉,近日,据外媒报道,Z世代男性正在改写美容护肤市场的消费版图。根据Just for Men与Talker Research联合开展的调查显示,年龄在25岁以上的美国男性中,68%的Z世代与千禧一代比五年前更在意外表形象,超过半数的受访者承认在个人美容方面投入的时间较五年前多了56%,相关花费也同步增长了51%。值得注意的是,男性在个人护理领域的月度开支已悄然超越女性。Bread Financial与Ulta Beauty联合发布的研究指出,男性每月在这一领域的平均消费为90美元,而女性则为80美元。推动这一增长的核心动力正来自Z世代。这场消费变革的背后,是决策路径与购物习惯的根本性迁移。
因错失消费红利,美国酒类电商亏损超400亿美元AMZ123获悉,近日,DRINKS最新调查指出,价值2850亿美元的美国酒类电商市场未能抓住社交媒体种草与人工智能推荐带来的消费转化红利。据估算,由此造成的潜在亏损高达400亿美元。调查覆盖了2025年3月与2026年1月两个时段,结果显示,消费者找到心仪酒款越来越依赖线上渠道,但真正想下单时却屡屡碰壁。数据显示,在21至34岁的年轻群体中,约有63%的人承认自己曾因刷到社交媒体内容而下单买酒,而仅将社交媒体视作发现渠道的比例则在49%至55%之间浮动。可见,社交电商已经成为实实在在的购买驱动力。然而,发现之后的链路却并不顺畅。多达七成的年轻人表示,他们曾在网上看中了某个酒类品牌,但最终因种种阻碍未能成功购入。
亚马逊会员日促销新规下,这类产品有望爆单!2026年上半年,亚马逊最后也是最重要的流量风口已经来了。4月地球日流量专享、6月PrimeDay提前来袭......2026年亚马逊上半年两大重要大促已明确节点,各种变化依旧打了卖家一个措手不及。随着流量越来越难以捉摸,广告越来越贵,在成本压力持续增大的情况下,也催生出一批摆脱内卷,领跑赛道的跨境卖家。他们凭借一个小小的绿色标签,在大促中实现了更低成本、更高产出的“躺赢”。每年4月22日世界地球日,亚马逊都会为气候友好认证(CPF)产品开辟专属流量入口——地球日专项BD、环保商品活动页、搜索推荐加权。2026年,这一扶持力度只增不减。
TikTok Shop下一站:韩国,能不能再爆一次?最近跨境圈有个消息热度不低:TikTok正在筹备把旗下电商业务TikTok Shop带入韩国市场,时间点大致锁定在2026年第三季度。
《全球产业深度研究之清真经济专题》PDF下载印度尼西亚是全球最大清真消费市场,规模达到2650亿美元;马来西亚是全球认证标准输出中心;沙特阿拉伯是GCC(海湾阿拉伯国家合作委员会)具有战略价值的清真枢纽。这三个国家形成了清真消费三大市场占比60%。
《TikTok Shop2026欧美运动户外类目报告》PDF下载欧美市场总GMV为15.11亿,整体结构呈现极度集中化的特征,其中美国站点的GMV高达12.32亿,占据了欧美市场的81.52%,月均GMV超过1.02亿。英国站点以 2.40亿的GMV和15.89%的份额位居第二。两大站点贡献了市场总GMV的97%以上。
《TikTok Shop2026东南亚运动户外类目报告》PDF下载作为东南亚各站点的支柱品类,运动户外凭借其深厚的消费群体基础与高社交属性,相比其他品类规模优势显著,并在近12个月继续保持强劲增长。近一年内,东南亚地区该品类总GMV逼近百亿美元,其中泰国站表现尤为突出,GMV突破4.7亿美元;马印尼站紧随其后,GMV近4亿美元。
《2026中国新能源智能汽车产业链出海研究报告》PDF下载海外主要汽车市场的国家/地区政策出现分化:以德国、意大利为代表的欧洲主要汽车生产国,携其本土汽车产业巨头,共同构成了推动欧盟调整“禁燃令”的主导力量。从本质上看,此次政策调整的进程,折射出欧盟内部不同国家与产业利益集团之间的复杂博弈。泰国、马来西亚和巴西现阶段开始偏好汽车产能的实际落地希望引入长期资本以支持当地的经济发展。
《2026中国电动微出行出海欧美市场研究报告》PDF下载动微出行的产品开发逻辑向车规级演进:行业技术架构正加速向机械一电驱一智控体系演进,提升产品研发、安全标准与供应链体系。未来竞争的核心不再是单一的续航或功率参数,而是平台化能力、智能化深度与全生命周期服务体系的构建。
《TikTok Shop突破末次触达归因(LTA)ROAS分析报告》PDF下载在数字化浪潮中,广告主正面临有效衡量广告支出回报率(ROAS)的挑战。传统未次触达归因(LTA)模型因数据收集难度和归因偏差问题已难以满足广告主的需求,因此,探索新的方法来解决这些问题显得尤为重要。
《未来电商报告:品牌独立站五步升级锁定未来确定性增长》PDF下载调研显示,出海商家针对家居、时尚及消费电子等品类布局比例均超过30%。独立站凭借其高度品牌化、个性化、场景化及功能性等优势,精准契合上述品类对品牌调性、场景交互及沉浸式体验的核心诉求,正成为商家黑五大促期提升销量、构建品牌竞争壁垒的关键载体。
《TikTok Shop达人真实种草力报告》PDF下载达人正在将文化内容、社群互动与商业转化深度融合,形成一个高度协同的内容商业生态,其价值早已不再局限于内容带来的直接收入。从更广义的商业视角来看,达人价值的核心在于真实影响力-即其内容对商品与服务产生影响并促成转化所形成的整体商业价值,这一能力正构成达人在内容电商体系中的带货价值基础。

【美国外观专利侵权预警】今日品类:拖把/Mop
小牛达人谈跨境防侵权
2026-01-06 09:30
919










在这里需要提醒同样销售类似产品的卖家,定期排查商品特征,警惕侵权风险!注意规避侵权特征,及时下架侵权产品







其他
04-16 周四










