2月法院最新立案总结!涉及5个品牌维权!
本周,也就是从2.1号开始到今天6号截止,美国法院公开可见的跨境维权新立案不多,主要有如下几个新立案,都是已经维权过的老品牌,另有一个AMS律所发起的隐匿案件,目前维权品牌未知:

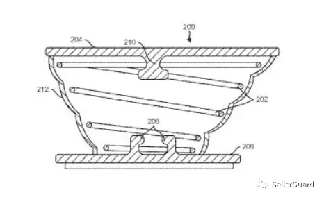
PopSockets 手机支架
案件号:21-cv-672
维权类型:商标,产品设计专利
注册商标:Pop、Popclip、PopSockets,
产品设计专利:


PEANUTS 花生漫画
案件号:21-cv-632;21-cv-623
维权类型:商标,卡通形象版权
注册商标:Snoopy,Peanuts,Charlie Brown 等;
卡通形象版权:

该案为GBC代理的一个大品牌,跨境各平台侵权产品非常多,GBC会持续为该品牌维权发案。
Nike 耐克
案件号:21-cv-615
维权类型:商标
注册商标:Nike,FLYKNIT,DRI-FIT,AIR MAX,JUST DO IT 等

Lilly Pulitzer 印花风格
案件号:21-cv-589
维权类型:商标
注册商标:Lilly Pulitzer


Adidas 阿迪达斯
案件号:21-cv-60242
维权类型:商标
注册商标:文字商标 Adidas 及下列图案商标




以上就是今天的所有内容,更多最新消息,我将进一步跟踪。

本周,也就是从2.1号开始到今天6号截止,美国法院公开可见的跨境维权新立案不多,主要有如下几个新立案,都是已经维权过的老品牌,另有一个AMS律所发起的隐匿案件,目前维权品牌未知:

PopSockets 手机支架
案件号:21-cv-672
维权类型:商标,产品设计专利
注册商标:Pop、Popclip、PopSockets,
产品设计专利:


PEANUTS 花生漫画
案件号:21-cv-632;21-cv-623
维权类型:商标,卡通形象版权
注册商标:Snoopy,Peanuts,Charlie Brown 等;
卡通形象版权:

该案为GBC代理的一个大品牌,跨境各平台侵权产品非常多,GBC会持续为该品牌维权发案。
Nike 耐克
案件号:21-cv-615
维权类型:商标
注册商标:Nike,FLYKNIT,DRI-FIT,AIR MAX,JUST DO IT 等

Lilly Pulitzer 印花风格
案件号:21-cv-589
维权类型:商标
注册商标:Lilly Pulitzer


Adidas 阿迪达斯
案件号:21-cv-60242
维权类型:商标
注册商标:文字商标 Adidas 及下列图案商标




以上就是今天的所有内容,更多最新消息,我将进一步跟踪。




福建
12-12 周五











