紧急:21款亚马逊热卖产品已下证美国外观专利!
平台新政&爆款打造及差异化布局攻略揭秘,手把手教你进军巴西>>>
2月10日,美国专利局公布了一批正式生效的外观专利,为大家整理了其中21款。关注到这些产品里面不少是亚马逊,TEMU,Ebay,速卖通,沃尔玛等跨境电商平台热卖品。如有在美国市场刊登售卖,各位跨境卖家需警惕后续可能发生的站内专利权利人投诉甚至钓鱼律所美法院立案起诉-TRO的风险。
Feeder 鸟喂食器

专利编号:Patent US D1112973
申请日期:2024/09/30
下证日期:2026/02/10
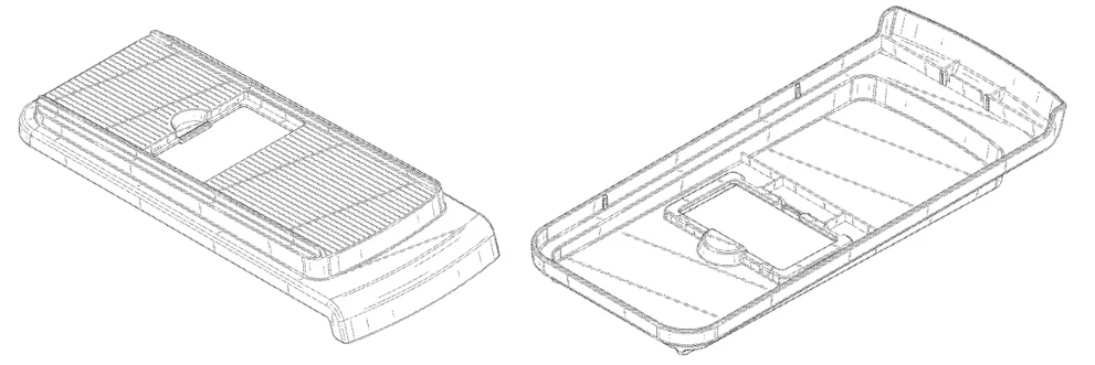
Foldable storage rack 可折叠储物架

下证日期:2026/02/10
Blender straw 搅拌吸管

专利编号:Patent US D1111624
申请日期:2022/06/21
下证日期:2026/02/10
Crib 婴儿床

专利编号:Patent US D1110992
申请日期:2024/07/12
下证日期:2026/02/10
Wireless power bank 无线充电宝

下证日期:2026/02/10

专利编号:Patent US D1112167
申请日期:2024/08/08
下证日期:2026/02/10
Spice rack 香料架

专利编号:Patent US D1111683
申请日期:2023/08/22
下证日期:2026/02/10
Multifunctional vegetable chopper and slicer set 多功能蔬菜切片机

下证日期:2026/02/10
Dumbbell rack 哑铃架

专利编号:Patent US D1111544
申请日期:2025/01/14
下证日期:2026/02/10
Floor mat hanger 浴室挂架

专利编号:Patent US D1111533
申请日期:2024/03/04
下证日期:2026/02/10
Cleaning brush 清洁刷

下证日期:2026/02/10
Mirror holder 镜架

专利编号:Patent US D1111479
申请日期:2025/01/18
下证日期:2026/02/10
Combined phone holder and card wallet 组合式手机支架和卡钱包

专利编号:Patent US D1111437
申请日期:2025/02/27
下证日期:2026/02/10
Hair clip 发夹

下证日期:2026/02/10
Hand dryer 干手器

专利编号:Patent US D1112941
申请日期:2025/01/02
下证日期:2026/02/10
Camping lamp 野营灯

专利编号:Patent US D1112903
申请日期:2023/12/04
下证日期:2026/02/10
Phone holder 手机支架

下证日期:2026/02/10
Assistive cup 辅助杯

专利编号:Patent US D1111673
申请日期:2024/12/10
下证日期:2026/02/10

专利编号:Patent US D1112160
申请日期:2024/08/16
下证日期:2026/02/10
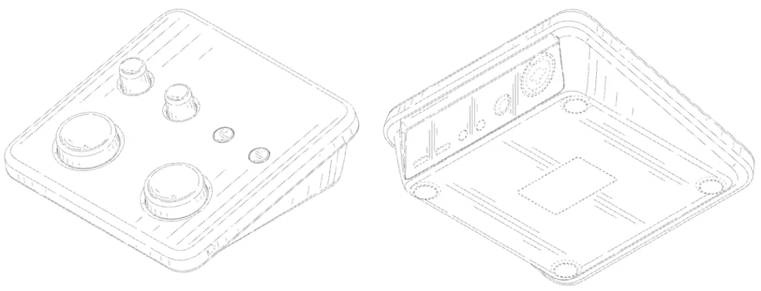
Portable speaker 便携式音箱

下证日期:2026/02/10
Hair brush 理发刷

专利编号:Patent US D1111470
申请日期:2024/04/19
下证日期:2026/02/10
以上产品请注意查利文件,如有雷同产品在售,请警惕接下来被投诉甚至被钓鱼律所TRO的潜在风险。


2月10日,美国专利局公布了一批正式生效的外观专利,为大家整理了其中21款。关注到这些产品里面不少是亚马逊,TEMU,Ebay,速卖通,沃尔玛等跨境电商平台热卖品。如有在美国市场刊登售卖,各位跨境卖家需警惕后续可能发生的站内专利权利人投诉甚至钓鱼律所美法院立案起诉-TRO的风险。
Feeder 鸟喂食器

专利编号:Patent US D1112973
申请日期:2024/09/30
下证日期:2026/02/10
Foldable storage rack 可折叠储物架

下证日期:2026/02/10
Blender straw 搅拌吸管

专利编号:Patent US D1111624
申请日期:2022/06/21
下证日期:2026/02/10
Crib 婴儿床

专利编号:Patent US D1110992
申请日期:2024/07/12
下证日期:2026/02/10
Wireless power bank 无线充电宝

下证日期:2026/02/10

专利编号:Patent US D1112167
申请日期:2024/08/08
下证日期:2026/02/10
Spice rack 香料架

专利编号:Patent US D1111683
申请日期:2023/08/22
下证日期:2026/02/10
Multifunctional vegetable chopper and slicer set 多功能蔬菜切片机

下证日期:2026/02/10
Dumbbell rack 哑铃架

专利编号:Patent US D1111544
申请日期:2025/01/14
下证日期:2026/02/10
Floor mat hanger 浴室挂架

专利编号:Patent US D1111533
申请日期:2024/03/04
下证日期:2026/02/10
Cleaning brush 清洁刷

下证日期:2026/02/10
Mirror holder 镜架

专利编号:Patent US D1111479
申请日期:2025/01/18
下证日期:2026/02/10
Combined phone holder and card wallet 组合式手机支架和卡钱包

专利编号:Patent US D1111437
申请日期:2025/02/27
下证日期:2026/02/10
Hair clip 发夹

下证日期:2026/02/10
Hand dryer 干手器

专利编号:Patent US D1112941
申请日期:2025/01/02
下证日期:2026/02/10
Camping lamp 野营灯

专利编号:Patent US D1112903
申请日期:2023/12/04
下证日期:2026/02/10
Phone holder 手机支架

下证日期:2026/02/10
Assistive cup 辅助杯

专利编号:Patent US D1111673
申请日期:2024/12/10
下证日期:2026/02/10

专利编号:Patent US D1112160
申请日期:2024/08/16
下证日期:2026/02/10
Portable speaker 便携式音箱

下证日期:2026/02/10
Hair brush 理发刷

专利编号:Patent US D1111470
申请日期:2024/04/19
下证日期:2026/02/10
以上产品请注意查利文件,如有雷同产品在售,请警惕接下来被投诉甚至被钓鱼律所TRO的潜在风险。







其他
04-16 周四










