欧元跨境支付交易量首次超过美元,成全球第一大活跃货币;亚马逊法国站“黑五”大促推迟到12月4日
“亚马逊英国VAT注册条件:在英国有库存;在英国无库存,从其他欧盟国家远距离销售到本国的一年销售额超出该国远距离销售阈值70000英镑/年。“
——《每天一个跨境知识》

这是小帮第315篇跨境晚报

美国加州实施宵禁 遏制新冠疫情蔓延
美国加利福尼亚州州长加文·纽瑟姆发布声明称,将在这个美国人口第一大州的绝大多数地区实行“宵禁令”,以遏制新冠疫情快速蔓延。该州所有处于“紫色”防疫等级的地区都将从本月21日至12月21日实行“宵禁令”,这期间每天晚上10时至次日凌晨5时所有非必要工作、活动和聚集都将被禁止。据悉,“紫色”等级是加州目前公布的四级防疫层级中的最高等级。加州58个县中的41个目前都处于“紫色”等级,人口占总加州人口的94%。
SWIFT:欧元跨境支付交易量超过美元
环球银行金融电信协会(SWIFT)发布数据显示,9月份,在基于金额统计的全球支付货币排名中,欧元自2013年以来首超美元,成为全球第一大活跃货币;人民币全球支付份额有所下降,降至全球第六大活跃货币。
数据显示,9月份,SWIFT的现金转账中约有37.82%是用欧元进行的,是2013年2月以来的最大比例,比2019年底增长了6个多百分点。而美元在交易中的比重为37.64%,较2019年12月下降了约4.6个百分点。英国、日本和加拿大货币合计占10月份交易总量的12.25%。

亚马逊将法国“黑色星期五”促销活动推迟一周
据法国媒体报道,亚马逊法国总经理弗雷德里克·杜瓦尔称,如果将“黑色星期五”的日期推迟到12月1日,可以允许企业和实体店重新开业的话,那么亚马逊就将其推迟。法国财政部此前表示,法国的超市和网上零售商对将“黑色星期五”购物活动推迟一周的想法持开放态度。传统上,该活动一般是在每年感恩节后的第一个星期五举行。也就是11月27日,但最终将在12月4日进行。
Shopee和Lazada涉嫌在菲律宾销售假冒产品
周三,菲律宾马尼拉调查机构突击检查并关闭了位于Binondo的两个仓库,原因是销售假冒美容和化妆品,并且在没有营业执照的情况下经营。调查发现,在这两个仓库发现的产品是通过Shopee和Lazada销售的,销往全国各地。在仓库发现了洗发水、乳液、沐浴露、沐浴露、以及其他印有联合利华、宝洁、维多利亚的秘密、Calvin Klein、宝格丽品牌的假冒产品,以及强生公司的婴儿润肤露、Cetaphil、沐浴露等产品。
对此,菲律宾马尼拉市长呼吁Shopee和Lazada平台做好尽职调查,审查其平台的卖家是否有营业执照。如果两家平台没有做出合理的解释,将可能被指控承担一定的责任。
1357亿成交,993万用户,韩国跨境电商平台表现亮眼
进入旺季,各大电商平台陆续晒出战报、业绩报告,韩国电商平台也上演弯道超车,成绩惊艳!据韩国电商巨头11街近日公布Q3财报显示,11街GMV达1357亿韩元创新纪录,整个三季度的销售额和交易额都呈增长趋势。不仅11街,韩国各大主流电商平台也正在加速渗透。据韩国统计局发布的数据,三季度通过移动设备进行的交易规模比去年同期增长21.2%。其中Coupang使用人数接近1700万;11街以993万紧随其后,然后是Gmarket(817万)、We Make Price(760万)、Auction(561.3万)。

美国零售商Target第三季度财报:数字可比销售额增长155%
美国老牌零售商Target发布第三季度财报,总营收为226.32亿美元,同比增长21.3%。同时,数字可比销售额增长155%,占Target可比销售额增长的10.9个百分点。在交货服务方面,Target第三季度网上订单、路边取件的当日交货服务同比增长2倍以上,实现销售额增加超10亿美元。其中,Drive Up服务增长近7亿美元,同比去年增长5倍以上。Drive Up服务是指顾客在专门的APP下单后,商店员工就会将其购买的物品送到车上。Target表示,今年前三季度的业绩中,数字销售额增长近65亿美元,门店销售额增长超35亿美元。
速卖通发布菜鸟官方海外仓头程补贴权益公告
11月19日,速卖通平台发布关于菜鸟官方海外仓头程补贴权益通知,为了更好的满足商家朋友海外备货的需求,菜鸟对官方海外仓在存储能力、人力和设备的投入等方面都进行了升级。同时,基于菜鸟一贯以来“客户第一”的理念,菜鸟进一步加大投入,联合平台为使用菜鸟官方海外仓的商家提供入库头程物流费用的补贴,帮助商家降低成本,给予消费者更多物美价廉的商品。
阿里国际站将再投入10亿元启动“春雷计划2.0”
阿里国际站将再投入10亿元启动“春雷计划2.0”,通过全程成长护航服务、线上展会等形式,帮助传统企业和创业者打开外贸渠道。在此前的春雷计划中,4月至9月间阿里国际站实收交易额同比增长110%,新卖家数同比增长54%,活跃买家数同比增长84%。此次启动“春雷计划2.0”,阿里国际站主要针对国际站新入驻商家的不同属性和转型痛点,提供更加深度、个性化的入驻权益扶持、线上线下成长服务体系等。

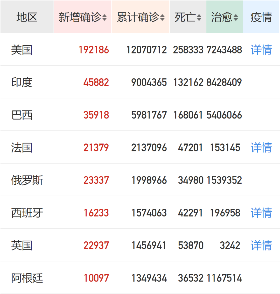
截至今天,全球新冠肺炎累计确诊病例突破5720万例,达到57209599例,累计死亡病例超过136万例,达到1364821例。美国新冠肺炎累计确诊病例全球最多,突破1207万例,达到12070712例,累计死亡病例超25万例,达到258333例。


“亚马逊英国VAT注册条件:在英国有库存;在英国无库存,从其他欧盟国家远距离销售到本国的一年销售额超出该国远距离销售阈值70000英镑/年。“
——《每天一个跨境知识》

这是小帮第315篇跨境晚报

美国加州实施宵禁 遏制新冠疫情蔓延
美国加利福尼亚州州长加文·纽瑟姆发布声明称,将在这个美国人口第一大州的绝大多数地区实行“宵禁令”,以遏制新冠疫情快速蔓延。该州所有处于“紫色”防疫等级的地区都将从本月21日至12月21日实行“宵禁令”,这期间每天晚上10时至次日凌晨5时所有非必要工作、活动和聚集都将被禁止。据悉,“紫色”等级是加州目前公布的四级防疫层级中的最高等级。加州58个县中的41个目前都处于“紫色”等级,人口占总加州人口的94%。
SWIFT:欧元跨境支付交易量超过美元
环球银行金融电信协会(SWIFT)发布数据显示,9月份,在基于金额统计的全球支付货币排名中,欧元自2013年以来首超美元,成为全球第一大活跃货币;人民币全球支付份额有所下降,降至全球第六大活跃货币。
数据显示,9月份,SWIFT的现金转账中约有37.82%是用欧元进行的,是2013年2月以来的最大比例,比2019年底增长了6个多百分点。而美元在交易中的比重为37.64%,较2019年12月下降了约4.6个百分点。英国、日本和加拿大货币合计占10月份交易总量的12.25%。

亚马逊将法国“黑色星期五”促销活动推迟一周
据法国媒体报道,亚马逊法国总经理弗雷德里克·杜瓦尔称,如果将“黑色星期五”的日期推迟到12月1日,可以允许企业和实体店重新开业的话,那么亚马逊就将其推迟。法国财政部此前表示,法国的超市和网上零售商对将“黑色星期五”购物活动推迟一周的想法持开放态度。传统上,该活动一般是在每年感恩节后的第一个星期五举行。也就是11月27日,但最终将在12月4日进行。
Shopee和Lazada涉嫌在菲律宾销售假冒产品
周三,菲律宾马尼拉调查机构突击检查并关闭了位于Binondo的两个仓库,原因是销售假冒美容和化妆品,并且在没有营业执照的情况下经营。调查发现,在这两个仓库发现的产品是通过Shopee和Lazada销售的,销往全国各地。在仓库发现了洗发水、乳液、沐浴露、沐浴露、以及其他印有联合利华、宝洁、维多利亚的秘密、Calvin Klein、宝格丽品牌的假冒产品,以及强生公司的婴儿润肤露、Cetaphil、沐浴露等产品。
对此,菲律宾马尼拉市长呼吁Shopee和Lazada平台做好尽职调查,审查其平台的卖家是否有营业执照。如果两家平台没有做出合理的解释,将可能被指控承担一定的责任。
1357亿成交,993万用户,韩国跨境电商平台表现亮眼
进入旺季,各大电商平台陆续晒出战报、业绩报告,韩国电商平台也上演弯道超车,成绩惊艳!据韩国电商巨头11街近日公布Q3财报显示,11街GMV达1357亿韩元创新纪录,整个三季度的销售额和交易额都呈增长趋势。不仅11街,韩国各大主流电商平台也正在加速渗透。据韩国统计局发布的数据,三季度通过移动设备进行的交易规模比去年同期增长21.2%。其中Coupang使用人数接近1700万;11街以993万紧随其后,然后是Gmarket(817万)、We Make Price(760万)、Auction(561.3万)。

美国零售商Target第三季度财报:数字可比销售额增长155%
美国老牌零售商Target发布第三季度财报,总营收为226.32亿美元,同比增长21.3%。同时,数字可比销售额增长155%,占Target可比销售额增长的10.9个百分点。在交货服务方面,Target第三季度网上订单、路边取件的当日交货服务同比增长2倍以上,实现销售额增加超10亿美元。其中,Drive Up服务增长近7亿美元,同比去年增长5倍以上。Drive Up服务是指顾客在专门的APP下单后,商店员工就会将其购买的物品送到车上。Target表示,今年前三季度的业绩中,数字销售额增长近65亿美元,门店销售额增长超35亿美元。
速卖通发布菜鸟官方海外仓头程补贴权益公告
11月19日,速卖通平台发布关于菜鸟官方海外仓头程补贴权益通知,为了更好的满足商家朋友海外备货的需求,菜鸟对官方海外仓在存储能力、人力和设备的投入等方面都进行了升级。同时,基于菜鸟一贯以来“客户第一”的理念,菜鸟进一步加大投入,联合平台为使用菜鸟官方海外仓的商家提供入库头程物流费用的补贴,帮助商家降低成本,给予消费者更多物美价廉的商品。
阿里国际站将再投入10亿元启动“春雷计划2.0”
阿里国际站将再投入10亿元启动“春雷计划2.0”,通过全程成长护航服务、线上展会等形式,帮助传统企业和创业者打开外贸渠道。在此前的春雷计划中,4月至9月间阿里国际站实收交易额同比增长110%,新卖家数同比增长54%,活跃买家数同比增长84%。此次启动“春雷计划2.0”,阿里国际站主要针对国际站新入驻商家的不同属性和转型痛点,提供更加深度、个性化的入驻权益扶持、线上线下成长服务体系等。

截至今天,全球新冠肺炎累计确诊病例突破5720万例,达到57209599例,累计死亡病例超过136万例,达到1364821例。美国新冠肺炎累计确诊病例全球最多,突破1207万例,达到12070712例,累计死亡病例超25万例,达到258333例。





福建
12-12 周五











