上架即侵权?这一美国发明专利太“霸道”,2000+listing直面下架风险!
AI设计/3D打印/欧洲市场实战拆解,点击报名
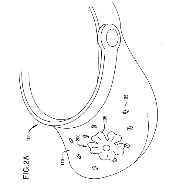
洞洞鞋凭借着透气、舒适、百搭等优势成为火爆全网的时尚单品,而能凸显个性、装点鞋面的装饰配件也大卖特卖,光是亚马逊美国站就有2000+相关listing,其中不少产品月销过百破千。

洞洞鞋装饰品在市场上颇受欢迎、销量可观,然而其背后潜藏的专利侵权风险却不容小觑!就拿洞洞鞋上的装饰灯来说,曾有相关产品多次陷入美国外观专利侵权诉讼纠纷,导致上百家店铺的资金被冻结。

比起洞洞鞋灯外观专利,洞洞鞋装饰品卖家更要留意美国发明专利侵权风险,该专利相当“霸道”,绝大部分洞洞鞋装饰产品都有侵权可能,务必警惕!
专利名称System and method for securing accessories to clothing(将配件固定在衣服上的系统和方法),专利号US7698836B2,2006年4月20日提交申请,2010年4月20日下证:

▶技术背景
本专利涉及一种用于将配件固定到鞋子和其他衣物上的系统和方法,特别是适用于具有可拉伸孔的鞋子。近年来,服装制造商开始制造一些由可拉伸材料制成的鞋类和腰带产品,例如泡沫材料。这些鞋子通常在鞋的上部包含膨胀孔(例如洞洞鞋)。
▶现有技术
传统的鞋类装饰面临的问题包括膨胀孔与使用者脚部的接触性以及鞋子在户外使用时,对配件耐用性的要求。此外,儿童和成人鞋模可能存在不同孔尺寸和材料厚度,这对设计出适合各种鞋型的配件造成困难。

▶本发明创新点
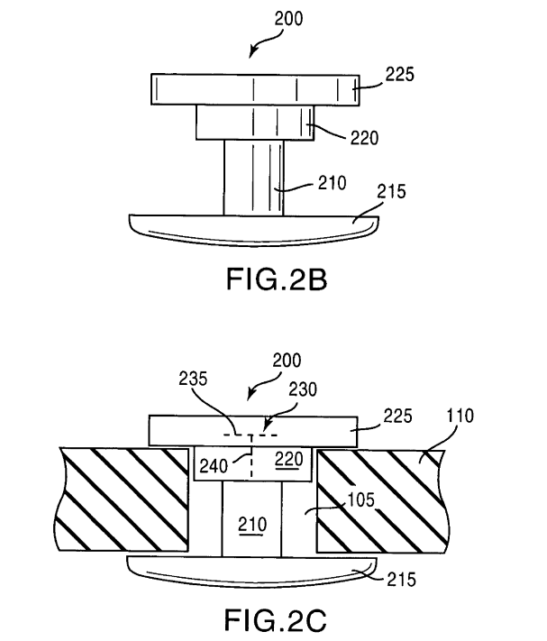
①轴和肩部设计:系统包括一个具有第一和第二端的轴,以及三个肩部。其中,第一肩部构造成可以插入鞋子的膨胀孔并与鞋的内表面接合,第二肩部构造成与鞋接合,第三肩部则包含装饰配件。

②多重适用性:配件系统可以适用于不同厚度和孔尺寸的鞋类,并能在需耐用使用的环境下提供足够稳定性。
③模块化和可拆卸设计:其中的肩部和装饰配件可以从轴上拆卸,便于更换和调整配件设计。
▶有益效果
这种设计使得装饰配件可以稳固附加在鞋子上,并能够适应不同厚度鞋面和孔洞大小的变化。同时由于轴和肩部是可拆卸和更换的,用户可以根据需求更换装饰配件或调整配件的稳定性。
通过这种系统和方法,用户可以实现个性化鞋类装饰,同时,设计的模块化便于替换和适应不同的鞋型要求和场景。
▶核心技术点及其范围
该专利主要讲装饰物和洞口的固定方式,如果产品设计中使用了类似的由第一、第二和第三肩部组成的结构,并通过伸展孔进行固定,则可能会侵犯此专利。
另外,如果使用了不同于专利中明确列出的材料或肩部形状,但依然采用类似的固定原理,也仍有侵权风险。
▶规避建议
在设计类似功能的附件固定系统时,应尽量避免使用相同或相似的轴和肩部布局与功能组合。比如修改固定方式:考虑不使用轴和肩部结构而采用其他固定方法,例如直接在鞋面附着而不依赖内外肩部的扣合,使用胶水或其他固定装置直接黏贴装饰件,从而规避expandable hole的特定设计要求。
总的来说,该专利对于装饰物与洞口的固定方式保护范围很广,市面上绝大多数洞洞鞋装饰的固定方式都有侵权可能,卖家想要规避侵权风险,可以考虑不使用轴和肩部结构而采用其他固定方法,比如胶水粘贴装饰物。
需要注意的是,该专利不仅仅适用于洞洞鞋装饰,还包括安装在带有洞口设计的衣服、皮带等产品上的装饰品,若您有销售这些产品,也需一并排查规避。


洞洞鞋凭借着透气、舒适、百搭等优势成为火爆全网的时尚单品,而能凸显个性、装点鞋面的装饰配件也大卖特卖,光是亚马逊美国站就有2000+相关listing,其中不少产品月销过百破千。

洞洞鞋装饰品在市场上颇受欢迎、销量可观,然而其背后潜藏的专利侵权风险却不容小觑!就拿洞洞鞋上的装饰灯来说,曾有相关产品多次陷入美国外观专利侵权诉讼纠纷,导致上百家店铺的资金被冻结。

比起洞洞鞋灯外观专利,洞洞鞋装饰品卖家更要留意美国发明专利侵权风险,该专利相当“霸道”,绝大部分洞洞鞋装饰产品都有侵权可能,务必警惕!
专利名称System and method for securing accessories to clothing(将配件固定在衣服上的系统和方法),专利号US7698836B2,2006年4月20日提交申请,2010年4月20日下证:

▶技术背景
本专利涉及一种用于将配件固定到鞋子和其他衣物上的系统和方法,特别是适用于具有可拉伸孔的鞋子。近年来,服装制造商开始制造一些由可拉伸材料制成的鞋类和腰带产品,例如泡沫材料。这些鞋子通常在鞋的上部包含膨胀孔(例如洞洞鞋)。
▶现有技术
传统的鞋类装饰面临的问题包括膨胀孔与使用者脚部的接触性以及鞋子在户外使用时,对配件耐用性的要求。此外,儿童和成人鞋模可能存在不同孔尺寸和材料厚度,这对设计出适合各种鞋型的配件造成困难。

▶本发明创新点
①轴和肩部设计:系统包括一个具有第一和第二端的轴,以及三个肩部。其中,第一肩部构造成可以插入鞋子的膨胀孔并与鞋的内表面接合,第二肩部构造成与鞋接合,第三肩部则包含装饰配件。

②多重适用性:配件系统可以适用于不同厚度和孔尺寸的鞋类,并能在需耐用使用的环境下提供足够稳定性。
③模块化和可拆卸设计:其中的肩部和装饰配件可以从轴上拆卸,便于更换和调整配件设计。
▶有益效果
这种设计使得装饰配件可以稳固附加在鞋子上,并能够适应不同厚度鞋面和孔洞大小的变化。同时由于轴和肩部是可拆卸和更换的,用户可以根据需求更换装饰配件或调整配件的稳定性。
通过这种系统和方法,用户可以实现个性化鞋类装饰,同时,设计的模块化便于替换和适应不同的鞋型要求和场景。
▶核心技术点及其范围
该专利主要讲装饰物和洞口的固定方式,如果产品设计中使用了类似的由第一、第二和第三肩部组成的结构,并通过伸展孔进行固定,则可能会侵犯此专利。
另外,如果使用了不同于专利中明确列出的材料或肩部形状,但依然采用类似的固定原理,也仍有侵权风险。
▶规避建议
在设计类似功能的附件固定系统时,应尽量避免使用相同或相似的轴和肩部布局与功能组合。比如修改固定方式:考虑不使用轴和肩部结构而采用其他固定方法,例如直接在鞋面附着而不依赖内外肩部的扣合,使用胶水或其他固定装置直接黏贴装饰件,从而规避expandable hole的特定设计要求。
总的来说,该专利对于装饰物与洞口的固定方式保护范围很广,市面上绝大多数洞洞鞋装饰的固定方式都有侵权可能,卖家想要规避侵权风险,可以考虑不使用轴和肩部结构而采用其他固定方法,比如胶水粘贴装饰物。
需要注意的是,该专利不仅仅适用于洞洞鞋装饰,还包括安装在带有洞口设计的衣服、皮带等产品上的装饰品,若您有销售这些产品,也需一并排查规避。







其他
04-09 周四











