本周选品请注意!这些专利刚刚下证
AI设计/3D打印/欧洲市场实战拆解,点击报名

专利名称:Spot light射灯
专利号:US-D1117889-S
申请日:2024-10-18
下证日:2026-3-10

专利名称:Storage basket收纳篮
专利号:US-D1116469-S
申请日:2025-4-24
下证日:2026-3-10

专利名称:Toothbrush holder牙刷架
专利号:US-D1116524-S
申请日:2025-4-30
下证日:2026-3-10

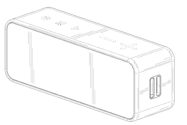
专利名称:Bluetooth speaker蓝牙音箱
专利号:US-D1117139-S
申请日:2025-4-24
下证日:2026-3-10

专利名称:Garden lamp花园灯
专利号:US-D1117893-S
申请日:2025-4-21
下证日:2026-3-10

专利名称:Power bank充电宝
专利号:US-D1117002-S
申请日:2025-4-16
下证日:2026-3-10

专利名称:Dog house狗屋
专利号:US-D1118021-S
申请日:2025-3-20
下证日:2026-3-10

专利名称:Pillow枕头
专利号:US-D1116538-S
申请日:2025-3-25
下证日:2026-3-10

专利名称:Ceiling fan with lamp吊扇灯
专利号:US-D1117871-S
申请日:2025-3-14
下证日:2026-3-10

专利名称:Desk lamp with socket带插座的台灯
专利号:US-D1117934-S
申请日:2025-3-12
下证日:2026-3-10

专利名称:Plant lamp植物灯
专利号:US-D1117932-S
申请日:2025-3-7
下证日:2026-3-10

专利名称:Storage rack储物架
专利号:US-D1116558-S
申请日:2025-3-6
下证日:2026-3-10

专利名称:Swivel cup holder旋转杯架
专利号:US-D1116657-S
申请日:2025-3-4
下证日:2026-3-10

专利名称:Insect house昆虫屋
专利号:US-D1118022-S
申请日:2025-1-30
下证日:2026-3-10

专利名称:Electronic candle电子蜡烛
专利号:US-D1117921-S
申请日:2025-1-13
下证日:2026-3-10
温馨提示:
不是下证了的专利就一定稳定,或者一定能在市场发起投诉,也要看专利的申请时间是否更早,同类型的专利技术有无更早的公开,这些都会影响专利后期的使用。有的专利发起维权就遇到其他人无效的情况也是很常见。
同时最重要要看专利的保护范围,比如外观的虚实线,整个产品的结构特点,发明专利的权利点等等。



专利名称:Spot light射灯
专利号:US-D1117889-S
申请日:2024-10-18
下证日:2026-3-10

专利名称:Storage basket收纳篮
专利号:US-D1116469-S
申请日:2025-4-24
下证日:2026-3-10

专利名称:Toothbrush holder牙刷架
专利号:US-D1116524-S
申请日:2025-4-30
下证日:2026-3-10

专利名称:Bluetooth speaker蓝牙音箱
专利号:US-D1117139-S
申请日:2025-4-24
下证日:2026-3-10

专利名称:Garden lamp花园灯
专利号:US-D1117893-S
申请日:2025-4-21
下证日:2026-3-10

专利名称:Power bank充电宝
专利号:US-D1117002-S
申请日:2025-4-16
下证日:2026-3-10

专利名称:Dog house狗屋
专利号:US-D1118021-S
申请日:2025-3-20
下证日:2026-3-10

专利名称:Pillow枕头
专利号:US-D1116538-S
申请日:2025-3-25
下证日:2026-3-10

专利名称:Ceiling fan with lamp吊扇灯
专利号:US-D1117871-S
申请日:2025-3-14
下证日:2026-3-10

专利名称:Desk lamp with socket带插座的台灯
专利号:US-D1117934-S
申请日:2025-3-12
下证日:2026-3-10

专利名称:Plant lamp植物灯
专利号:US-D1117932-S
申请日:2025-3-7
下证日:2026-3-10

专利名称:Storage rack储物架
专利号:US-D1116558-S
申请日:2025-3-6
下证日:2026-3-10

专利名称:Swivel cup holder旋转杯架
专利号:US-D1116657-S
申请日:2025-3-4
下证日:2026-3-10

专利名称:Insect house昆虫屋
专利号:US-D1118022-S
申请日:2025-1-30
下证日:2026-3-10

专利名称:Electronic candle电子蜡烛
专利号:US-D1117921-S
申请日:2025-1-13
下证日:2026-3-10
温馨提示:
不是下证了的专利就一定稳定,或者一定能在市场发起投诉,也要看专利的申请时间是否更早,同类型的专利技术有无更早的公开,这些都会影响专利后期的使用。有的专利发起维权就遇到其他人无效的情况也是很常见。
同时最重要要看专利的保护范围,比如外观的虚实线,整个产品的结构特点,发明专利的权利点等等。







其他
04-09 周四











