厨房用具卖家注意了,硅胶搅拌碗发明专利维权,恐大批量卖家被诉,速看避雷!
平台新政&爆款打造及差异化布局攻略揭秘,手把手教你进军巴西>>>
Konstantin Anatolievich Korobov 版权画
案件编号:26-cv-1646
代理律所:Keith
维权产品:Konstantin Anatolievich Korobov 版权画
受理法院:伊利诺伊州
起诉的版权图如下:





被告名单:



Ruediger Lauktien 版权画
案件编号:26-cv-1647
代理律所:Keith
维权产品:Ruediger Lauktien 版权画
受理法院:伊利诺伊州
起诉的版权图如下:

被告名单:


MixAid 硅胶碗发明专利
案件编号:26-cv-236
代理律所:FERENCE & ASSOCIATES LLC
维权产品:MixAid 硅胶碗
受理法院:宾夕法尼亚州
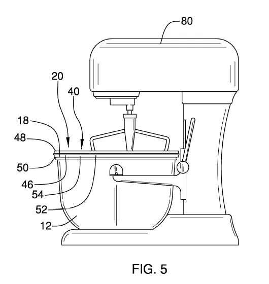
MixAid硅胶碗是专为KitchenAid立式搅拌机打造的实用配件,它采用食品级硅胶材质,安全无毒,与食材接触令人放心,且环保无污染。MixAid硅胶碗功能多样,其防滑设计能有效减少搅拌时食材溅出,保持厨房整洁;内壁光滑易清洁,还可直接放入洗碗机清洗;耐高温特性使其能承受烤箱和洗碗机的高温,不易变形损坏。

原告MBDB PRODUCTS LLC为旗下爆款产品MixAid申请发明专利
核心组成:刚性搅拌碗,硬质材料制成,可插入式内衬,弹性盖子柔性材料制成,封闭顶部。
工作原理:盖子通过环形壁的弹性变形,使其开口能够同时容纳内衬的凸缘和导流嘴。当盖子覆盖时:环形壁与内衬凸缘卡合/摩擦配合,缺口与导流嘴嵌套配合,实现盖子直接可拆卸地固定在内衬上(而非固定在搅拌碗上)。







Konstantin Anatolievich Korobov 版权画
案件编号:26-cv-1646
代理律所:Keith
维权产品:Konstantin Anatolievich Korobov 版权画
受理法院:伊利诺伊州
起诉的版权图如下:





被告名单:



Ruediger Lauktien 版权画
案件编号:26-cv-1647
代理律所:Keith
维权产品:Ruediger Lauktien 版权画
受理法院:伊利诺伊州
起诉的版权图如下:

被告名单:


MixAid 硅胶碗发明专利
案件编号:26-cv-236
代理律所:FERENCE & ASSOCIATES LLC
维权产品:MixAid 硅胶碗
受理法院:宾夕法尼亚州
MixAid硅胶碗是专为KitchenAid立式搅拌机打造的实用配件,它采用食品级硅胶材质,安全无毒,与食材接触令人放心,且环保无污染。MixAid硅胶碗功能多样,其防滑设计能有效减少搅拌时食材溅出,保持厨房整洁;内壁光滑易清洁,还可直接放入洗碗机清洗;耐高温特性使其能承受烤箱和洗碗机的高温,不易变形损坏。

原告MBDB PRODUCTS LLC为旗下爆款产品MixAid申请发明专利
核心组成:刚性搅拌碗,硬质材料制成,可插入式内衬,弹性盖子柔性材料制成,封闭顶部。
工作原理:盖子通过环形壁的弹性变形,使其开口能够同时容纳内衬的凸缘和导流嘴。当盖子覆盖时:环形壁与内衬凸缘卡合/摩擦配合,缺口与导流嘴嵌套配合,实现盖子直接可拆卸地固定在内衬上(而非固定在搅拌碗上)。












其他
04-16 周四










