Item 1 of 1
众筹600万美元的陶瓷花盆,有何魔力?
2025-09-19 11:00
给你可复用的爆品立项与广告节奏和预算模型
品牌介绍



知识产权-专利
USD1005170S1



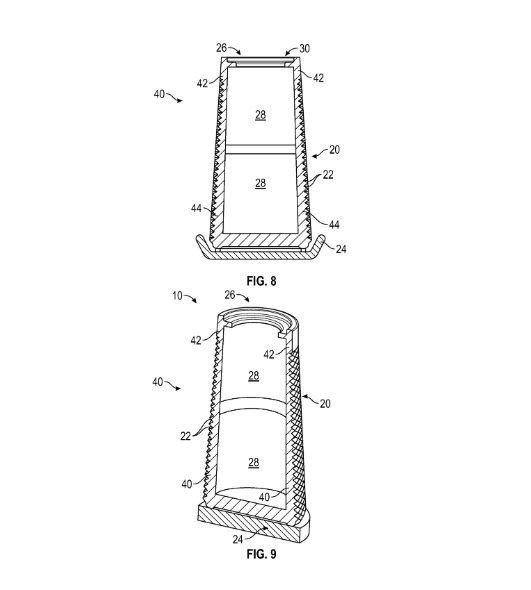
US11234385B2 申请日 :2019.05.14

作为 3 项发明专利中的母案专利,US11234385B2 包含 3 项独立权利要求,奠定了 Tevaplanter 的核心技术框架。

独权1
独权4
独权9

综上,该专利通过 “外表面 20 + 凹痕 22” 实现植物附着,“储水容积 30 + 内部容积 28” 实现水分储存,“多孔陶瓷22 + 梯度横截面 40” 实现水分均匀传输,共同构建了无土、低维护的植物生长系统。
US11974528B2 申请日 :2021.12.16



US11576315B2 申请日 :2022.02.23



侵权风险&专利布局
Tevaplanter 在美国注册的 3 项发明专利共包含 7 项独立权利要求,对有意销售类似产品的跨境卖家而言,需重点注意:只要产品完全覆盖任一独立权利要求的全部技术特征,即存在侵权风险。若作为专利权人维权,可优先选择与侵权产品特征最匹配的权利要求及专利,在亚马逊等平台发起专利中立评估投诉,或向法院提起侵权诉讼,精准打击侵权行为。


结语
TikTok、Facebook、谷歌、Twitter广告服务,0门槛抢占全球流量!
极速开户+优化投流+风险保障+效果跟踪,仅需4步,轻松撬动亿万海外流量,让品牌销量翻倍增长!
已成功开通5000+账户

最新热门报告作者标签
Gmarket联合Lazada启动大促活动,首站覆盖新加坡与菲律宾Gmarket宣布,自5月14日起,在新加坡和菲律宾,连续5天举办名为“Gmarket Day”的海外促销活动。此次活动通过东南亚电商平台Lazada进行。
美国燃油涨价,Temu等低价平台4月下载量大增随着美国汽油价格持续上涨,低价购物应用在2026年4月迎来明显增长,Temu、Shein等平台下载量显著攀升。
欧盟拟出台新规加强监管,TikTok与Meta面临审查欧盟将加强对社交媒体平台的监管,重点针对TikTok、Meta以及X等平台中可能导致青少年沉迷的“成瘾式设计”。
又一小众园艺“神器”海外爆单,TikTok卖家已入账百万国产1分钱塑料夹走红TikTok,跨境卖家找到“发财赛道”
美国FTC要求亚马逊等公司遵守法案,加强非法影像审核美国联邦贸易委员会向亚马逊、谷歌母公司Alphabet、苹果、Meta、TikTok以及X等知名科技公司发出通知,要求其最迟在5月19日前全面遵守《Take It Down法案》。所有受监管的平台必须建立清晰、可见的内容删除流程,并在收到受害者有效请求后48小时内删除相关非自愿私密影像,同时还需删除所有相同的复制内容。
税务稽查突发,有卖家被倒查5年!近日,再度袭来的税务核查风波,又打了跨境卖家们一个措手不及。AMZ123了解到,日前,亚马逊再次向中国卖家群发了2025年第四季度(10月至12月)的税务报表,为此前未及时下载报表的卖家提供了新的下载链接。尽管其内容与此前基本一致,但还是迅速引起了诸多卖家的关注,原因在于:在亚马逊重新推送Q4报表的同时,国内多地税务部门也展开了新一轮的税务核查。05.20 杭州 | 全链路合规落地实操,杭州政府机构等多位行业专家坐镇,权威解读新政,现场1v1答疑!点击报名AMZ123获悉,据业内爆料,近日,多个深圳卖家收到了税务局的《风险事项调查通知书》。
从亚洲走向世界:Netflix Ads首个出海营销活动释放了3个关键信号过去两年,中国品牌正日益将国际化拓展视为核心增长战略,出海也从早期“试水”阶段,逐步迈向常态化、可规模化的全球运营阶段。但品牌出去了,媒介环境却变得更具挑战了。2025年,Google Ads美国市场平均CPC同比上涨约13%,87%的行业出现CPC攀升。社交媒体同样溢价明显,Snapchat广告CPM2025年同比上涨47%,增速领跑所有主流平台。品牌花同样的钱,换来的有效专注力却在缩水。当流量成本与用户触达持续失衡,出海品牌正在寻找一种新的解法,既能承接规模化曝光,又能建立品牌信任。——这正是3月Netflix Ads在曼谷举办“What Next?”2026出海营销活动试图解开的结。
跨境及外贸人必打卡的2026宁波跨博会!一次链接3000+外贸工厂、40+热门平台,30+跨境论坛…宁波出口跨境电商博览会是目前国内最具号召力的跨境高端专业展之一,也是国内唯一以“大家居”为核心品类的展会。2026年,宁波跨博会全新升级,以“一展双呈”方式,在宁波、余姚两地同期举办,两地展览总面积突破9万平方米,13大展馆齐开,预计将吸引超10万人次专业观众到场对接。本届展会汇聚了来自全国优质产业带的超3000家外贸工厂及各类平台及服务商,为跨境及外贸企业提供选品、采购、转型等三大服务,其中83%以上为供应链企业。
亚马逊正式在美国上线Amazon Now配送服务亚马逊正式在美国推出Amazon Now超快速配送服务,用户下单后最快可在30分钟内收到商品。
亚马逊品牌推广技巧,如何提高品牌曝光度亚马逊平台的流量竞争日益激烈,品牌推广作为连接消费者与品牌的核心渠道,能够帮助卖家在搜索结果、商品详情页等关键位置触达目标用户,实现短期销量提升与长期品牌资产积累。本文梳理两大广告目标的实操方法与优化技巧,为卖家提供可落地的投放指导。一、明确品牌推广的两大广告目标及配置差异亚马逊品牌推广目前提供两种可选择的广告目标,分别为增加页面访问次数与提升品牌展示量份额。卖家需根据自身业务阶段与核心需求,选择匹配的目标。广告活动创建后目标无法修改,且所有已创建的品牌推广广告活动会默认使用增加页面访问次数目标。
亚马逊低价平台Bazaar在印度快速扩张,卖家增至3万名根据亚马逊披露的数据,Amazon Bazaar已有3万名卖家和超过3000万件商品,计划在未来一年将卖家规模扩大1.5至2倍
百亿门前,大卖也难啃利润营收狂奔,一批大卖利润告急
2026五大主流跨境收款工具客观实测横评:派安盈、连连、万里汇、空中云汇、PingPong2026年,跨境收款赛道发展更趋成熟,Payoneer派安盈、万里汇、连连国际、空中云汇、PingPong五大主流跨境收款工具,均具备正规合规资质与成熟收款结汇能力,只是各家产品定位、核心功能侧重、适配场景各不相同。不存在绝对最好的收款工具,只有最匹配自身业务模式的选择。本文基于2026年4月各平台官方公开信息、合规牌照公示、真实卖家实测到账体验与长期使用反馈,做客观中立横评。跨境收款工具选型核心原则跨境收款选型不能单一参考提现费率,需综合核算综合使用成本、资金到账时效、合规风控稳定性、配套收付功能、场景适配能力等五大维度。
美国上诉法院介入,特朗普10%全球关税继续生效美国联邦上诉法院发布临时决定,暂停下级法院此前裁定特朗普政府10%全球关税违法的判决。这一决定意味着,在案件进一步审理前,相关进口商仍需继续缴纳该项关税。
Prime Day前夕评分下跌,亚马逊卖家陷入流量困局!2026年的Prime Day,对于亚马逊卖家而言注定是一个不平凡的大促。根据公开信息,今年该大促将提前至6月举行,首次打破了历年7月举办的传统惯例。从平台角度来看,此举或能衔接欧美返校季流量,应对同期其他平台的分流竞争,但落在卖家身上,却成为了前所未有的挑战:备战周期被压缩、运营节奏被打乱……更“屋漏偏逢连夜雨”的是,在备战大促之余,近期还有诸多卖家称产品链接因评分无故下降陷入了流量困局。近日,多个卖家反映,其商品链接在评论数量没变的前提下,评分出现了下降。“明明没有新增差评,但是商品评分却整体下跌了0.3。”“我的更夸张,有一个商品的评分从4.3分直接降到了3.9。
Shein新建英国物流仓库,新增450个岗位SHEIN宣布,在英国米德兰兹地区开设新的电商物流仓库,占地约3.5万平方米,已新增450个工作岗位,使SHEIN在英国支持的物流岗位总数提升至1000个。
AMZ123《全球电商市场报告——韩国篇》PDF下载本报告从电商市场环境、消费者画像与营销选品策略等多个维度,聚焦这一市场进行系统性解读,为跨境卖家精准切入韩国市场,把握增量机遇提
供深度参考。
《TikTok Shop 2026年一季度报告》PDF下载2026年第一季度,TikTok Shop在全球(基于所提供的10个站点数据)继续保持强劲的增长态势总GMV已达274.53亿美元,整体市场呈现出核心市场GMV体量巨大、新兴市场爆发式增长的特征美国站以69.85亿美元的GMV稳居榜首,对比25年第一季度增长了66%
《2026游戏出海产业深度解析报告》PDF下载2025年,全球游戏市场彻底走出了调整期,迎来了确定性的复苏增长。根据Newzoo最新发布的全球营收趋势数据显示,2025年全球游戏市场总营收预计将达到1967亿美元,正式逼近2000亿大关。从长期增长曲线来看,行业复合年增长率(CAGR)正从2022-2025年间的4.2%加速攀升,预计在2025-2028年间将达到4.9%,显示出强劲的市场韧性。
《2026数智供应链全球化发展报告》PDF下载数智供应链是基于实时、全域市场数据的开放共创--消费端洞察可直接反馈至研发与设计环节驱动产品快速迭代;供应链生态内数据、工具能力开放共享,降低上下游创新门槛与成本;带来新材料应用、新工艺优化到订阅制、产品即服务(Paas)等新商业模式涌现。
《2025年中国AI应用出海企业发展需求洞察报告》PDF下载AI 应用出海企业指专注于人工智能技术研发及应用,通过将自主开发的 AI产品、服务或解决方案推向海外市场,以实现商业价值和全球布局的企业实体。其核心特征是依托人工智能技术优势,开展跨地域的商业活动,目标市场为海外国家和地区。
《中国软件企业在欧洲市场的数据主权与安全合规指南》PDF下载本白皮书将精准聚焦中国软件企业的出海痛点:从SaaS服务的多租户数据隔离,到DevOps流程中的跨境数据风险,再到软件供应链的安全责任
《日本机会品类调查》PDF下载本报告中的收纳类别范围是指收纳箱/盒、衣柜/衣橱、衣帽架、彩色收纳盒/书架、开放柜/置物架、钢架和洗衣收纳产品,主要用于日本消费者的客厅、卧室、壁柜和浴室。
《12月刊高潜力品类行业洞察报告》PDF下载12月,正值圣诞节及年终购物季,消费者对大家电和相机等大件及礼品类需求显著提升,对美容个护、宠物等刚需品类需求稳健。

















