侵权风险+,这21款亚马逊热销品已取得美国外观专利!
AI设计/3D打印/欧洲市场实战拆解,点击报名
2月11日,美国专利局公布了一批正式生效的外观专利,今天为大家整理了其中21款。关注到这些产品里面其中不乏是亚马逊,TEMU,Ebay,速卖通,沃尔玛等跨境电商平台热卖品。如有在美国市场刊登售卖,各位跨境卖家需警惕后续可能发生的站内专利权利人投诉甚至发起TRO的风险。
Scissor 剪刀

专利编号:Patent US D1061195
申请日期:2024/05/16
下证日期:2025/02/11
专利受让人:YANGJIANG GANGFU INDUSTRIAL CO., LTD. (Guangdong, CN)
Hairpin 发夹

专利编号:Patent US D1062059
申请日期:2024/10/22
下证日期:2025/02/11
专利受让人:Zhang, Dongyu (Liaocheng, CN)
Kettle 水壶

专利编号:Patent US D1061113
申请日期:2022/03/14
下证日期:2025/02/11
专利受让人:Hy Cite Enterprises, LLC (Middleton, WI, US)
Wireless charger 无线充电器

专利编号:Patent US D1061434
申请日期:2022/11/21
下证日期:2025/02/11
专利受让人:Guangdong Mcdodo Industrial Company Limited (Guangzhou, CN)
Magnetic charger 磁性充电器

专利编号:Patent US D1061428
申请日期:2023/04/04
下证日期:2025/02/11
专利受让人:Shenzhen iCanle Technology Co., Ltd. (Shenzhen, CN)
Cat litter box 猫砂盒

专利编号:Patent US D1062109
申请日期:2024/06/13
下证日期:2025/02/11
专利受让人:Chen, Yingjia (Zhejiang, CN)
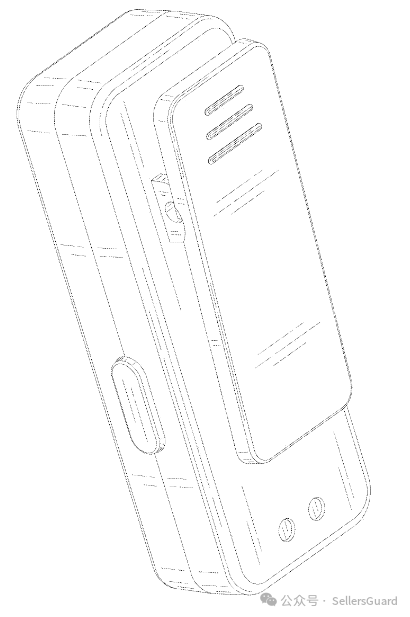
Mobile phone stand 手机支架

专利编号:Patent US D1061502
申请日期:2022/07/19
下证日期:2025/02/11
专利受让人:Chen, Runxin (Haikou, CN)
Shower head 淋浴头

专利编号:Patent US D1061796
申请日期:2023/05/08
下证日期:2025/02/11
专利受让人:XIAMEN GALENPOO KITCHEN & BATHROOM TECHNOLOGY CO., LTD (Xiamen, CN)
Wireless microphone 无线麦克风

专利编号:Patent US D1061484
申请日期:2023/08/09
下证日期:2025/02/11
专利受让人:Shi, Meng (Guangzhou, CN)
Clothes rack 衣架

专利编号:Patent US D1061051
申请日期:2023/04/19
下证日期:2025/02/11
专利受让人:3M INNOVATIVE PROPERTIES COMPANY (St. Paul, MN, US)
Headphones 耳机

专利编号:Patent US D1061474
申请日期:2023/05/12
下证日期:2025/02/11
专利受让人:Shenzhen Yiboyi Industrial Co., Ltd. (Shenzhen, CN)
Pet glasses 宠物眼镜

专利编号:Patent US D1062095
申请日期:2024/04/09
下证日期:2025/02/11
专利受让人:Shenzhen Leshuo Technology Co., Ltd. (Guangdong, CN)
Drain plug 排水塞

专利编号:Patent US D1060614
申请日期:2024/04/16
下证日期:2025/02/11
专利受让人:Zhang, Zi (Henan, CN)
Chen, Shuting (Hubei, CN)
Card puncher 卡片打孔机

专利编号:Patent US D1059980
申请日期:2024/04/27
下证日期:2025/02/11
专利受让人:Dongguan Ouge Stationery Co., Ltd. (Dongguan, CN)
Book rack 书架

专利编号:Patent US D1059095
申请日期:2024/09/25
下证日期:2025/02/11
专利受让人:Shenzhen Zhixiao Technology Co., LTD (Guangdong, CN)
Cosmetic bag 化妆包

专利编号:Patent US D1059803
申请日期:2022/12/22
下证日期:2025/02/11
专利受让人:Dongguan Aiboke Electronic Technology Co., Ltd. (Dongguan, CN)
Plant stand 植物架

专利编号:Patent US D1059879
申请日期:2022/06/19
下证日期:2025/02/11
专利受让人:INNOV8 LIFESTYLE LLC (Hialeah Gardens, FL, US)
Fan 风扇

专利编号:Patent US D1061848
申请日期:2023/08/31
下证日期:2025/02/11
专利受让人:Vornado Air, LLC (Andover, KS, US)
Self-grooming brush for cat 猫用自梳毛刷

专利编号:Patent US D1062101
申请日期:2022/07/05
下证日期:2025/02/11
专利受让人:Ningbo Maixiu Electronic Commerce Co., Ltd. (Ningbo, CN)
Wireless earphone 无线耳机

专利编号:Patent US D1061477
申请日期:2024/02/09
下证日期:2025/02/11
专利受让人:Samsung Electronics Co., Ltd. (Suwon-si, KR)
Hair dryer 吹风机

专利编号:Patent US D1062054
申请日期:2023/05/22
下证日期:2025/02/11
专利受让人:Shanghai Tai Mo Electronic Technology CO., LTD. (Shanghai, CN)
以上产品请注意查看专利文件,如有雷同产品在售,请警惕接下来被投诉甚至被钓鱼律所TRO的潜在风险。


2月11日,美国专利局公布了一批正式生效的外观专利,今天为大家整理了其中21款。关注到这些产品里面其中不乏是亚马逊,TEMU,Ebay,速卖通,沃尔玛等跨境电商平台热卖品。如有在美国市场刊登售卖,各位跨境卖家需警惕后续可能发生的站内专利权利人投诉甚至发起TRO的风险。
Scissor 剪刀

专利编号:Patent US D1061195
申请日期:2024/05/16
下证日期:2025/02/11
专利受让人:YANGJIANG GANGFU INDUSTRIAL CO., LTD. (Guangdong, CN)
Hairpin 发夹

专利编号:Patent US D1062059
申请日期:2024/10/22
下证日期:2025/02/11
专利受让人:Zhang, Dongyu (Liaocheng, CN)
Kettle 水壶

专利编号:Patent US D1061113
申请日期:2022/03/14
下证日期:2025/02/11
专利受让人:Hy Cite Enterprises, LLC (Middleton, WI, US)
Wireless charger 无线充电器

专利编号:Patent US D1061434
申请日期:2022/11/21
下证日期:2025/02/11
专利受让人:Guangdong Mcdodo Industrial Company Limited (Guangzhou, CN)
Magnetic charger 磁性充电器

专利编号:Patent US D1061428
申请日期:2023/04/04
下证日期:2025/02/11
专利受让人:Shenzhen iCanle Technology Co., Ltd. (Shenzhen, CN)
Cat litter box 猫砂盒

专利编号:Patent US D1062109
申请日期:2024/06/13
下证日期:2025/02/11
专利受让人:Chen, Yingjia (Zhejiang, CN)
Mobile phone stand 手机支架

专利编号:Patent US D1061502
申请日期:2022/07/19
下证日期:2025/02/11
专利受让人:Chen, Runxin (Haikou, CN)
Shower head 淋浴头

专利编号:Patent US D1061796
申请日期:2023/05/08
下证日期:2025/02/11
专利受让人:XIAMEN GALENPOO KITCHEN & BATHROOM TECHNOLOGY CO., LTD (Xiamen, CN)
Wireless microphone 无线麦克风

专利编号:Patent US D1061484
申请日期:2023/08/09
下证日期:2025/02/11
专利受让人:Shi, Meng (Guangzhou, CN)
Clothes rack 衣架

专利编号:Patent US D1061051
申请日期:2023/04/19
下证日期:2025/02/11
专利受让人:3M INNOVATIVE PROPERTIES COMPANY (St. Paul, MN, US)
Headphones 耳机

专利编号:Patent US D1061474
申请日期:2023/05/12
下证日期:2025/02/11
专利受让人:Shenzhen Yiboyi Industrial Co., Ltd. (Shenzhen, CN)
Pet glasses 宠物眼镜

专利编号:Patent US D1062095
申请日期:2024/04/09
下证日期:2025/02/11
专利受让人:Shenzhen Leshuo Technology Co., Ltd. (Guangdong, CN)
Drain plug 排水塞

专利编号:Patent US D1060614
申请日期:2024/04/16
下证日期:2025/02/11
专利受让人:Zhang, Zi (Henan, CN)
Chen, Shuting (Hubei, CN)
Card puncher 卡片打孔机

专利编号:Patent US D1059980
申请日期:2024/04/27
下证日期:2025/02/11
专利受让人:Dongguan Ouge Stationery Co., Ltd. (Dongguan, CN)
Book rack 书架

专利编号:Patent US D1059095
申请日期:2024/09/25
下证日期:2025/02/11
专利受让人:Shenzhen Zhixiao Technology Co., LTD (Guangdong, CN)
Cosmetic bag 化妆包

专利编号:Patent US D1059803
申请日期:2022/12/22
下证日期:2025/02/11
专利受让人:Dongguan Aiboke Electronic Technology Co., Ltd. (Dongguan, CN)
Plant stand 植物架

专利编号:Patent US D1059879
申请日期:2022/06/19
下证日期:2025/02/11
专利受让人:INNOV8 LIFESTYLE LLC (Hialeah Gardens, FL, US)
Fan 风扇

专利编号:Patent US D1061848
申请日期:2023/08/31
下证日期:2025/02/11
专利受让人:Vornado Air, LLC (Andover, KS, US)
Self-grooming brush for cat 猫用自梳毛刷

专利编号:Patent US D1062101
申请日期:2022/07/05
下证日期:2025/02/11
专利受让人:Ningbo Maixiu Electronic Commerce Co., Ltd. (Ningbo, CN)
Wireless earphone 无线耳机

专利编号:Patent US D1061477
申请日期:2024/02/09
下证日期:2025/02/11
专利受让人:Samsung Electronics Co., Ltd. (Suwon-si, KR)
Hair dryer 吹风机

专利编号:Patent US D1062054
申请日期:2023/05/22
下证日期:2025/02/11
专利受让人:Shanghai Tai Mo Electronic Technology CO., LTD. (Shanghai, CN)
以上产品请注意查看专利文件,如有雷同产品在售,请警惕接下来被投诉甚至被钓鱼律所TRO的潜在风险。







其他
04-09 周四











