Item 1 of 1
美国专利预警,3月10日最新下证专利合集(上)
2026-03-11 20:17
| 全链路合规难题一站解决,点击报名,获取行业专家现场1v1答疑!
最新专利
2026年3月10日,美国专利局公布了一批正式生效的外观专利,小编列举出以下10款日常生活中常见的产品,其隐藏着侵权风险,各位跨境卖家需做好侵权规避。
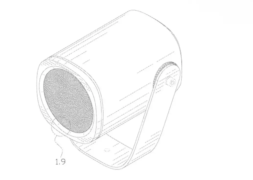
射灯
专利编号:D1117889

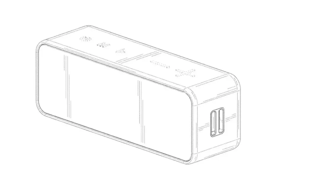
收纳篮
专利编号:D1116469

专利编号:D1117139

专利编号:D1117893

专利编号:D1117002

专利编号:D1116538

专利编号:D1117934

专利编号:D1117932

专利编号:D1116657

专利号编号:D1118022

捷胤知识产权在这里温馨提示各位,电商卖家在对产品进行销售的时候一定要仔细排查,一旦发现相关的产品侵权后一定要尽快下架!避免被起诉面临赔偿的风险!
TikTok、Facebook、谷歌、Twitter广告服务,0门槛抢占全球流量!
极速开户+优化投流+风险保障+效果跟踪,仅需4步,轻松撬动亿万海外流量,让品牌销量翻倍增长!
已成功开通5000+账户

最新报告作者标签
Allegro推出卖家AI运营助手波兰电商平台Allegro面向推出全新AI助手,该助手基于卖家账户的实时数据运行,可帮助卖家分析账户表现、优化销售策略,并解答与平台规则相关的问题。
《2026年印度网购趋势报告》贝恩公司发布了《2026年印度网上购物趋势报告》。报告从宏观消费环境、电商市场规模、用户变化等方面进行系统分析,围绕2026年印度电商市场的发展现状与未来趋势进行分析和讨论。
受中东冲突影响,巴拿马运河拥堵加剧、通行费高达400万美元受中东局势影响,霍尔木兹海峡关闭导致货物航行路线调整,巴拿马运河拥堵加剧,等待时间和通行拍卖价格均在4月显著上升。
Stripe发布288项更新,布局AI代理支付体系Stripe推出288项新产品与功能,围绕AI支付、企业服务、防欺诈以及AI代理购物等多个方向。这一系列更新被认为是Stripe迄今最大规模的产品发布。
One Pay与Tempo合作,推进稳定币支付体系升级沃尔玛持股的金融科技公司OnePay与Tempo达成合作,双方将围绕稳定币支付与账户资金流转展开下一代支付体系建设。
TRO资讯|塑身内衣第18次发起维权,速查!美国伊利诺伊州北区联邦法院已立案全新跨境专利侵权批量诉讼,案号 1:26-cv-04877。原告为香港塑身品类维权大户 HEXIN HOLDING LIMITED,手握数十项塑身产品美国专利与版权,已同步提交卖家最怕的 TRO 账户冻结禁令,随时可能下发。该原告 2024 年至今已发起18次维权,累计起诉数千跨境卖家,累计冻结金额已上万美金,合作的 YK Law LLP 律所深谙 TRO 全流程,不少卖家未收到起诉就已被冻结货款。
60秒合规自测,避开95%的侵权坑大家是否认为侵权离自己很远?很多跨境卖家是在商品爆单后,才第一次收到起诉通知。问题不在“有没有做错”,而在于
全年营收87亿元,致欧科技发布2025年财报2025年致欧全年营收87.01亿元,同比增长7.1%。
《中国软件企业在欧洲市场的数据主权与安全合规指南》PDF下载本白皮书将精准聚焦中国软件企业的出海痛点:从SaaS服务的多租户数据隔离,到DevOps流程中的跨境数据风险,再到软件供应链的安全责任
《日本机会品类调查》PDF下载本报告中的收纳类别范围是指收纳箱/盒、衣柜/衣橱、衣帽架、彩色收纳盒/书架、开放柜/置物架、钢架和洗衣收纳产品,主要用于日本消费者的客厅、卧室、壁柜和浴室。
《12月刊高潜力品类行业洞察报告》PDF下载12月,正值圣诞节及年终购物季,消费者对大家电和相机等大件及礼品类需求显著提升,对美容个护、宠物等刚需品类需求稳健。
《2026中国具身智能企业出海全景报告》PDF下载具身智能就是有物理载体的智能体,可利用感知、决策和交互能力执行现实世界任务并主动学习进化。简单来说,具身智能就是具有实物“身体”的人工智能(AI),即具身智能=会思考的大脑+能感知和行动的物理身体。
AMZ123《全球电商市场报告——澳大利亚篇》在全球电商讨论中,澳大利亚市场虽然不常被提及,但凭借其稳定的增长势头,逐渐展现出独特的价值。预计2025年澳大利亚电商规模将达到393.6亿美元,2030年将突破465.1亿美元,展现出可预期的稳步增长。
AMZ123《全球电商市场报告——日本篇》本报告从市场环境、用户画像与营销策略等多个维度,聚焦这一市场进行系统性解读,为跨境卖家精准切入日本市场,把握增量机遇提供深度参考。
《中国医疗器械全球化新征程》PDF下载在带量采购常态化、支付方式改革深化及行业竞争加剧的背景下,中国医疗器械产业正处于由“内循环”迈向“全球化”的关键拐点。国内市场的利润挤压与结构性竞争,正在推动企业加速国际化布局。与此同时,政策鼓励科技创新与出海发展,叠加创新药出海的示范效应,为医疗器械企业打开了通往海外的新增长空间。
《智能插座美国市场年度研报》PDF下载中国卖家供给主导,但品牌突破面临挑战。中国卖家在商品数量上已占据半壁江山,且在整体销售额增长中展现出韧性,是市场供给的绝对主力。新品牌中超半数来自中国,显示其持续的创新活力。然而,新品牌整体销售额贡献微弱,中国力量“大而不强”,多数品牌仍集中于竞争激烈的中端红海市场,向高端突破或建立品牌溢价的能力有待验证。

美国专利预警,3月10日最新下证专利合集(上)
捷胤知识产权资讯栏
2026-03-11 20:17
862
最新专利
2026年3月10日,美国专利局公布了一批正式生效的外观专利,小编列举出以下10款日常生活中常见的产品,其隐藏着侵权风险,各位跨境卖家需做好侵权规避。
射灯
专利编号:D1117889

收纳篮
专利编号:D1116469

专利编号:D1117139

专利编号:D1117893

专利编号:D1117002

专利编号:D1116538

专利编号:D1117934

专利编号:D1117932

专利编号:D1116657

专利号编号:D1118022

捷胤知识产权在这里温馨提示各位,电商卖家在对产品进行销售的时候一定要仔细排查,一旦发现相关的产品侵权后一定要尽快下架!避免被起诉面临赔偿的风险!
1








福建
05-14 周四











