热点丨哪吒2:三岁百亿影帝背后的商标布局
AI设计/3D打印/欧洲市场实战拆解,点击报名
三岁百亿影帝的商标布局
2019年,国产动画电影《哪吒之魔童降世》(下称“《哪吒1》”)横空出世,一举拿下中国票房榜历史总榜第四,给观众带来了一个全新的哪吒形象,更是在电影市场掀起了一阵势不可挡的“风暴”。
2025年,《哪吒之魔童闹海》(下称“《哪吒2》”)在春节档强势归来,开启“高开疯走”模式,截止撰稿日已经突破百亿票房(票房持续增长中),成为中国影史首部票房破100亿元的电影,成为全球影史票房榜第17名,跻身全球动画电影票房榜前三,更是打破了好莱坞电影的垄断局面!!


《哪吒2》破100亿票房海报(图源:网络)

《哪吒2》国际版海报(图源:网络)

商标布局:从“慢半拍”到“快一步”
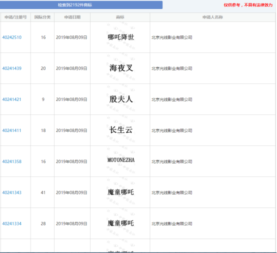
《哪吒1》在上映之初,出品方或许是对知识产权的不够重视,也或许是没有预料到电影会以黑马之姿取得如此傲人的成绩,因此没有提前对该IP进行知识产权的保护与布局,直到影片上映半个月后,《哪吒1》真正迎来大爆,市场上早已经涌现出了大量“哪吒”IP产品,出品方北京光线影业有限公司这才如梦初醒,回过头来一口气向商标局提交了多达2000个与“哪吒”相关的商标注册申请。

图源:国家知识产权局商标局
有了《哪吒1》的前车之鉴,如今的出品方明显有了提前规划的意识,在《哪吒2》筹备阶段就开启了商标布局规划。

图源:国家知识产权局商标局
在官网查询可见发现,北京光线影业有限公司在2023年6月就已经注册申请了几十件“哪吒之魔童闹海”商标,包括教育娱乐、方便食品、服装鞋帽等多个类别,几乎涵盖全类别,为正式上映后可能的商业合作预留出空间。
知识产权布局与商业创新的平衡
1. 实现IP价值的全方位开发
手握注册商标是IP实现商业化变现的法律基础。近年来消费者更为钟情于差异化、个性化产品,IP授权市场火爆,从服装到食品,从文具到主题乐园,IP授权分布在各行各业,现在已经成为了品牌跨界融合、提升市场竞争力的重要手段。
2. 形成严密的知识产权壁垒。
当品牌通过IP授权与其他项目建立合作时,有效的知识产权布局显得尤为重要。不仅防止他人在不同行业使用与该品牌相关的标识,还能避免品牌被恶意抢注或滥用,从而维护品牌的稳定性和唯一性。即使未来公司有拓展业务领域的计划,也能够凭借这些已注册的商标,顺利进入新的市场,减少潜在的商标纠纷。


三岁百亿影帝的商标布局
2019年,国产动画电影《哪吒之魔童降世》(下称“《哪吒1》”)横空出世,一举拿下中国票房榜历史总榜第四,给观众带来了一个全新的哪吒形象,更是在电影市场掀起了一阵势不可挡的“风暴”。
2025年,《哪吒之魔童闹海》(下称“《哪吒2》”)在春节档强势归来,开启“高开疯走”模式,截止撰稿日已经突破百亿票房(票房持续增长中),成为中国影史首部票房破100亿元的电影,成为全球影史票房榜第17名,跻身全球动画电影票房榜前三,更是打破了好莱坞电影的垄断局面!!


《哪吒2》破100亿票房海报(图源:网络)

《哪吒2》国际版海报(图源:网络)

商标布局:从“慢半拍”到“快一步”
《哪吒1》在上映之初,出品方或许是对知识产权的不够重视,也或许是没有预料到电影会以黑马之姿取得如此傲人的成绩,因此没有提前对该IP进行知识产权的保护与布局,直到影片上映半个月后,《哪吒1》真正迎来大爆,市场上早已经涌现出了大量“哪吒”IP产品,出品方北京光线影业有限公司这才如梦初醒,回过头来一口气向商标局提交了多达2000个与“哪吒”相关的商标注册申请。

图源:国家知识产权局商标局
有了《哪吒1》的前车之鉴,如今的出品方明显有了提前规划的意识,在《哪吒2》筹备阶段就开启了商标布局规划。

图源:国家知识产权局商标局
在官网查询可见发现,北京光线影业有限公司在2023年6月就已经注册申请了几十件“哪吒之魔童闹海”商标,包括教育娱乐、方便食品、服装鞋帽等多个类别,几乎涵盖全类别,为正式上映后可能的商业合作预留出空间。
知识产权布局与商业创新的平衡
1. 实现IP价值的全方位开发
手握注册商标是IP实现商业化变现的法律基础。近年来消费者更为钟情于差异化、个性化产品,IP授权市场火爆,从服装到食品,从文具到主题乐园,IP授权分布在各行各业,现在已经成为了品牌跨界融合、提升市场竞争力的重要手段。
2. 形成严密的知识产权壁垒。
当品牌通过IP授权与其他项目建立合作时,有效的知识产权布局显得尤为重要。不仅防止他人在不同行业使用与该品牌相关的标识,还能避免品牌被恶意抢注或滥用,从而维护品牌的稳定性和唯一性。即使未来公司有拓展业务领域的计划,也能够凭借这些已注册的商标,顺利进入新的市场,减少潜在的商标纠纷。







其他
04-09 周四











