亚马逊爆款产品--鸟形门铃,藤编灯饰专利维权!跨境卖家速看避雷!
AI设计/3D打印/欧洲市场实战拆解,点击报名
Bird-shaped doorbell 鸟形门铃
律所:Kemet law Group, LLP
品牌介绍
原告Yun Wang是中国人,也是此次维权的鸟形门铃产品的专利所有者,这款手工制作的木质门环形状为啄木鸟,为您的家入口增添了迷人而质朴的气息。不仅可以增加门的装饰性,还可以增强孩子们礼貌地敲门的热情,还可以敲门供亲朋好友参观,增加娱乐性。
这款门铃的安装过程非常简单,无需复杂的工具或专业的安装技能,能够有效节省安装时间和精力。除了其实用功能外,啄木鸟门铃还具有独特的装饰效果,能够为家居入口增添一份别样的风格和视觉享受。












起诉时间:2025/07/03
案件号:25-cv-274
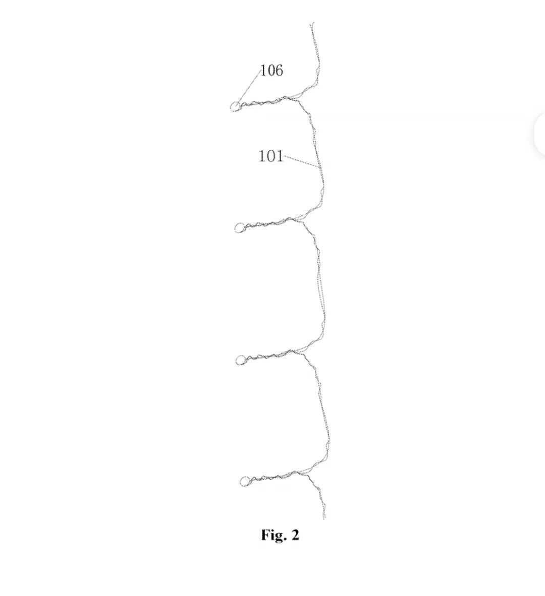
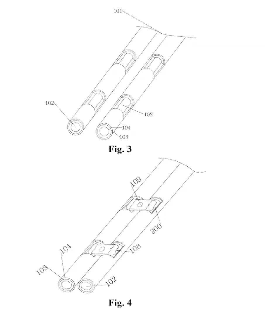
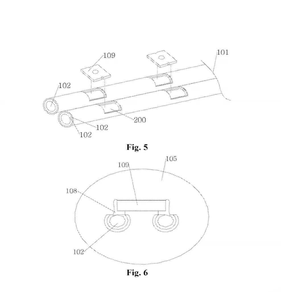
原告品牌:藤编灯饰
品牌方:Shangyou Jiayi Lighting Product Co., Ltd.
律所:Avek Ip, LLC
起诉地:美国得克萨斯州
案件性质:专利侵权
藤编灯饰因其自然环保的风格、在国内外家居市场受到广泛欢迎。其中,由 上犹佳艺照明制品有限公司设计生产的多款藤灯产品,凭借独特的结构设计和手工编织工艺,已成功申请并获得多项专利保护,涵盖外观设计与实用新型领域。








如果美国外观专利被 TRO(临时限制令)认定侵权,可以参考以下建议来应对:
禁令确认阶段(0-48 小时)
: 暂停涉诉产品链接
:立即暂停所有与涉诉产品相关的销售链接,避免继续销售导致侵权损害扩大,进而增加潜在的赔偿责任。 验证专利有效性
:通过专业的跨境侵权排查工具或咨询专业机构,验证原告主张的外观专利权利基础的有效性。例如,仔细比对原告专利图与涉案产品,查看是否存在关键设计差异,以争取抗辩窗口期。 法律响应阶段(3-15 天)
: 委托专业律师
:聘请具备美国联邦法院出庭资质的律师团队。律师能够根据具体情况,从法律角度分析案件走向,制定合理的应对策略,并代表被告与原告进行沟通和谈判。 核查原告权利情况
:重点核查原告是否存在权利滥用嫌疑。例如,确认原告是否未履行《兰哈姆法》第 32 条规定的 “真实使用证据”,若存在此类情况,有可能使 TRO 案件自动撤销。 资金解冻阶段(16-21 天)
: 启动保证金谈判
:与原告或法院进行保证金谈判,尝试通过预存一定比例的争议金额作为担保金,来降低被冻结的账户资金数额,减少资金压力。 优化和解协议
:在律师的指导下,与原告协商和解协议的条款,争取更有利的和解条件。例如,明确和解的范围、后续的产品处理方式以及是否可以继续在一定条件下使用相关设计等。


Bird-shaped doorbell 鸟形门铃
律所:Kemet law Group, LLP
品牌介绍
原告Yun Wang是中国人,也是此次维权的鸟形门铃产品的专利所有者,这款手工制作的木质门环形状为啄木鸟,为您的家入口增添了迷人而质朴的气息。不仅可以增加门的装饰性,还可以增强孩子们礼貌地敲门的热情,还可以敲门供亲朋好友参观,增加娱乐性。
这款门铃的安装过程非常简单,无需复杂的工具或专业的安装技能,能够有效节省安装时间和精力。除了其实用功能外,啄木鸟门铃还具有独特的装饰效果,能够为家居入口增添一份别样的风格和视觉享受。












起诉时间:2025/07/03
案件号:25-cv-274
原告品牌:藤编灯饰
品牌方:Shangyou Jiayi Lighting Product Co., Ltd.
律所:Avek Ip, LLC
起诉地:美国得克萨斯州
案件性质:专利侵权
藤编灯饰因其自然环保的风格、在国内外家居市场受到广泛欢迎。其中,由 上犹佳艺照明制品有限公司设计生产的多款藤灯产品,凭借独特的结构设计和手工编织工艺,已成功申请并获得多项专利保护,涵盖外观设计与实用新型领域。








如果美国外观专利被 TRO(临时限制令)认定侵权,可以参考以下建议来应对:
禁令确认阶段(0-48 小时)
: 暂停涉诉产品链接
:立即暂停所有与涉诉产品相关的销售链接,避免继续销售导致侵权损害扩大,进而增加潜在的赔偿责任。 验证专利有效性
:通过专业的跨境侵权排查工具或咨询专业机构,验证原告主张的外观专利权利基础的有效性。例如,仔细比对原告专利图与涉案产品,查看是否存在关键设计差异,以争取抗辩窗口期。 法律响应阶段(3-15 天)
: 委托专业律师
:聘请具备美国联邦法院出庭资质的律师团队。律师能够根据具体情况,从法律角度分析案件走向,制定合理的应对策略,并代表被告与原告进行沟通和谈判。 核查原告权利情况
:重点核查原告是否存在权利滥用嫌疑。例如,确认原告是否未履行《兰哈姆法》第 32 条规定的 “真实使用证据”,若存在此类情况,有可能使 TRO 案件自动撤销。 资金解冻阶段(16-21 天)
: 启动保证金谈判
:与原告或法院进行保证金谈判,尝试通过预存一定比例的争议金额作为担保金,来降低被冻结的账户资金数额,减少资金压力。 优化和解协议
:在律师的指导下,与原告协商和解协议的条款,争取更有利的和解条件。例如,明确和解的范围、后续的产品处理方式以及是否可以继续在一定条件下使用相关设计等。







其他
04-09 周四











