国人原告专利维权,即将冻结账户放款,这些产品不能再售了!
AI设计/3D打印/欧洲市场实战拆解,点击报名
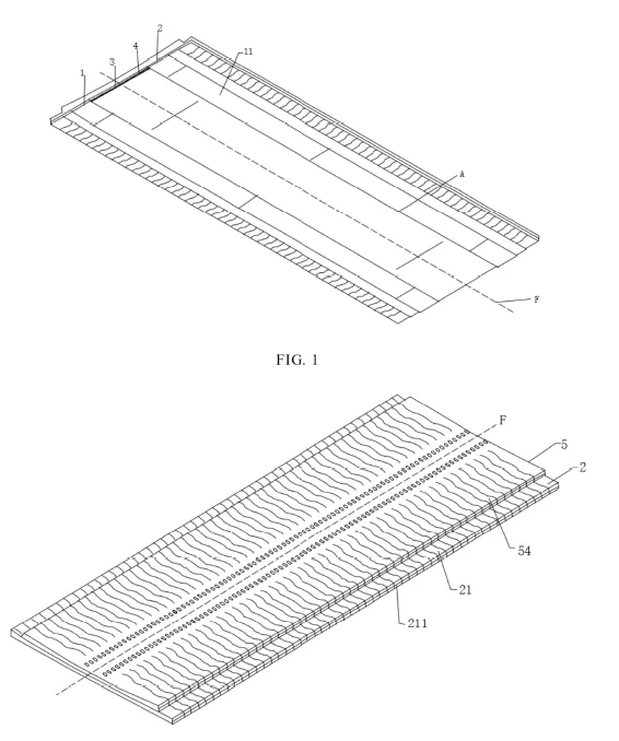
FLOOR CLEANING PAD 地板清洁垫
案件编号:26-cv-439
代理律所:NI, WANG & MASSAND, PLLC
维权产品:FLOOR CLEANING PAD 地板清洁垫
受理法院:佐治亚州
原告 Dongguan Jiajieshi Technology Co., Ltd.是东莞的一家公司,案件涉及两项专利。

发明专利权利要求1:
第一部分清洁区(cleaning area) 与地板接触进行清洁
第二部分吸尘区(dust absorption area) 吸附灰尘
第三部分吸水区(water absorption area) 吸收液体
该专利主要解决了传统地板清洁垫存在的污垢易隐藏在折叠层中、难以彻底清洁、使用寿命短等技术问题。


除了发明专利,原告还申请了外观专利:

BELT BUCKLE 皮带扣
案件编号:26-cv-3368
代理律所:Nitin Kaushik
维权产品:BELT BUCKLE 皮带扣
受理法院:伊利诺伊州
原告Guangzhou Youran Network Technology Co., Ltd.是广州的一家外贸公司,案件涉及以下产品:






STORAGE RACK 玩具收纳架
案件编号:26-cv-3369
代理律所:Nitin Kaushik
维权产品:STORAGE RACK 玩具收纳架
受理法院:伊利诺伊州
Weixing Zeng 是国人原告,专利产品是两款毛绒玩具收纳架:





可折叠烧烤炉
案件编号:26-cv-174
代理律所:Scale LLP
维权产品:可折叠烧烤炉
受理法院:德克萨斯州
原告 Precision Cut Metals LLC 是一家专注于金属加工与户外烧烤设备制造的美国企业,其主打产品Slot Grill 可折叠烧烤架在户外用品市场具有较高知名度。

案件涉及以下版权:



316家店铺被起诉



FLOOR CLEANING PAD 地板清洁垫
案件编号:26-cv-439
代理律所:NI, WANG & MASSAND, PLLC
维权产品:FLOOR CLEANING PAD 地板清洁垫
受理法院:佐治亚州
原告 Dongguan Jiajieshi Technology Co., Ltd.是东莞的一家公司,案件涉及两项专利。

发明专利权利要求1:
第一部分清洁区(cleaning area) 与地板接触进行清洁
第二部分吸尘区(dust absorption area) 吸附灰尘
第三部分吸水区(water absorption area) 吸收液体
该专利主要解决了传统地板清洁垫存在的污垢易隐藏在折叠层中、难以彻底清洁、使用寿命短等技术问题。


除了发明专利,原告还申请了外观专利:

BELT BUCKLE 皮带扣
案件编号:26-cv-3368
代理律所:Nitin Kaushik
维权产品:BELT BUCKLE 皮带扣
受理法院:伊利诺伊州
原告Guangzhou Youran Network Technology Co., Ltd.是广州的一家外贸公司,案件涉及以下产品:






STORAGE RACK 玩具收纳架
案件编号:26-cv-3369
代理律所:Nitin Kaushik
维权产品:STORAGE RACK 玩具收纳架
受理法院:伊利诺伊州
Weixing Zeng 是国人原告,专利产品是两款毛绒玩具收纳架:





可折叠烧烤炉
案件编号:26-cv-174
代理律所:Scale LLP
维权产品:可折叠烧烤炉
受理法院:德克萨斯州
原告 Precision Cut Metals LLC 是一家专注于金属加工与户外烧烤设备制造的美国企业,其主打产品Slot Grill 可折叠烧烤架在户外用品市场具有较高知名度。

案件涉及以下版权:



316家店铺被起诉








其他
04-09 周四











