户外伞绳生存手链防侵权!两分钟看完专利!
Keener律所最新代理品牌又有专利!如今律所已经不再满足商标维权了,纷纷向市场更广的专利进军,这次原告产品是一种适用于户外荒野求生的伞绳编制手链产品,外观看着平平无奇,但已经立案展开维权。

案件参数
案件号:21-cv-5900
起诉时间:2021/11/4
原告公司:Jeagr Ventures, LLC
代理律所:Keener & Associates, P.C.
荒野求生编织手链
这款产品主要适用于一些户外、野外场景,用类似伞绳的绳子编织出一条手链,可以绑定一些装备。目前诉状中没有明确提到是某个品牌,专利相关文件的产品标题显示叫Suvivalist Kermantle。
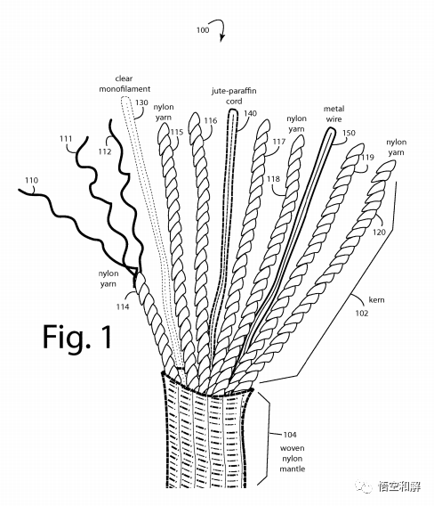
下列为本产品注册的相关专利剖析图:



刊登举例
因为没有明确的品牌,这边只能找一些类似的产品作为例子(不代表图片内的一定侵权)。
由于是专利维权,所以不一定产品一模一样才算构成侵权,这一点需注意:



Keener律所最新代理品牌又有专利!如今律所已经不再满足商标维权了,纷纷向市场更广的专利进军,这次原告产品是一种适用于户外荒野求生的伞绳编制手链产品,外观看着平平无奇,但已经立案展开维权。

案件参数
案件号:21-cv-5900
起诉时间:2021/11/4
原告公司:Jeagr Ventures, LLC
代理律所:Keener & Associates, P.C.
荒野求生编织手链
这款产品主要适用于一些户外、野外场景,用类似伞绳的绳子编织出一条手链,可以绑定一些装备。目前诉状中没有明确提到是某个品牌,专利相关文件的产品标题显示叫Suvivalist Kermantle。
下列为本产品注册的相关专利剖析图:



刊登举例
因为没有明确的品牌,这边只能找一些类似的产品作为例子(不代表图片内的一定侵权)。
由于是专利维权,所以不一定产品一模一样才算构成侵权,这一点需注意:






福建
12-12 周五











