来了来了,侵权小合集!
最近更新时间总是不定,所以就想着每篇文章多写一点东西,那就搞个小合集吧!
这次小合集收纳的产品,一部分是读者们在侵权哥公众号留言比较多的产品,还有一些产品已经有客户付费咨询所以就不方便写出来了;另一部分是这段时间发生了侵权的产品。
修脚工具

这款产品品牌叫SALON STEP,首先它目前没有查到相关的专利注册,不过SALON STEP是TV产品,并且是Allstar的TV产品!
有人可能不太了解Allstar这家公司,这里也不过多讲解,可以查看侵权哥以前发的一篇文章。
传送门:Socket Shelf 被告 于是整理了一份Allstar的侵权产品清单!
Allstar的多款TV产品都已经被律所代理了,这款SALON STEP的侵权风险也就不言而喻。
帽子

这款帽子的侵权点在于帽子背部的开口X形设计,注册了外观:D913645

注册人为Cheveux corp,也就是我们说的帽子界侵权重点关注对象C.C
他们还有几项帽子的专利:




注意!以上并不是C.C全部的专利。
通常我们看到帽子顶部或者背部有个洞的时候,就需要反应过来是不是侵权C.C了。

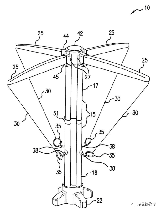
吊环投掷游戏

这个吊环投掷游戏的玩法就是由两名玩家投掷圆环,谁投到挂钩上就可以把圆柱体的目标物向对方移动一格,谁先到达对面就获胜了。
侵权哥查到了一项类似的发明专利:
US35828609 RING TOSS SKILL GAME

该专利描述了一种多人环抛游戏。该游戏包括从支撑架伸出的多个手臂。玩家将被拴在手臂上的戒指或类似物体扔掉,然后尝试将它们钩在钩子上。在特定的实施方式中,该折腾游戏是可折叠的并且使用折叠机构可携带,以将设备从比赛位置转换为存放位置。
这项专利是2009年申请,对比我们的目标产品,虽然玩法一致都是将圆环挂在钩子上,但侵权哥认为这种玩法出现的时间应该早于2009年,专利的设计要点在于:
a.支持2-4人一起玩;b.它的支架是可以折叠便于携带的。
总结来看这项专利是我们目标产品的改良进阶版,侵权哥认为不会侵权这项专利,目前这款产品应该是安全的。
Magic商标侵权
Magic魔术这个词很多人都会忽略掉它的侵权风险,今天提醒大家,Magic在16类办公用品注册了商标,注册人为3M公司。

注册小类包括:胶带和床单,均为文具,并涂有粘合剂;自粘胶带;自粘胶带作为文具产品;塑料或合成纤维胶带;不包括厨房用纸卷,卫生纸,手帕,化妆纸,餐巾纸和湿巾。
注意描述以上产品时不能写Magic!
再顺带科普一下3M公司,3M公司全称明尼苏达矿业及机器制造公司。一般较为常见的3M公司的产品就是3M胶了:

许多人的链接里会不经意的出现3M的logo,这些都是有侵权风险的。
3M公司也是口罩产品的专利大户,特朗普在去年疫情期间因为口罩的事情还控诉过3M,出口的口罩因为侵权3M商标、专利导致被扣的情况也不少。嗯又是一个小细节。

捉迷藏的猫 家居挂件









以上款式版权侵权!


- THE END -
🍁

最近更新时间总是不定,所以就想着每篇文章多写一点东西,那就搞个小合集吧!
这次小合集收纳的产品,一部分是读者们在侵权哥公众号留言比较多的产品,还有一些产品已经有客户付费咨询所以就不方便写出来了;另一部分是这段时间发生了侵权的产品。
修脚工具

这款产品品牌叫SALON STEP,首先它目前没有查到相关的专利注册,不过SALON STEP是TV产品,并且是Allstar的TV产品!
有人可能不太了解Allstar这家公司,这里也不过多讲解,可以查看侵权哥以前发的一篇文章。
传送门:Socket Shelf 被告 于是整理了一份Allstar的侵权产品清单!
Allstar的多款TV产品都已经被律所代理了,这款SALON STEP的侵权风险也就不言而喻。
帽子

这款帽子的侵权点在于帽子背部的开口X形设计,注册了外观:D913645

注册人为Cheveux corp,也就是我们说的帽子界侵权重点关注对象C.C
他们还有几项帽子的专利:




注意!以上并不是C.C全部的专利。
通常我们看到帽子顶部或者背部有个洞的时候,就需要反应过来是不是侵权C.C了。

吊环投掷游戏

这个吊环投掷游戏的玩法就是由两名玩家投掷圆环,谁投到挂钩上就可以把圆柱体的目标物向对方移动一格,谁先到达对面就获胜了。
侵权哥查到了一项类似的发明专利:
US35828609 RING TOSS SKILL GAME

该专利描述了一种多人环抛游戏。该游戏包括从支撑架伸出的多个手臂。玩家将被拴在手臂上的戒指或类似物体扔掉,然后尝试将它们钩在钩子上。在特定的实施方式中,该折腾游戏是可折叠的并且使用折叠机构可携带,以将设备从比赛位置转换为存放位置。
这项专利是2009年申请,对比我们的目标产品,虽然玩法一致都是将圆环挂在钩子上,但侵权哥认为这种玩法出现的时间应该早于2009年,专利的设计要点在于:
a.支持2-4人一起玩;b.它的支架是可以折叠便于携带的。
总结来看这项专利是我们目标产品的改良进阶版,侵权哥认为不会侵权这项专利,目前这款产品应该是安全的。
Magic商标侵权
Magic魔术这个词很多人都会忽略掉它的侵权风险,今天提醒大家,Magic在16类办公用品注册了商标,注册人为3M公司。

注册小类包括:胶带和床单,均为文具,并涂有粘合剂;自粘胶带;自粘胶带作为文具产品;塑料或合成纤维胶带;不包括厨房用纸卷,卫生纸,手帕,化妆纸,餐巾纸和湿巾。
注意描述以上产品时不能写Magic!
再顺带科普一下3M公司,3M公司全称明尼苏达矿业及机器制造公司。一般较为常见的3M公司的产品就是3M胶了:

许多人的链接里会不经意的出现3M的logo,这些都是有侵权风险的。
3M公司也是口罩产品的专利大户,特朗普在去年疫情期间因为口罩的事情还控诉过3M,出口的口罩因为侵权3M商标、专利导致被扣的情况也不少。嗯又是一个小细节。

捉迷藏的猫 家居挂件









以上款式版权侵权!


- THE END -
🍁




福建
12-12 周五











