车载配件产品全都爆雷!品牌方发起TRO!跨境卖家速看避雷!
想系统掌握亚马逊广告的投放逻辑与底层闭环?
律所:Wiggin and Dana LLP
品牌介绍










历史案件

起诉时间:2025/07/03
案件号:25-cv-7709
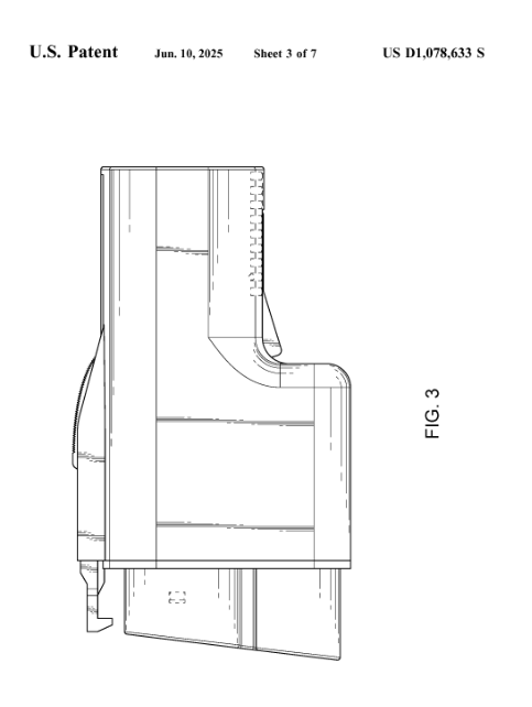
原告品牌:HAT RACK 车载帽架
品牌方:Chengji Hu
律所:Meritas Law
起诉地:美国伊利诺伊州
案件性质:专利侵权
HAT RACK是由设计师Chengji Hu推出的车载帽架系列的产品,他的核心设计在于可拆卸、安装简便的车头枕挂钩式帽架,方便人们将帽子稳固悬挂在车内位置。结合硬质或金属材质,承重可靠,可避免帽子在车内滑落变形,适配多种车型头枕架,满足日常佩戴和收纳需求。









如果美国外观专利被 TRO(临时限制令)认定侵权,可以参考以下建议来应对:
禁令确认阶段(0-48 小时)
: 暂停涉诉产品链接
:立即暂停所有与涉诉产品相关的销售链接,避免继续销售导致侵权损害扩大,进而增加潜在的赔偿责任。 验证专利有效性
:通过专业的跨境侵权排查工具或咨询专业机构,验证原告主张的外观专利权利基础的有效性。例如,仔细比对原告专利图与涉案产品,查看是否存在关键设计差异,以争取抗辩窗口期。 法律响应阶段(3-15 天)
: 委托专业律师
:聘请具备美国联邦法院出庭资质的律师团队。律师能够根据具体情况,从法律角度分析案件走向,制定合理的应对策略,并代表被告与原告进行沟通和谈判。 核查原告权利情况
:重点核查原告是否存在权利滥用嫌疑。例如,确认原告是否未履行《兰哈姆法》第 32 条规定的 “真实使用证据”,若存在此类情况,有可能使 TRO 案件自动撤销。 资金解冻阶段(16-21 天)
: 启动保证金谈判
:与原告或法院进行保证金谈判,尝试通过预存一定比例的争议金额作为担保金,来降低被冻结的账户资金数额,减少资金压力。 优化和解协议
:在律师的指导下,与原告协商和解协议的条款,争取更有利的和解条件。例如,明确和解的范围、后续的产品处理方式以及是否可以继续在一定条件下使用相关设计等。


律所:Wiggin and Dana LLP
品牌介绍










历史案件

起诉时间:2025/07/03
案件号:25-cv-7709
原告品牌:HAT RACK 车载帽架
品牌方:Chengji Hu
律所:Meritas Law
起诉地:美国伊利诺伊州
案件性质:专利侵权
HAT RACK是由设计师Chengji Hu推出的车载帽架系列的产品,他的核心设计在于可拆卸、安装简便的车头枕挂钩式帽架,方便人们将帽子稳固悬挂在车内位置。结合硬质或金属材质,承重可靠,可避免帽子在车内滑落变形,适配多种车型头枕架,满足日常佩戴和收纳需求。









如果美国外观专利被 TRO(临时限制令)认定侵权,可以参考以下建议来应对:
禁令确认阶段(0-48 小时)
: 暂停涉诉产品链接
:立即暂停所有与涉诉产品相关的销售链接,避免继续销售导致侵权损害扩大,进而增加潜在的赔偿责任。 验证专利有效性
:通过专业的跨境侵权排查工具或咨询专业机构,验证原告主张的外观专利权利基础的有效性。例如,仔细比对原告专利图与涉案产品,查看是否存在关键设计差异,以争取抗辩窗口期。 法律响应阶段(3-15 天)
: 委托专业律师
:聘请具备美国联邦法院出庭资质的律师团队。律师能够根据具体情况,从法律角度分析案件走向,制定合理的应对策略,并代表被告与原告进行沟通和谈判。 核查原告权利情况
:重点核查原告是否存在权利滥用嫌疑。例如,确认原告是否未履行《兰哈姆法》第 32 条规定的 “真实使用证据”,若存在此类情况,有可能使 TRO 案件自动撤销。 资金解冻阶段(16-21 天)
: 启动保证金谈判
:与原告或法院进行保证金谈判,尝试通过预存一定比例的争议金额作为担保金,来降低被冻结的账户资金数额,减少资金压力。 优化和解协议
:在律师的指导下,与原告协商和解协议的条款,争取更有利的和解条件。例如,明确和解的范围、后续的产品处理方式以及是否可以继续在一定条件下使用相关设计等。







福建
12-12 周五











