“哪吒2”票房破百亿!这些侵权雷区千万别碰!
,OpenClaw助力亚马逊广告运营提效,点击报名>>>

《哪吒之魔童闹海》一经问世,即是国际顶流之作。短短十几天票房突破百亿,荣获中国影史票房冠军!其商业价值与文化影响力不言而喻。然而,比票房更值得关注的,是这部现象级国漫背后堪称教科书的知识产权布局。麦麦来带大家深度剖析一下!
票房神话背后知产布局
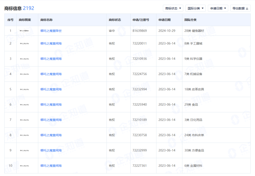
麦麦发现,《哪吒之魔童闹海》(下称“哪吒2”)的出品方成都可可豆、成都自在境界以及光线传媒几家公司,早在去年6月就开启了中国知识产权布局行动。截止目前,围绕“哪吒2”共申请了457件作品著作权、11件外观专利和59件商标,且数量还在持续增加。
申请的商标涉及多个国际分类,“哪吒之魔童闹海”这一商标的申请范围包括教育娱乐、科学仪器、手工器械、方便食品、日化用品等多个类别。

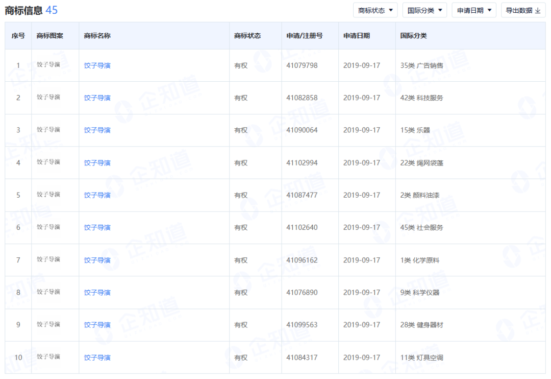
除了针对影片名称进行商标保护,出品方甚至对“饺子导演”也进行了商标的防御性全类别注册,避免被他人恶意抢注影响自己后续继续使用该艺名。

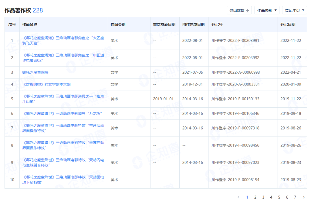
除此之外,电影中出现的大大小小的角色及标志性道具的三维动画、Q版图库及动作设计等多方面也申请了著作权及专利保护!形成立体化IP护城河。
麦麦提醒:切勿忽视哪吒2的侵权风险,任何第三方都禁止在未经授权的情况下售卖相关周边产品,一旦侵权就有被冻结账号甚至封店的风险!


企业知产布局策略
"哪吒2"这波具有前瞻性的知产保护策略,为我们品牌的知产布局树立了榜样。那么,企业该怎么做好知产布局策略呢?
√高度重视知产保护:无论是创作者还是投资者,除了要有知识产权布局的意识,还要认识到知产保护的成本远低于被抢注后维权的成本。
√全链路布局:除了注册自由品牌,哪吒还针对其设计的人物形象进行了外观设计的保护,作品本身也申请了著作权保护。
√市场未动,知产先行: 在品牌、新产品或作品正式公开之前,建议提前规划和布局知识产权,保护自身原创成果。避免公开后的热度和流量吸引一些不法分子恶意“钻漏洞”抢注。
√防御性布局:无论是影视作品、动漫形象,还是企业的品牌logo、产品设计,除了注册核心商标,建议企业根据自身情况,同时注册近似或有关联的商标,实现护城河式保护。
哪吒IP热潮下的侵权问答

看电影时拍照片用于发朋友圈是否涉及侵权?

若在合理使用范围(如评论、研究、教学等非商业用途)内且未进行传播或商业用途的情况下不会构成侵权,该行为不属于对原作品的完整展示,不会导致著作权人对其作品无法正常使用。针对涉及盗摄电影片段且构成对作品的“实质性替代”,即便非营利也可能侵权!

通过AI制作哪吒形象的相关图片或者二次创作在公域平台发布是否涉及侵权?

若AI生成的形象与电影中哪吒相似或一致,存在较高风险!“哪吒2”中的角色形象具有独创性,其线条、色彩、造型等艺术表达受著作权法的保护。其著作权人有权禁止他人未经其许可对该作品的使用,包括开发、传播和销售表现该作品的相关衍生品的行为。若二次创作符合“合理使用”原则,不会构成侵权。但涉及商业用途的话,其侵权情节严重的可能面临侵权诉讼。例如,未经授直接利用哪吒的IP形象用在企业服务或产品的宣传海报上,属于侵权行为。

在亚马逊等平台售卖哪吒相关周边是否涉及侵权?

"哪吒2"已进行了全方位商标布局,未经授权使用电影元素(如角色形象、道具设计)生产衍生品属于商用行为,即使进行“二次创作”,均构成侵权!包括但不限于玩偶、服装、文具、生活用品等商品载体,均存在较大侵权的风险。
"哪吒2"作为知识产权战略布局的标杆范例,其商标保护体系有重要借鉴意义。品牌在追求品质与市占率的同时,绝不能忽视知识产权的布局!麦德通作为拥有具有15年+经验的海外律师团队,其紧密互动的海外事务所、代理机构、资深律师已经覆盖四大洲,220多个国家和地区,一千七百余家律所。如果您有全球商标外观需求可以联系您的专属客户经理咨询,也可以随时联系合规专家~

(咨询联系麦麦)
有用 有品 有料
一个前沿,硬核易懂的跨境知识产权号
关注我,带给你更多惊喜👇👇👇





《哪吒之魔童闹海》一经问世,即是国际顶流之作。短短十几天票房突破百亿,荣获中国影史票房冠军!其商业价值与文化影响力不言而喻。然而,比票房更值得关注的,是这部现象级国漫背后堪称教科书的知识产权布局。麦麦来带大家深度剖析一下!
票房神话背后知产布局
麦麦发现,《哪吒之魔童闹海》(下称“哪吒2”)的出品方成都可可豆、成都自在境界以及光线传媒几家公司,早在去年6月就开启了中国知识产权布局行动。截止目前,围绕“哪吒2”共申请了457件作品著作权、11件外观专利和59件商标,且数量还在持续增加。
申请的商标涉及多个国际分类,“哪吒之魔童闹海”这一商标的申请范围包括教育娱乐、科学仪器、手工器械、方便食品、日化用品等多个类别。

除了针对影片名称进行商标保护,出品方甚至对“饺子导演”也进行了商标的防御性全类别注册,避免被他人恶意抢注影响自己后续继续使用该艺名。

除此之外,电影中出现的大大小小的角色及标志性道具的三维动画、Q版图库及动作设计等多方面也申请了著作权及专利保护!形成立体化IP护城河。
麦麦提醒:切勿忽视哪吒2的侵权风险,任何第三方都禁止在未经授权的情况下售卖相关周边产品,一旦侵权就有被冻结账号甚至封店的风险!


企业知产布局策略
"哪吒2"这波具有前瞻性的知产保护策略,为我们品牌的知产布局树立了榜样。那么,企业该怎么做好知产布局策略呢?
√高度重视知产保护:无论是创作者还是投资者,除了要有知识产权布局的意识,还要认识到知产保护的成本远低于被抢注后维权的成本。
√全链路布局:除了注册自由品牌,哪吒还针对其设计的人物形象进行了外观设计的保护,作品本身也申请了著作权保护。
√市场未动,知产先行: 在品牌、新产品或作品正式公开之前,建议提前规划和布局知识产权,保护自身原创成果。避免公开后的热度和流量吸引一些不法分子恶意“钻漏洞”抢注。
√防御性布局:无论是影视作品、动漫形象,还是企业的品牌logo、产品设计,除了注册核心商标,建议企业根据自身情况,同时注册近似或有关联的商标,实现护城河式保护。
哪吒IP热潮下的侵权问答

看电影时拍照片用于发朋友圈是否涉及侵权?

若在合理使用范围(如评论、研究、教学等非商业用途)内且未进行传播或商业用途的情况下不会构成侵权,该行为不属于对原作品的完整展示,不会导致著作权人对其作品无法正常使用。针对涉及盗摄电影片段且构成对作品的“实质性替代”,即便非营利也可能侵权!

通过AI制作哪吒形象的相关图片或者二次创作在公域平台发布是否涉及侵权?

若AI生成的形象与电影中哪吒相似或一致,存在较高风险!“哪吒2”中的角色形象具有独创性,其线条、色彩、造型等艺术表达受著作权法的保护。其著作权人有权禁止他人未经其许可对该作品的使用,包括开发、传播和销售表现该作品的相关衍生品的行为。若二次创作符合“合理使用”原则,不会构成侵权。但涉及商业用途的话,其侵权情节严重的可能面临侵权诉讼。例如,未经授直接利用哪吒的IP形象用在企业服务或产品的宣传海报上,属于侵权行为。

在亚马逊等平台售卖哪吒相关周边是否涉及侵权?

"哪吒2"已进行了全方位商标布局,未经授权使用电影元素(如角色形象、道具设计)生产衍生品属于商用行为,即使进行“二次创作”,均构成侵权!包括但不限于玩偶、服装、文具、生活用品等商品载体,均存在较大侵权的风险。
"哪吒2"作为知识产权战略布局的标杆范例,其商标保护体系有重要借鉴意义。品牌在追求品质与市占率的同时,绝不能忽视知识产权的布局!麦德通作为拥有具有15年+经验的海外律师团队,其紧密互动的海外事务所、代理机构、资深律师已经覆盖四大洲,220多个国家和地区,一千七百余家律所。如果您有全球商标外观需求可以联系您的专属客户经理咨询,也可以随时联系合规专家~

(咨询联系麦麦)
有用 有品 有料
一个前沿,硬核易懂的跨境知识产权号
关注我,带给你更多惊喜👇👇👇









其他
04-09 周四











