专利到期前“收割”一波?1000+listing危险,外观不同也会踩雷!
AI设计/3D打印/欧洲市场实战拆解,点击报名
汽车座椅缝隙填充条能防止物品掉落汽车座椅缝隙分散驾驶员注意力,保障行车安全,还可阻止灰尘杂物进入,保持车内整洁,是不少消费者会选择的汽配产品。亚马逊美国站上有1000+相关listing,其中不少产品月销过年甚至破万。


汽车座椅缝隙填充条好卖但却藏有不小的专利侵权风险!此前就有产品连发两案起诉美国发明专利侵权,案件号分别为25-cv-12456、25-cv-14271。
涉案专利名称Vehicle gap guard,专利号US7527314B2,于2006年11月6日申请,2009年5月5日授权,预计到期日为2027年3月14日,这是打算在专利到期前狠狠“收割”一波?

目前案件尚在审理中,经积特专利代理人的专业剖析,发现该专利保护范围较大,容易踩雷,建议有销售汽车座椅缝隙填充条的卖家做好排查比对,若有不妥抓紧应对,以免被起诉冻结。
在发明专利中,独立权利要求保护范围最大,从属权利要求是对独立权利要求的进一步限定或补充。因此,需着重关注独立权利要求的保护范围,只要销售的产品落入了独立权利要求的保护范围,哪怕是改变了产品外观,仍然有侵权可能。
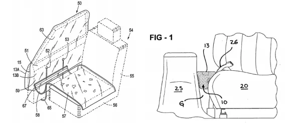
US7527314B2含2项独立、17项从属权利要求,我们选取了权利要求1进行分析:


▶技术背景
大多数车辆采用的标准框架结构,通常会在座椅最外侧部分与车辆内相邻车门或扶手箱之间产生间隙。当乘客坐在汽车座椅上时,零钱、收据等小物件常会从座椅侧靠与扶手箱之间滑落,若车内人员不慎掉落笔、铅笔、手机等手持物品,必须立即停车寻找遗失物品;若在行驶过程中尝试寻找,可能引发严重安全隐患。
▶现有技术
解决上述问题的方案,比本专利更早公开的专利,有增设固定到车门的坐垫的,也有增设Y形或倒梯形阻隔物的,但使用时也有不便。

▶有益效果
相较于已过期专利中的方案,本专利的防护装置可与座椅同步移动,从而确保防护装置与座椅和扶手箱之间的空间完美贴合。
▶核心技术点及其范围
如果产品的环绕座椅的边缘设有允许安全带穿过的切口,并且有例如魔术贴、粘合剂、螺钉或摩擦固定等附接到座椅的附接装置,顶部有接纳掉落物品的隔间,则落入专利保护范围。
▶规避建议
观察发现,市面上有不少“环绕座椅边缘设有允许安全带穿过的切口、顶部有接纳掉落物品的隔间”的产品在售。另外,以该专利发案维权的原告品牌产品与同类产品区别不大,光是以此进行简单对比,都能“干倒”大批产品,卖家务必要做好排查,确认自己产品是否有侵权风险。



汽车座椅缝隙填充条能防止物品掉落汽车座椅缝隙分散驾驶员注意力,保障行车安全,还可阻止灰尘杂物进入,保持车内整洁,是不少消费者会选择的汽配产品。亚马逊美国站上有1000+相关listing,其中不少产品月销过年甚至破万。


汽车座椅缝隙填充条好卖但却藏有不小的专利侵权风险!此前就有产品连发两案起诉美国发明专利侵权,案件号分别为25-cv-12456、25-cv-14271。
涉案专利名称Vehicle gap guard,专利号US7527314B2,于2006年11月6日申请,2009年5月5日授权,预计到期日为2027年3月14日,这是打算在专利到期前狠狠“收割”一波?

目前案件尚在审理中,经积特专利代理人的专业剖析,发现该专利保护范围较大,容易踩雷,建议有销售汽车座椅缝隙填充条的卖家做好排查比对,若有不妥抓紧应对,以免被起诉冻结。
在发明专利中,独立权利要求保护范围最大,从属权利要求是对独立权利要求的进一步限定或补充。因此,需着重关注独立权利要求的保护范围,只要销售的产品落入了独立权利要求的保护范围,哪怕是改变了产品外观,仍然有侵权可能。
US7527314B2含2项独立、17项从属权利要求,我们选取了权利要求1进行分析:


▶技术背景
大多数车辆采用的标准框架结构,通常会在座椅最外侧部分与车辆内相邻车门或扶手箱之间产生间隙。当乘客坐在汽车座椅上时,零钱、收据等小物件常会从座椅侧靠与扶手箱之间滑落,若车内人员不慎掉落笔、铅笔、手机等手持物品,必须立即停车寻找遗失物品;若在行驶过程中尝试寻找,可能引发严重安全隐患。
▶现有技术
解决上述问题的方案,比本专利更早公开的专利,有增设固定到车门的坐垫的,也有增设Y形或倒梯形阻隔物的,但使用时也有不便。

▶有益效果
相较于已过期专利中的方案,本专利的防护装置可与座椅同步移动,从而确保防护装置与座椅和扶手箱之间的空间完美贴合。
▶核心技术点及其范围
如果产品的环绕座椅的边缘设有允许安全带穿过的切口,并且有例如魔术贴、粘合剂、螺钉或摩擦固定等附接到座椅的附接装置,顶部有接纳掉落物品的隔间,则落入专利保护范围。
▶规避建议
观察发现,市面上有不少“环绕座椅边缘设有允许安全带穿过的切口、顶部有接纳掉落物品的隔间”的产品在售。另外,以该专利发案维权的原告品牌产品与同类产品区别不大,光是以此进行简单对比,都能“干倒”大批产品,卖家务必要做好排查,确认自己产品是否有侵权风险。








其他
04-09 周四











