精选10款9月9日最新下证常见产品美国外观专利,警惕侵权!
,OpenClaw助力亚马逊广告运营提效,点击报名>>>
一、专利名称:Organizer container(整理箱)
专利证书编号:D1092057
专利申请日期:2023-08-14
专利下证日期:2025年9月9日

二、专利名称:Toilet brush(马桶刷)
专利证书编号:D1092068
专利申请日期:2023-02-06
专利下证日期:2025年9月9日

三、专利名称:Hanger(衣架)
专利证书编号:D1092071
专利申请日期:2022-11-28
专利下证日期:2025年9月9日

四、专利名称:Tissue box(纸巾盒)
专利证书编号:D109208471
专利申请日期:2022-11-28
专利下证日期:2025年9月9日

五、专利名称:Neck roll pillow(颈卷枕)
专利证书编号:D1092096
专利申请日期:2024-03-25
专利下证日期:2025年9月9日

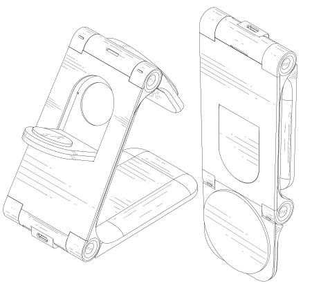
六、专利名称:Wireless charger(无线充电器)
专利证书编号:D1092387
专利申请日期:2023-05-18
专利下证日期:2025年9月9日

七、专利名称:Loudspeaker box(音箱)
专利证书编号:D1092441
专利申请日期:2023-09-07
专利下证日期:2025年9月9日

八、专利名称:Swimming pool(充气泳池)
专利证书编号:D1092663
专利申请日期:2024-06-07
专利下证日期:2025年9月9日

九、专利名称:Fan(风扇)
专利证书编号:D1092711
专利申请日期:2024-04-01
专利下证日期:2025年9月9日

十、专利名称:Frame for a cart(推车框架)
专利证书编号:D1092711
专利申请日期:2024-05-16
专利下证日期:2025年9月9日

以上产品都是日常生活中较为常见的,也是跨境电商的卖家们在选品时会首要考虑的。
目前亚马逊平台中,都或多或少存在着许多与上述所列举产品相似且不同品牌的产品,因此存在很高的侵权风险。
在这里需要提醒同样销售类似产品的卖家,定期排查商品特征,警惕侵权风险!注意规避侵权特征,及时下架侵权产品。


一、专利名称:Organizer container(整理箱)
专利证书编号:D1092057
专利申请日期:2023-08-14
专利下证日期:2025年9月9日

二、专利名称:Toilet brush(马桶刷)
专利证书编号:D1092068
专利申请日期:2023-02-06
专利下证日期:2025年9月9日

三、专利名称:Hanger(衣架)
专利证书编号:D1092071
专利申请日期:2022-11-28
专利下证日期:2025年9月9日

四、专利名称:Tissue box(纸巾盒)
专利证书编号:D109208471
专利申请日期:2022-11-28
专利下证日期:2025年9月9日

五、专利名称:Neck roll pillow(颈卷枕)
专利证书编号:D1092096
专利申请日期:2024-03-25
专利下证日期:2025年9月9日

六、专利名称:Wireless charger(无线充电器)
专利证书编号:D1092387
专利申请日期:2023-05-18
专利下证日期:2025年9月9日

七、专利名称:Loudspeaker box(音箱)
专利证书编号:D1092441
专利申请日期:2023-09-07
专利下证日期:2025年9月9日

八、专利名称:Swimming pool(充气泳池)
专利证书编号:D1092663
专利申请日期:2024-06-07
专利下证日期:2025年9月9日

九、专利名称:Fan(风扇)
专利证书编号:D1092711
专利申请日期:2024-04-01
专利下证日期:2025年9月9日

十、专利名称:Frame for a cart(推车框架)
专利证书编号:D1092711
专利申请日期:2024-05-16
专利下证日期:2025年9月9日

以上产品都是日常生活中较为常见的,也是跨境电商的卖家们在选品时会首要考虑的。
目前亚马逊平台中,都或多或少存在着许多与上述所列举产品相似且不同品牌的产品,因此存在很高的侵权风险。
在这里需要提醒同样销售类似产品的卖家,定期排查商品特征,警惕侵权风险!注意规避侵权特征,及时下架侵权产品。







其他
04-09 周四











