干货!一篇文章让您读懂德国WEEE
什么是德国WEEE
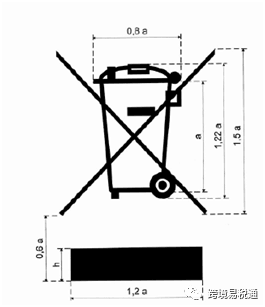
德国的电器与电子设备废料 (WEEE) 管理机构是 Stiftung EAR(EAR 基金会 - http://www.stiftung-ear.de) WEEE指的是报废电子电气设备回收指令,WEEE即Waste Electrical and Electronic Equipment(WEEE) Directive (2012/19/EU)。 指令的目的是预防电子废弃物的发生,增加报废电子电气设备的回收和再利用率,减少资源浪费,保护自然环境。 欧盟国家法律规定,要求亚马逊、速卖通、eBay等有义务通知在平台销售的境外电商注册电子设备回收。 生产商的定义: 除了指令中的定义之外,如果您在德国销售商品且公司不在德国境内,您就会被视为您配送到德国的电器与电子设备商品的生产商。即使这些商品带有制造商的品牌且制造商已在 EAR 基金会注册,您还是会被视为配送到德国的电器与电子设备商品的生产商。 不注册WEEE的后果: 平台下架; 货物在海关扣留并销毁; 竞争对手举报涉及法律纠纷; 来自监管部门至10万欧元罚款甚至2年监狱惩罚。 WEEE注册需要哪些资料: 合规信息表(我司代填); 带Logo的产品图片和说明书; 营业执照扫描件。 WEEE 文件的样本如图: WEEE的注册和申报流程: WEEE 的合规要求: 1997 年 5 月 20 日欧洲议会和理事会指令 97/7/EC。 合规注册管理机构EAR注册获得独有WEEE号,卖家需要平台上体现WEEE号,产品上标识WEEE logo, 每个月申报投入市场数量委托服务商履行回收义务。德国WEEE的合规无需回溯,发货前需要完成EAR注册(大功耗电器如冰箱,洗衣机等必须标注能耗等级)。 WEEE电气和电子设备生产者或其授权代表负有以下义务: 易于拆卸的生产设计的义务。 有义务定期向德国 WEEE 当局报告(月度销售、回收报告和年度回收报告)。 WEEE的回收要求: WEEE 的收集和回收。 为没有德国子公司的组织任命授权代表。 为 B2C 产品的生产商提供所谓的破产保护担保。 此外,电子设备销售或仓库面积超过 400 平方米的分销商和远程卖家必须从消费者那里免费收回 WEEE。 简单的说,卖家从买家处回收所有线上卖家都必须为买家提供废旧电器与电子设备商品回收服务: 小型废旧设备(各外部尺寸均小于 25 cm): 即使买家的设备购买自其他卖家,或者设备类型不在卖家提供的商品范围内,卖家也必须回收此类商品(“0:1 回收”)。 所有其他设备: 卖家只需要从向其购买类似新设备的买家手中回收旧设备(“1:1 回收”)。 0:1 和 1:1 回收义务只适用于为了存放/销售电器与电子设备商品而在德国的一个地点拥有或使用的销售面积超过 400 平方米的卖家。 具有回收义务的所有卖家都必须: 向 EAR 基金会注册自己的回收系统(提供自己的名称、地址和回收系统的详细信息);并且 每年向 EAR 基金会报告一次回收和再循环或者运输到成员国/地区外部的电器与电子设备商品的数量。 WEEE要求产品上标识如下: 亚马逊对德国WEEE的合规要求: 电气和电子设备 (EEE) – 自 2023 年 1 月 1 日起,适用于电气和电子设备类的所有商品。 电气和电子设备:WEEE-Reg.-Nr.DE可作为您符合要求的证明。 德国WEEE授权代表制要求: 根据德国电气和电子设备法(ElektroG=德国 WEEE 转换),自 2015 年 10 月 24 日起,在德国没有分支机构的生产商不能再向 Foundation EAR(=德国 WEEE 注册委员会)注册或继续注册。 在德国没有分支机构但已经注册的相关生产商需要重新注册。这包括指定驻德国的授权代表,并通知票据交换所 Foundation EAR 作为主管当局。 简单的说海外买家必须制定EAR授权的德国本地代表来完成WEEE的注册和后期合规维护。 那么如何确定你的产品注册成功呢: 登录WEEE官网查询: https://www.ear-system.de/ear-verzeichnis/hersteller#no-back 卖家常见问题: 1. 工厂注册了,我是不是不用注册了? 答:需要,法规要求“生产者”负有合规责任,即最后一道分销。 2.是否可以通过关系找机构下证快些? 答:不能,EAR一视同仁。 3.几个店铺卖一个品牌,可否只注册一个WEEE号? 答:不能,几个店铺就需要注册几个WEEE。 4.WEEE的检测证书是不是WEEE证书? 答:不是,WEEE检测证书是检测单个产品的回收率。 5.申报的重量是不是越多越好? 答:如实申报,WEEE第4/5/6类每年申报的吨数为20吨。 2022年新政会出台更严格方案 目前德国 ElektroG 目前正在修改中,新版本预计将于 2022 年生效。 这些是制造商和贸易商最重要的修改: 将食品零售商纳入回收旧电器的义务,前提是他们拥有超过 800 平方米的商店空间并每年提供多次电器。(从 01.07.2022 开始) 将引入在线市场和履行服务提供商在 stiftung ear 注册方面的审计义务。(从 01.01.2023 开始) 必须可以使用市售工具在没有任何问题和不破坏它们的情况下取出用过的电池和蓄电池。 生产商放置在公共废物管理机构的容器尺寸必须从 30 立方米减少到 20 立方米。 新的报告义务: 德国境外二手设备的单独数量报告。 在德国境外进行远程销售时,授权代表的详细信息。 通过使从德国出口的电器再次在德国市场上销售来扩展“投放市场”一词。 具体新政出台,我们将及时为您更新请及时查阅。





什么是德国WEEE
德国的电器与电子设备废料 (WEEE) 管理机构是 Stiftung EAR(EAR 基金会 - http://www.stiftung-ear.de) WEEE指的是报废电子电气设备回收指令,WEEE即Waste Electrical and Electronic Equipment(WEEE) Directive (2012/19/EU)。 指令的目的是预防电子废弃物的发生,增加报废电子电气设备的回收和再利用率,减少资源浪费,保护自然环境。 欧盟国家法律规定,要求亚马逊、速卖通、eBay等有义务通知在平台销售的境外电商注册电子设备回收。 生产商的定义: 除了指令中的定义之外,如果您在德国销售商品且公司不在德国境内,您就会被视为您配送到德国的电器与电子设备商品的生产商。即使这些商品带有制造商的品牌且制造商已在 EAR 基金会注册,您还是会被视为配送到德国的电器与电子设备商品的生产商。 不注册WEEE的后果: 平台下架; 货物在海关扣留并销毁; 竞争对手举报涉及法律纠纷; 来自监管部门至10万欧元罚款甚至2年监狱惩罚。 WEEE注册需要哪些资料: 合规信息表(我司代填); 带Logo的产品图片和说明书; 营业执照扫描件。 WEEE 文件的样本如图: WEEE的注册和申报流程: WEEE 的合规要求: 1997 年 5 月 20 日欧洲议会和理事会指令 97/7/EC。 合规注册管理机构EAR注册获得独有WEEE号,卖家需要平台上体现WEEE号,产品上标识WEEE logo, 每个月申报投入市场数量委托服务商履行回收义务。德国WEEE的合规无需回溯,发货前需要完成EAR注册(大功耗电器如冰箱,洗衣机等必须标注能耗等级)。 WEEE电气和电子设备生产者或其授权代表负有以下义务: 易于拆卸的生产设计的义务。 有义务定期向德国 WEEE 当局报告(月度销售、回收报告和年度回收报告)。 WEEE的回收要求: WEEE 的收集和回收。 为没有德国子公司的组织任命授权代表。 为 B2C 产品的生产商提供所谓的破产保护担保。 此外,电子设备销售或仓库面积超过 400 平方米的分销商和远程卖家必须从消费者那里免费收回 WEEE。 简单的说,卖家从买家处回收所有线上卖家都必须为买家提供废旧电器与电子设备商品回收服务: 小型废旧设备(各外部尺寸均小于 25 cm): 即使买家的设备购买自其他卖家,或者设备类型不在卖家提供的商品范围内,卖家也必须回收此类商品(“0:1 回收”)。 所有其他设备: 卖家只需要从向其购买类似新设备的买家手中回收旧设备(“1:1 回收”)。 0:1 和 1:1 回收义务只适用于为了存放/销售电器与电子设备商品而在德国的一个地点拥有或使用的销售面积超过 400 平方米的卖家。 具有回收义务的所有卖家都必须: 向 EAR 基金会注册自己的回收系统(提供自己的名称、地址和回收系统的详细信息);并且 每年向 EAR 基金会报告一次回收和再循环或者运输到成员国/地区外部的电器与电子设备商品的数量。 WEEE要求产品上标识如下: 亚马逊对德国WEEE的合规要求: 电气和电子设备 (EEE) – 自 2023 年 1 月 1 日起,适用于电气和电子设备类的所有商品。 电气和电子设备:WEEE-Reg.-Nr.DE可作为您符合要求的证明。 德国WEEE授权代表制要求: 根据德国电气和电子设备法(ElektroG=德国 WEEE 转换),自 2015 年 10 月 24 日起,在德国没有分支机构的生产商不能再向 Foundation EAR(=德国 WEEE 注册委员会)注册或继续注册。 在德国没有分支机构但已经注册的相关生产商需要重新注册。这包括指定驻德国的授权代表,并通知票据交换所 Foundation EAR 作为主管当局。 简单的说海外买家必须制定EAR授权的德国本地代表来完成WEEE的注册和后期合规维护。 那么如何确定你的产品注册成功呢: 登录WEEE官网查询: https://www.ear-system.de/ear-verzeichnis/hersteller#no-back 卖家常见问题: 1. 工厂注册了,我是不是不用注册了? 答:需要,法规要求“生产者”负有合规责任,即最后一道分销。 2.是否可以通过关系找机构下证快些? 答:不能,EAR一视同仁。 3.几个店铺卖一个品牌,可否只注册一个WEEE号? 答:不能,几个店铺就需要注册几个WEEE。 4.WEEE的检测证书是不是WEEE证书? 答:不是,WEEE检测证书是检测单个产品的回收率。 5.申报的重量是不是越多越好? 答:如实申报,WEEE第4/5/6类每年申报的吨数为20吨。 2022年新政会出台更严格方案 目前德国 ElektroG 目前正在修改中,新版本预计将于 2022 年生效。 这些是制造商和贸易商最重要的修改: 将食品零售商纳入回收旧电器的义务,前提是他们拥有超过 800 平方米的商店空间并每年提供多次电器。(从 01.07.2022 开始) 将引入在线市场和履行服务提供商在 stiftung ear 注册方面的审计义务。(从 01.01.2023 开始) 必须可以使用市售工具在没有任何问题和不破坏它们的情况下取出用过的电池和蓄电池。 生产商放置在公共废物管理机构的容器尺寸必须从 30 立方米减少到 20 立方米。 新的报告义务: 德国境外二手设备的单独数量报告。 在德国境外进行远程销售时,授权代表的详细信息。 通过使从德国出口的电器再次在德国市场上销售来扩展“投放市场”一词。 具体新政出台,我们将及时为您更新请及时查阅。









福建
12-12 周五











