紧急:多款亚马逊热销产品发起专利维权!TRO已发起
AI设计/3D打印/欧洲市场实战拆解,点击报名
DOOR HANGER ORGANIZER 门挂整理器
立案时间:2024-12-16
案件编号:24-cv-12867
原告公司:Honeyera LLC
代理律所: David
维权类型:外观专利
原告是国人卖家,旗下有一款“DOOR HANGER ORGANIZER ”的外观专利。

本案为外观专利维权,涉案专利编号为USD1023613:

刊登举例:

TRAY TABLE 托盘桌
立案时间:2024-8-16
案件编号:24-cv-07649
原告公司:Shenzhen Super Top Innovation Technology Limited, Shenzhe(CN)
代理律所: Concordsage
维权类型:专利
便携式沙发扶手桌是一款集实用性与创新性于一体的家居好物,巧妙地将沙发扶手与托盘桌融为一体,不仅美观大方,且有效提升了沙发区域的功能性。

本次涉案专利分别涉及一项发明专利和一项外观专利,涉案内容如下:


刊登举例:

柔性LED灯条
立案时间:2024-11-22
案件编号:24-cv-1601
原告公司:LKRB Industries, LLC
代理律所: JOHN A. SCHWAB, ATTORNEY AT LAW, LLC
维权类型:专利
原告LKRB Industries, LLC是一家位于爱达荷州的有限责任公司,HGP LED Strip灯条是该公司旗下一款功能多样且实用的照明产品。

本案为发明专利维权,涉案专利编号为US8789988B2:


刊登举例:

Backpack 背包
立案时间:2024-12-17
案件编号:24-cv-12944
原告公司:Dongguan Deego Trading Co., Ltd.
代理律所:Getech
维权类型:外观专利
原告Dongguan Deego 为国内企业,该公司主要生产背包、电脑包、旅行包、公文包、书包等产品。
本案涉及专利维权,由于原告尚未公开维权文件,但查询到原告旗下持有以下三款背包的外观专利:



刊登举例:

温馨提示:侵权案件不只有和解这一个解决方案。如果有大额冻结案件,切勿盲目和解


DOOR HANGER ORGANIZER 门挂整理器
立案时间:2024-12-16
案件编号:24-cv-12867
原告公司:Honeyera LLC
代理律所: David
维权类型:外观专利
原告是国人卖家,旗下有一款“DOOR HANGER ORGANIZER ”的外观专利。

本案为外观专利维权,涉案专利编号为USD1023613:

刊登举例:

TRAY TABLE 托盘桌
立案时间:2024-8-16
案件编号:24-cv-07649
原告公司:Shenzhen Super Top Innovation Technology Limited, Shenzhe(CN)
代理律所: Concordsage
维权类型:专利
便携式沙发扶手桌是一款集实用性与创新性于一体的家居好物,巧妙地将沙发扶手与托盘桌融为一体,不仅美观大方,且有效提升了沙发区域的功能性。

本次涉案专利分别涉及一项发明专利和一项外观专利,涉案内容如下:


刊登举例:

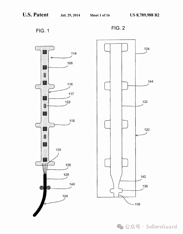
柔性LED灯条
立案时间:2024-11-22
案件编号:24-cv-1601
原告公司:LKRB Industries, LLC
代理律所: JOHN A. SCHWAB, ATTORNEY AT LAW, LLC
维权类型:专利
原告LKRB Industries, LLC是一家位于爱达荷州的有限责任公司,HGP LED Strip灯条是该公司旗下一款功能多样且实用的照明产品。

本案为发明专利维权,涉案专利编号为US8789988B2:


刊登举例:

Backpack 背包
立案时间:2024-12-17
案件编号:24-cv-12944
原告公司:Dongguan Deego Trading Co., Ltd.
代理律所:Getech
维权类型:外观专利
原告Dongguan Deego 为国内企业,该公司主要生产背包、电脑包、旅行包、公文包、书包等产品。
本案涉及专利维权,由于原告尚未公开维权文件,但查询到原告旗下持有以下三款背包的外观专利:



刊登举例:

温馨提示:侵权案件不只有和解这一个解决方案。如果有大额冻结案件,切勿盲目和解







其他
04-09 周四











