冰沙机今年下证、维权一条龙,已有卖家中伏!
Wayfair官方经理解码定价运营策略,拆解亿级大卖0-1运营实战全路径!点击获取>>>
01
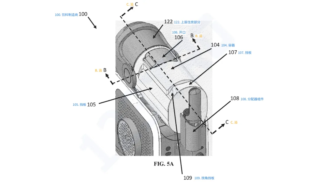
Ninja 家用冰沙机

涉案专利
这次原告一共维权2个专利:US 12,285,028冰沙机发明专利、US D1,091,236外观专利
US 12,285,028的专利保护范围包括:
1.冰沙机的混合容器及冰沙机整体;
2.混合容器有至少一处非对称壁,还得有内置挡板;
3.侧边、前部、角落的挡板功能:让冰沙在容器里顺畅转圈、流动,不粘壁、不堵塞、不浪费冰沙
4.容器内部可呈部分椭圆形截面,能适配旋转的搅拌器(可拆卸)




点击可查看大图


点击可查看大图
侵权证据-发明专利
原告在起诉书中表示部分产品的起诉原因:
被告产品的侧面挡板功能和上述的保护范围第2点相符,构成侵权

侵权证据-外观专利

02
内置音箱的运动垫
涉案专利
涉案专利US8,506,455属于发明专利,其专利保护范围是:
1.适合运动的柔性垫体;
2.至少一个内置的扬声器;
3.能接外部音频源的接口,还能把音频放大后从扬声器放出来,有的还带通话功能


点击可查看大图
03
Licwshi 照明品牌、MOONOON 招牌制作

涉案商标


点击可查看大图
04
MAVERICK 自行车装备品牌

疑似涉案商标
这两个商标的服务范围都是第12类(自行车;自行车零部件,具体包括车架、前叉、座杆、座椅、车把和车轮)


高危链接



01
Ninja 家用冰沙机

涉案专利
这次原告一共维权2个专利:US 12,285,028冰沙机发明专利、US D1,091,236外观专利
US 12,285,028的专利保护范围包括:
1.冰沙机的混合容器及冰沙机整体;
2.混合容器有至少一处非对称壁,还得有内置挡板;
3.侧边、前部、角落的挡板功能:让冰沙在容器里顺畅转圈、流动,不粘壁、不堵塞、不浪费冰沙
4.容器内部可呈部分椭圆形截面,能适配旋转的搅拌器(可拆卸)




点击可查看大图


点击可查看大图
侵权证据-发明专利
原告在起诉书中表示部分产品的起诉原因:
被告产品的侧面挡板功能和上述的保护范围第2点相符,构成侵权

侵权证据-外观专利

02
内置音箱的运动垫
涉案专利
涉案专利US8,506,455属于发明专利,其专利保护范围是:
1.适合运动的柔性垫体;
2.至少一个内置的扬声器;
3.能接外部音频源的接口,还能把音频放大后从扬声器放出来,有的还带通话功能


点击可查看大图
03
Licwshi 照明品牌、MOONOON 招牌制作

涉案商标


点击可查看大图
04
MAVERICK 自行车装备品牌

疑似涉案商标
这两个商标的服务范围都是第12类(自行车;自行车零部件,具体包括车架、前叉、座杆、座椅、车把和车轮)


高危链接








其他
04-09 周四











