新案不断!版权专利全高危,稍不留神就踩雷!
平台新政&爆款打造及差异化布局攻略揭秘,手把手教你进军巴西>>>
知识产权维权没有国界
一旦构成侵权
权利人随时发起诉讼追责
案件号:26-cv-00007
立案时间:2026年1月5日
原告:Marta Rodriguez Veiga
原告官网:https://www.etsy.com/
代理律所:Keith
原告热爱在她那间阳光充足的工作室里工作,她在这里创作原创画作和版画,也设计制作包含其艺术元素的珠宝、礼品、枕头及其他产品。

维权的版权
▼

案件号:26-cv-00090
立案时间:2025年1月5日
原告:She***o., Ltd.
代理律所:Bayramoglu Law Offices LLC
电动威士忌烟熏器可快速为酒液注入浓郁的烟熏风味,全程无需改变酒液温度,从而完好保留威士忌的原始风味。套装底部嵌有LED灯,并配有闪烁模式,为整个烟熏过程增添了独特的视觉趣味。

维权的专利
▼

点击查看大图






















电动威士忌烟熏器的权利要求1
主要保护特征如下
1. 结构组成
烟熏器主体;
管道(具有燃烧室,内壁设有至少一个出烟口);
底座(与主体可拆卸组装,共同夹持管道)。
2.烟熏器主体的具体结构
外壳(包括壳体和底盖);
底盖上设有进气孔;
隔热盖(位于底盖远离外壳的一侧,用于打开/关闭燃烧室,设有进气口);
自动点火器(点火针穿过底盖并置于进气口中,与进气口侧壁之间有间隙,点火针延伸至燃烧室)。
功能特征
点火针用于点燃燃烧室内的燃烧介质;
进气口与燃烧室连通,空气可进入促进燃烧。
聚德工程师规避设计思路
1.调整点火方式
将点火针位置移至燃烧室内部(如侧壁或顶部)
或改为底部/侧部点火,取消依靠进气气流的“上风点火”设计
也可采用电热丝、红外等不依赖特定气流的外部点火方式。
2.改变燃烧与进气结构
取消“进气口内置点火针”的组合设计,改用预混气点火或催化燃烧;
或调整出烟口位置,使其避免与进气口在投影上重叠,从而改变快速排烟路径。
案件号:26-cv-00007
立案时间:2026年1月3日
原告:J****ng
代理律所:Stratum Law LLC
这是一款通用屋顶梯子稳定器。采用锻钢结构和防滑橡胶垫,通过四点支撑适配各类梯子。作业时能有效保护屋檐瓦片,并大幅增强梯子稳定性,保障清洁排水沟、维修屋顶等高工作的安全。

维权的专利
▼

点击查看大图








通常,平台方在案件立案后大约半个月会收到原告的TRO邮件,但具体时间仍以原告方提交进度为准。在此期间,请务必仔细查收您的邮箱,包括垃圾邮件,避免遗漏关键通知。
自您收到正式侵权通知之日起,将进入一个为期21天的黄金处理窗口。在此阶段主动介入和解谈判,最有可能达成相对有利的赔偿金。若错过这一时机,随着案件程序推进,谈判空间将不断被收窄;若案件进入缺席判决阶段,则将陷入极为被动的局面。


知识产权维权没有国界
一旦构成侵权
权利人随时发起诉讼追责
案件号:26-cv-00007
立案时间:2026年1月5日
原告:Marta Rodriguez Veiga
原告官网:https://www.etsy.com/
代理律所:Keith
原告热爱在她那间阳光充足的工作室里工作,她在这里创作原创画作和版画,也设计制作包含其艺术元素的珠宝、礼品、枕头及其他产品。

维权的版权
▼

案件号:26-cv-00090
立案时间:2025年1月5日
原告:She***o., Ltd.
代理律所:Bayramoglu Law Offices LLC
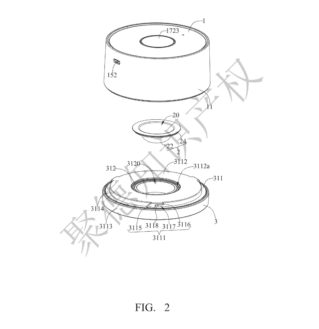
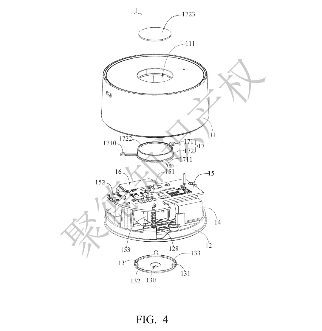
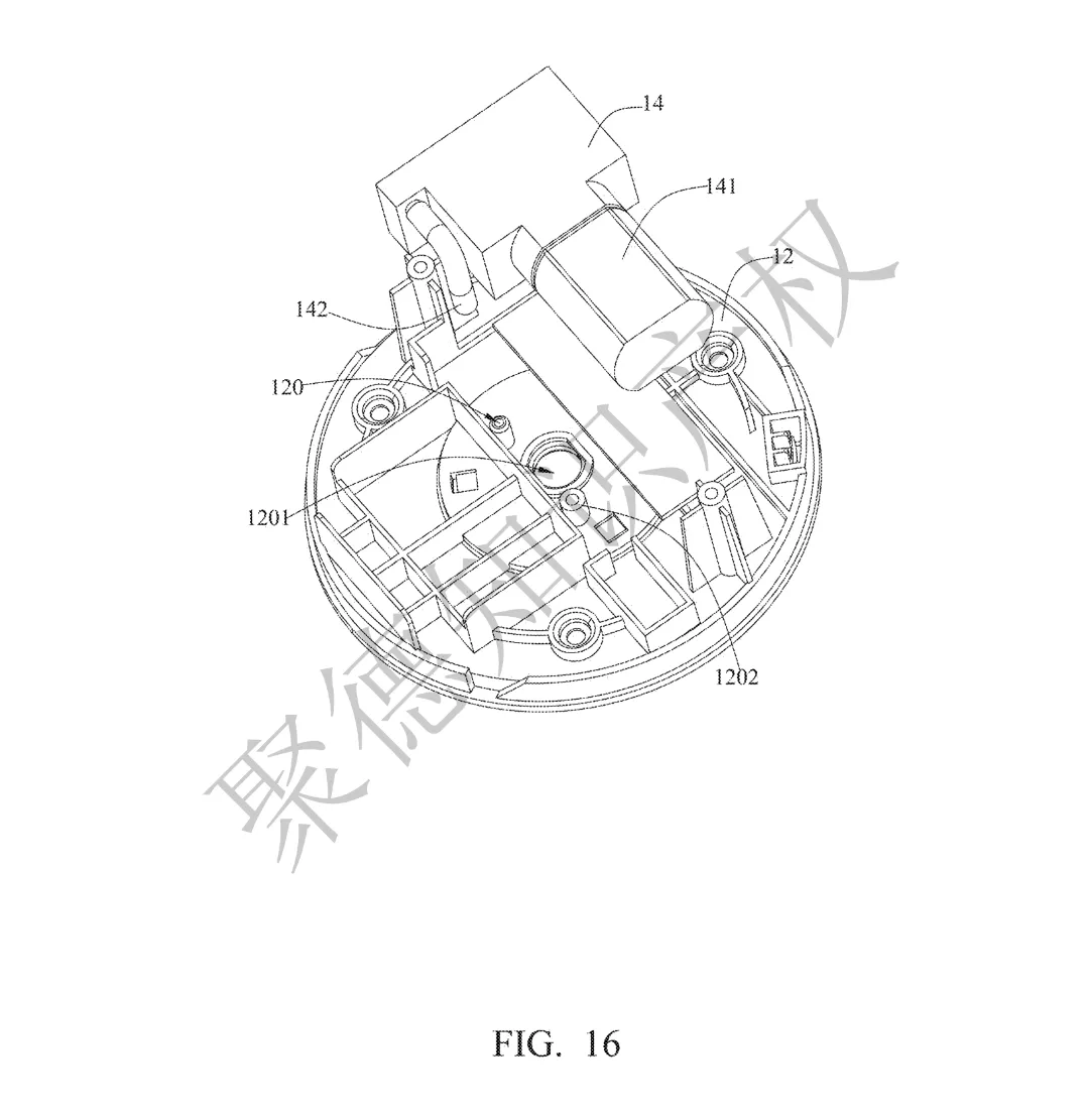
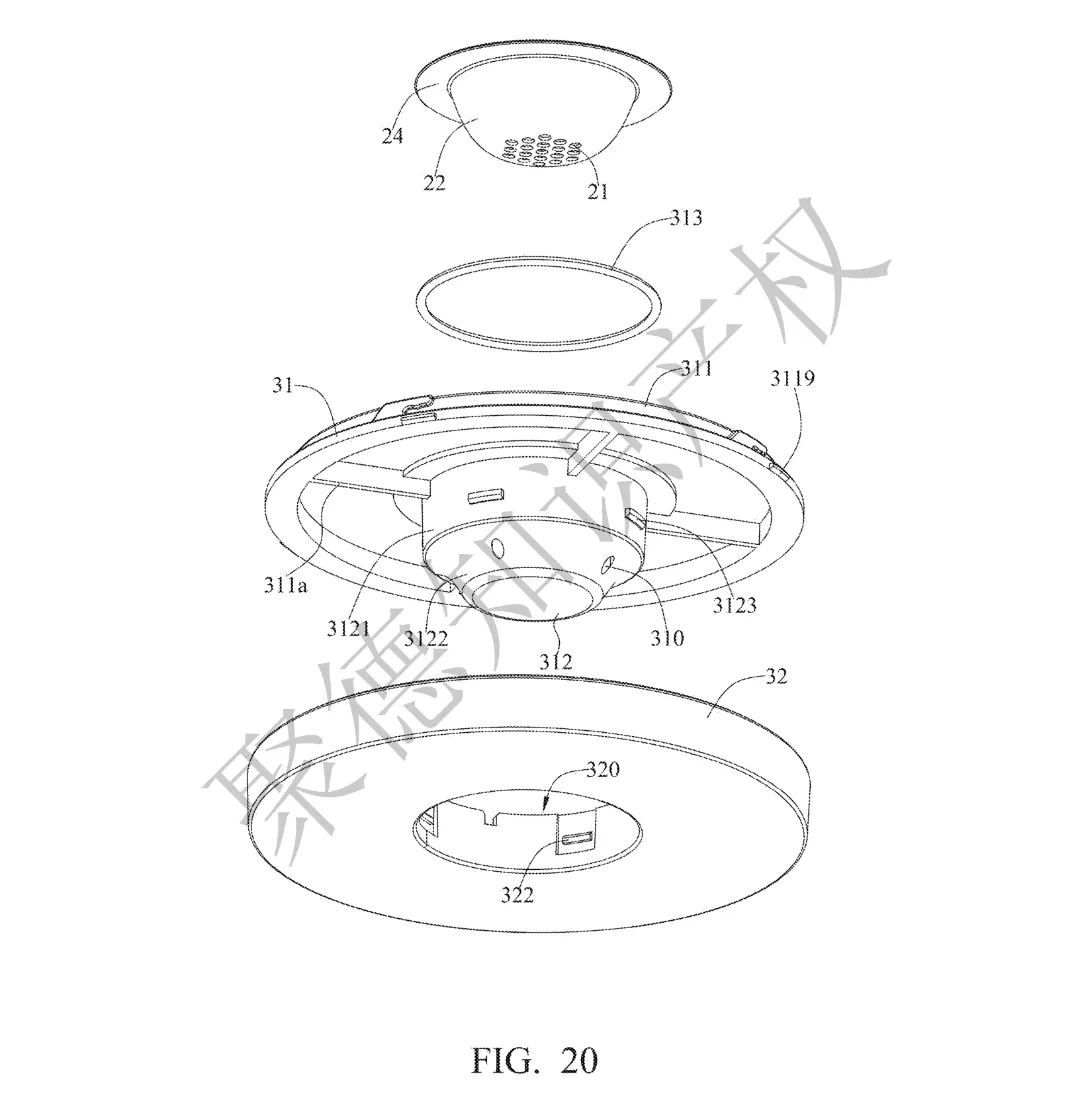
电动威士忌烟熏器可快速为酒液注入浓郁的烟熏风味,全程无需改变酒液温度,从而完好保留威士忌的原始风味。套装底部嵌有LED灯,并配有闪烁模式,为整个烟熏过程增添了独特的视觉趣味。

维权的专利
▼

点击查看大图






















电动威士忌烟熏器的权利要求1
主要保护特征如下
1. 结构组成
烟熏器主体;
管道(具有燃烧室,内壁设有至少一个出烟口);
底座(与主体可拆卸组装,共同夹持管道)。
2.烟熏器主体的具体结构
外壳(包括壳体和底盖);
底盖上设有进气孔;
隔热盖(位于底盖远离外壳的一侧,用于打开/关闭燃烧室,设有进气口);
自动点火器(点火针穿过底盖并置于进气口中,与进气口侧壁之间有间隙,点火针延伸至燃烧室)。
功能特征
点火针用于点燃燃烧室内的燃烧介质;
进气口与燃烧室连通,空气可进入促进燃烧。
聚德工程师规避设计思路
1.调整点火方式
将点火针位置移至燃烧室内部(如侧壁或顶部)
或改为底部/侧部点火,取消依靠进气气流的“上风点火”设计
也可采用电热丝、红外等不依赖特定气流的外部点火方式。
2.改变燃烧与进气结构
取消“进气口内置点火针”的组合设计,改用预混气点火或催化燃烧;
或调整出烟口位置,使其避免与进气口在投影上重叠,从而改变快速排烟路径。
案件号:26-cv-00007
立案时间:2026年1月3日
原告:J****ng
代理律所:Stratum Law LLC
这是一款通用屋顶梯子稳定器。采用锻钢结构和防滑橡胶垫,通过四点支撑适配各类梯子。作业时能有效保护屋檐瓦片,并大幅增强梯子稳定性,保障清洁排水沟、维修屋顶等高工作的安全。

维权的专利
▼

点击查看大图








通常,平台方在案件立案后大约半个月会收到原告的TRO邮件,但具体时间仍以原告方提交进度为准。在此期间,请务必仔细查收您的邮箱,包括垃圾邮件,避免遗漏关键通知。
自您收到正式侵权通知之日起,将进入一个为期21天的黄金处理窗口。在此阶段主动介入和解谈判,最有可能达成相对有利的赔偿金。若错过这一时机,随着案件程序推进,谈判空间将不断被收窄;若案件进入缺席判决阶段,则将陷入极为被动的局面。







其他
04-16 周四










