月薪3万+的运营都具备哪些能力?如何突破能力瓶颈并实现薪资跃升?
Wayfair官方经理解码定价运营策略,拆解亿级大卖0-1运营实战全路径!点击获取>>>
本人从2023年开始转战亚马逊,从小白助理开始学起,一开始在一个初创公司约50人团队从助理学起,月薪6千。
公司是做家具类目,因为有自有工厂,老板的策略也不错 。所以在我进来之后公司已经开始快速发展,目前公司有200多人,也算发展的比较快。
2023.2月是我第一天入职,开始了10个月的助理生涯,主要也就是发发邮件,回客诉。也有开始在亚马逊上listing,店铺运营也会教我一些东西,但是后面也基本上是自学为主。助理期间拿了10个月的基础工资6千左右。
转折点出现在2024.2月
店铺原先的运营因为职业调动后面店铺所有的sku转给我。店铺所有产品也相应转给我了。因为自己一直努力争取,也在期间一直不停的自主学习广告内容,所以原先的老品分给我后,我也维持住了老品的销量。开始真正拿提成。
我开始拿提成后,折下来,每月薪资应该在2W左右,也还不错。
但是深知,有一部分是因为接手原先老运营的爆款 ,自己努力维持住销量和利润所以有高薪,也知道是因为市场趋势成就了公司发展,公司发展成就了我薪资跃升,运气和努力的成分各占50%吧。
直到2026.1月
公司开始基础工资+提成的模式开始转变为基础工资加绩效,综合薪资开始往1.6W左右降低。
我深知继续在这个公司可能按照原先的运营技巧,我还能维持1.5W的月薪,但是明显感觉到自己的能力很难有大幅度提升,也明白自己在公司继续下去只能当牛马。
我本身就不是一个安于现状的人,所以还是想在工作中找到一些新知识和成就感,并且也不希望自己的能力止步于此。
所以选择了离职,我知道这样很冲动,但是日复一日的重复性工作让我倦怠到无法继续上班。
看了下自己接下来的方向,又感觉很迷茫,不想换行业,又不想往管理层的方向上走。
在BOSS上看了,如果之后想拿3万以上的薪资:
1. 去大厂应聘,但是大厂的面试非常严格,职业要求的能力我可能达不到,面试可能就会被刷下来。
2. 往产品开发方向,但是又担心这是不是转行了,一切又要从头开始。运营我觉得更多的是“术”的技巧,能自学。
但是开发可能真的更需要的是市场洞察能力,觉得自己不一定有这个天赋。
接下来就很迷茫,想问下各位知友有没有什么建议可以提供给我?
职业发展方向需要增加哪方面的技能,才能不断的提升自我能力又能增加自己的工资水平到3万以上?
Leeaandrew
赞同来自: 鸭在流浪 、 跨境马斯托085 、 手写的从前 、 大龄剩男转行 、 FerryH 更多 »
先吐个槽,贫道一觉睡醒看这个帖下面已经有人称道友了。乍一看心中窃喜,还以为自己已经练到化神期大圆满,无意分化出的一道神念瞒着贫道主元神在这里偷偷答题。
调皮了啊,贫道才是正版的啊。
修仙一道也开始如此内卷,看来下次贫道要佛道双修了。
-------------------------------------------------------------------------------------------------------------------------------------------------
道友好,贫道有礼了。
贫道今天不谈如何突破能力瓶颈,只谈一个问题,公司给你开3W,你真的能拿到3W么?
月薪三万不是一个准确的说法,因为要分税前和税后。
如果你之前从未关注过个人所得税这方面,那2026年应该要关注一下了,因为公司要税务合规,个人也要合规(说人话就是,公司由于税务报送,势必会让员工交个税)。
你看,西海岸的蝴蝶扇动一下翅膀,放在个人身上都是一座山。
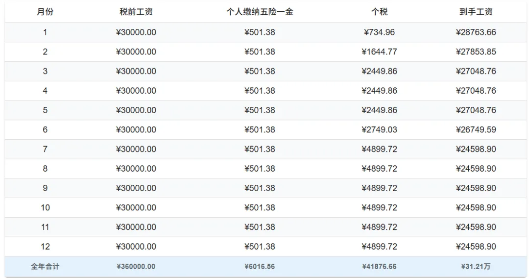
以跨境宇宙中心SZ为例,我们看下税前和税后3W的区别。
所以税前每月3W,实际每月到手31.21/12=2.6W
如果是税后到手3W呢?那么税前工资理论上则需要达到3.5W左右。
目前按各公司的尿性,面试的时候没人会跟你谈税后薪资的,那么我们就按税前3W计算。
首先我们拆解你的收入构成。
税前收入=基本工资+绩效工资+岗位/食宿/交通/加班补贴等/+全勤奖+提成
按3W的比例,
基本工资+绩效工资约1W~1.5W
各项补贴汇总约1K~2K
全勤奖约300~500
则提成约为:1.25~1.87W
提成算法各个公司不一样,有按销售额,有按回款额,有按毛利润,有按净利润,目前主流的算法是按毛利,我们简化一下就按毛利的5%吧, 且没有因为是你接手老产品而打折扣。反推下你的销售额要做到多少。
假设毛利率10%~15%。提成取中间值为1.5W
当毛利率为15%时,则销售额为1.5W/7/15%/5%=$28W/月
当毛利率为10%时,则销售额为1.5W/7/10%/5%=$42W/月
所以我们可以初步得出一个结论,道友你的个人业绩至少要做到平均30W~40W美金月销售额,才有可能达到税前3W,税后2.6W月工资。
那么30W~40W的月销售额(取中值35W)继续拆解下去代表什么呢?
假设你的业绩由若干个listing构成, 主要listing的销售占比50%,且客单价有$9.99,$29.99,$99.99这几个高中低市场价格代表,则月销数量为:
当客单价为$9.99时,则该listing月销为:350000*50%/9.99=18K
当客单价为$9.99时,则该listing月销为:350000*50%/29.99=6K
当客单价为$99.99时,则该listing月销为:350000*50%/99.99=1.8K
那么分析到这里,全文最大的悖论出现了:
不管是月销2K的产品,还是月销6K的产品,抑或是是月销20K的产品,在各个公司都算是中流砥柱了,凭什么你一来新公司,就交给你来操持,让道友你去独享这1W5的提成呢?
是新公司的员工都不做亚马逊改去修仙啦?
还是说,公司领导层都已经是合体老怪,瞧不上这点业绩,给谁不是给?
再退一步来说,开公司不是开善堂,肯花1.5W底薪去招人,不是让道友来接现成的业绩坐享其成吧?不得让你在更重要的岗位上,发挥出更重要的价值?
比如说,清货。哪个公司旺季之后不会挤压一堆库存的?然后老人离职,新人接盘,你明年3-4月入职新公司,正好无缝衔接。这才能反映出1W5的价值啊
道友,这不是贫道瞎说啊,是有实际案例的,贫道上次逛论坛就认识了一位奇男子,乃是先天清货圣体,出道即清货,职业巅峰记录是半年清掉五万四千余件积压库存,贫道觉得你入新公司前务必要问清楚这1W5工资要不要清货(传送门:毕业后在公司扎根工作三年,终于离职了,对未来充满憧憬也伴随着迷茫)
那换条路,做开发呢?
emmmm……开发之路有空细聊,只能说开发的薪资设计比运营薪资制度水跟深,坑更多。只说一点:运营能一直拿提成是因为一直在运营,开发是平时吃低保,三年不开张,开张吃三年,薪资稳定性大打折扣。
行文至此,已近尾声,照例升华一下主题:
无论税前还是税后,3W已经是打工人的天花板。
薪资迈过一定的门槛,一动不如一静。
跳槽对于低水平的薪资增长是有利的,但拿不到高薪。
因为高薪除了能力分,还有时间分,感情分,信任分,就是俗话说的没有功劳还有苦劳。
跨境电商当下市场,特别是2026年这种税务,平台,以及消费需求日新月益变革的环境里,高薪的途径只有两条:
要么伴随公司一起成长,稳定升职到领导层,拿管理工资+业绩分红。
要么万事不求人,甩开膀子自己创业单干。
跨境之路的更高一个境界贫道已经为你演示完毕,
路怎么选,道友清楚了么?
恭祝道友早日得道果!
Lee
2026.1.14
鸭在流浪 • 深圳
Lee哥最近很活跃呐。(其实我已经在这里看到3位自称贫道的道友了,你们要不开个贴争一下谁是正版吧哈哈哈)
Leeaandrew • 香港特别行政区
@鸭在流浪:开个玩笑哈哈,跨境一行,有如修道,道教兴盛,吾心甚慰
是耶耶呀 • 东莞
抓lee!爱看,你多发
diudiunan • 深圳
@Leeaandrew:开个话题,论一下跨境的道吧,哈哈哈。我感觉最近的氛围,就讲一讲“归一”:立根本,融领域,不迷乱。这样修身养性,才能更好的享受人生享受事业。
路不识Jatty0323 • 香港特别行政区
道长来了,做亚马逊的都是道友,道阻且长呀哈哈哈
我是小小小白吖 • 郑州
厉害了我的道长哥!
oooddd • 深圳 • 23 小时前
摸鱼来看帖子真的能学到东西 又悟到了
wingchu • 深圳 • 22 小时前
说的在Lee, 帖子下有道长的回复就圆满了
烬哥只打高端局 • 台北 • 22 小时前
群里消息不看,跑这来写论文了是吧!!!
匿名用户 • 杭州 • 22 小时前
谢谢Lee哥,我还真没想过纳税这一块,这么一算本质上也没有提高很多
全球立达退运返修 • 深圳 • 22 小时前
我也想拿这么高工资,各位做跨境的大哥们多多支持我啊
安瑞科技 • 深圳 • 21 小时前
好,说的头头是道,逻辑清晰,点赞
REXSMLSX • 湖州 • 49 分钟前
大佬又来啦 ,每天都能看到太享受了!
路不识Jatty0323
赞同来自: COULDTONIGHT 、 跨境小白在学习 、 小辰001 、 你今天爆单了嘛 、 四月Alen 更多 »
“2023年开始转战亚马逊。2024.2月之后开始接手老链接,基本可以做到月薪平均2W”
你这段话放出来,要羡慕死多少运营?运气不是一般的好,放在我身边做亚马逊真实例子里面,你的好运能排进前三。两年就干到月薪2W,厉害的
“店铺原先的运营因为职业调动后面店铺所有的sku转给我。店铺所有产品也相应转给我了。”
这是多少运营梦寐以求的事情,有点羡慕了,曾经的我也在期盼上级离职,把它的香饽饽分给我,猛猛拿提成,可惜很难等到,不出什么生死大事,一般不会走的,你这好运真的爆棚。
“但是深知,有一部分是因为接手原先老运营的爆款 ,自己努力维持住销量和利润所以有高薪,也知道是因为市场趋势成就了公司发展,公司发展成就了我薪资跃升,运气和努力的成分各占50%吧”
我得泼句实在话,你的努力应该占比不会到50%,市场趋势+爆款老链接,已经足够让你起飞了,努力在这两者的结合下显得很渺小。
道友!!!,运气为什么这么好,好羡慕啊,怎么能这样呢?怎么人生这么顺利,你不应该暗暗窃喜嘛,怎么读着文章有点忧郁,有些担忧。哦我懂了,尝试过一个月2W,改到一个月1W5-1W6受不了落差了,可以理解,但我觉得正常公司,就不会让你拿到2W的薪资,一般接手老链接都要砍掉一些之前的待遇的,因为毕竟不是你做起来的,维护爆款老链接,正常的运营应该都会吧,没有很难。
“我本身就不是一个安于现状的人,所以还是想在工作中找到一些新知识和成就感,并且也不希望自己的能力止步于此。但是日复一日的重复性工作让我倦怠到无法继续上班”
理解你的感受,但是上班就是这样,你觉得上班是个很有意思,每天都可以在工作中找到一些成就感吗,太难了,工作这东西发明出来就是让你重复的,确实存在一些工作会给你成就感,让你每天都从中有所收获,曾经看到过Lks(B站UP)采访过欧美顶尖游戏工作室的工作环境,优美的环境,充足的带薪休假,午睡小房间,自由畅谈的人际关系等是很让人羡慕。但那不是普通人可以够得着的。
工作就是重复,所以我们需要生活,需要8+8+8,我们需要睡眠的8,支撑我们工作的8,我们需要生活的8,填补我们空缺的人生意义。还有就是你要知道,根据马斯洛需求理论,你追求的工作状态,处在塔尖,所以,这真的很难。
来说说,月薪3W
说实话,我看你在杭州,我也在杭州,你不应该离职的。
我比你早两年来杭州,杭州月薪3W,按照我的经验真的算是顶级运营了,手握大链接那种,因为你想月薪3W,一年就是接近40,这个月薪已经快够得上杭州E类人才直通的门槛了,你知道杭州E类人才占据杭州打工人的比例是多少吗?也就是50W年薪你就可以直通E类人才,每月2500元的补贴,外加大几十万的购房补贴,这个比例是:0.36% 平均278人中出一个 贫道不才,来杭州四年了还没达到(可能我是废物,真太难了),并且我觉得我运气已经算好的了。
道友,即使1.5W在杭州 2年经验,真的不算少了。如果你想要达到月薪3W,在杭州,首先你要是个组长,小领导,这样你的提点还有底薪都会不少。
个人的话,除非你运气很好,再次接手到老链接,否则,单运营不会给你很高的底薪,剩下都靠提成,深圳的可能性会更大。还有就是,你去开荒,还要碰见那种舍得给钱的老板,会配合你的,也很难。
还有就是你去新公司,大概是做新链接,如今的亚马逊你有把握做新品慢慢做起来,然后一个月拿1.5-2W的提成吗?按照5%提点,你需要做到平均每月43000美金-57000美金的利润。如果有老链接支撑应该还可以,但是如果是纯新的,难度应该不小吧。
至于如何月薪3W,道友,这太难了,先稳定住底薪吧,等你找到下家,可能会怀念上家,这时候就要送你一句歌词 “逝去的过往 就别再回头望”
最后,道友,我很佩服你的魄力,但我还是想说,你直接离职,应该不算一个明智的选择,至少,骑驴找马,或者等到年后再说。
祝道友一切顺利。
COULDTONIGHT • 深圳
说得很中肯了,2年经验即使是1.5w也是运气爆棚了,运气稍差一点的3-4年经验都拿不到这个薪资
路不识Jatty0323 • 香港特别行政区
@COULDTONIGHT:真属于运气爆炸好那种,我是狠狠羡慕了,可能他不知道外面行情吧
你今天爆单了嘛 • 深圳
直接离职 放现在得大环境任何一个职业都不是一个明智得选择 除非家里有矿 另说
benhawk • 深圳
凡事都有两面性,如果答主就奔着目标3w去单干,成了之后会感谢今天毫不犹豫的跑路。
路不识Jatty0323 • 香港特别行政区
@benhawk:看样子 不像是去单干的 单干也不至于 还没开始 就离职
春夏笑笑 • 香港特别行政区
看到刚出来一年就能平均月薪2w,真是运气超好那种,想当年刚入行做亚马逊底薪5.5k,一年后才涨了1000块底薪,新店铺新链接做起,哪有什么老链接
Genjisan • 深圳
我只能说我五年才12K,是不是得去外面看看了
匿铭用户 • 深圳
@春夏笑笑:我19年大学本科毕业就来深圳做亚马逊而且是精品,刚开始底薪才4500,差不多一年后跳槽才涨到7000,毕业第三年,我的底薪才过万。
现在做了6年亚马逊,精品,职位现在是主管了底薪才到15K, 我这种真的运气是非常一般了,没有什么运气成分,全靠拼, 看到帖主,毕业2年月薪就2万了,真的运气爆表了,但还嫌少,我真的不知道说什么好。
匿名用户
赞同来自: 手写的从前 、 KyraGraham 、 知吾必言 、 俗人1234 、 Sylvie77 更多 »
目前3年经验,接触运营工作的全面内容才2年时间,3年经验能拿16K超过深圳不说95%的运营,也起码是80%的运营了,有没有想过进一个新公司还有机会接手老运营留下来的爆款吗,或者一进公司就是清货,你这个经验到顶也就是12K底薪,4K的提成你得沉淀多久才能拿到
根据你发的内容,我推测你在这两年时间并没有去推新品(因为你这两年都说20k的到手工资),26年才变成16k,所以我感觉你也没有太了解到推新一个产品到盈利需要多长时间
而且广告花费头程,前期的成本都要在你的毛利里面扣除,推新品的运营工资一定不会那么稳定,如果你公司的提点高,在推新的时候成本对利润蚕食的越多,你的提成也降的多;
不过还有一句话就是人各有志,不出去看看怎么知道世界的精彩,才知道什么是难能可贵;其实,人生在世是不太需要接受别人的建议的,不会明白的,直到亲身经历过后;人生的成长就是需要经历,经验只会来源于自己体会中吧;需要保持的心态是走了任何一条路都不要去后悔,慢慢去复盘修正这条道路
匿名用户
赞同来自: Zackery 、 Joyce22 、 hoko123 、 林林林林26
坂田底薪25k主管路过,通常100人以上的品牌公司的主管底薪在15-25k之间,但要拿到高额底薪也需要一定的运气。
尤其是今年的大环境,很多公司都在清库存,导致利润率持续走低,而能赚钱的公司往往又不缺主管岗位,真的缺的是能操盘1亿美金以上的经理和总监岗位。
而这些高管岗位,需要的能力和资源要求很高,主管要过渡到这些岗位需要合适的机会锻炼,而现实中这些公司一般没有机会锻炼这样的能力。
所以,大部分亚马逊运营还是要靠提成来提高收入到3W以上,或者自己单干。
匿名用户
看完了全部,我想讲讲我四年的来时路
速卖通0-1 做了精铺日销300单每天美滋滋只拿了4500的工资,第二年留我却只加500块钱底薪,同期同学做亚马逊都拿了六七千的工资,5.5的单休还自费住宿
20年的时候转亚马逊运营助理5500元人民币大小周八小时 却从精品初创里选了个工贸一体的初创老板 挨骂 推广测评数据对接工厂跟单什么都做,做起来链接一开始说销售额十个点 最后财务说要净利润盈亏回正之后才能拿到毛利提成5个点,签了第三年的合同还是薪资6000块 ,推新的时间周期和成本又要耽误第四年 果断跑了
再换一家初创公司,底薪高三千拿不到提成最后全员转外贸,又跑路了
最后亚马逊还是初级的水平,上不上下不下...年龄到了 底薪吃不饱 提成没希望,好公司要好的推新和稳定链接的数据思维,都要细节优化,最后只给应届生薪资推新,市场行情不知道是不是我运气问题
年少轻狂的代价就是容易冲动,选择任何工作的优劣势都可以用时间来弥补,但是外面的行情和水平要求 你可以在职去了解一下,综合来判断你是要推新的成长 内部机会 还是外部机会。
Jeff他姐夫
想达到月薪3万,肯定没那么容易,起码要有好几年经验。
亚马逊运营的工资,一般是底薪加提成,那你必须做出相应的业绩才行,也就是说你得值这个钱,且能创造更大的效益。
至于运营的能力也就哪些,比如市场分析洞察、listing打造、品类清晰把控、广告运营、备货规划等。
简单点说,工作内容大差不差就那些,关键的一点,能不能把活做细做精,有句这样的话“差之毫厘,谬以千里”长期以往下来,做细做精就成了你的核心竞争力。
对于想把3万薪资,定为目标的小伙伴,需要具备分析拆解能力,把运营需要具备的能力拆解出来。
一个一个去学习精进,然后利用到日常工作中,等你走完一个来回,具备这些能力,值这个价了,薪资是水到渠成的事。
虽然我没有拿过3万月薪,但我觉得跟我自己做亚马逊是一样的,拆解、学习、执行、复盘,不断循环。最后获得自己想要的结果!
享受和煦的风
赞同来自: Melody秋
我20年4月份入坑亚马逊,对成长的路颇有心得。
入坑第3个月:自信摸清了门道,觉得亚马逊不过如此。
入坑第6个月:想升运营却未通过,觉得公司不识才。
入坑1年:决心离开,相信此处不留人,自有留人处。
入坑2年:庆幸跳槽果断,薪资翻了一番。
入坑3年:接触越深,越发现自己所知甚少,重新陷入学习。
入坑4年:不再追求“单一推广方法”,而是持续打磨和优化每一个运营细节。
入坑5年:深刻体会到,选品才是持久战的根本,好产品才是天花板。
……,……
从自信爆棚到自我怀疑,再到沉淀深耕。这就是蜕变的过程
享受和煦的风 • 深圳 • 3 小时前
言下之意:每次的决定都是一个蜕变的过程,随着时间和经历心性会得到改变。当你的狂被理性取代的时候,就是你离成功更进一步的时候。
匿名用户
赞同来自: 小狗也得吃饭
我目前就在杭州,可以和大家分享一下我的职业发展,希望可以给到大家一些参考
18年深圳入行,4.5包吃住;第一家干了2年,底薪5500,加提成1w多吧,第一次跳槽,期间升为主管,底薪1w,加提成大概1.6w左右
21年来杭州入职第一家公司,底薪2w,加提成大概2.6w左右;目前第四家,底薪2.4w,但是社保公积金是顶格缴纳的,算上这个,底薪应该也到3w上下了,提成是项目净利润的10-15%
总结:确实跳槽是涨薪(底薪)的最有效手段,但会影响提成;我比较喜欢开荒,开荒的薪资会很不错,但同时要面临卸磨杀驴的风险(我就遇到过)
路不识Jatty0323 • 香港特别行政区
在杭州属于顶级运营了
匿名用户
赞同来自: 手写的从前 、 皮卡皮卡 、 眼睛里星河璀璨
踏踏实实的拿3w不香吗,非要作一下,家里有矿?
太理想主义了,追求自我成长的核心最后不还是为了提高收入,经济基础决定上层建筑,少做梦多做事,跳到其他公司多倍敲打几次就知道现在有多香了。
再者说,现在的环境也不影响自我提升,反而是有更多主动权和资源,自我学习条件要比同水平运营好上多少倍,工作不像学校上课,大多数事情都是干中学,自己学。
想说的话很多,想想还是删掉,人各有志,希望博主将来会有更高的发展。
匿名用户 • 杭州 • 22 小时前
干中学很认同
匿名用户
赞同来自: 手写的从前
说实话,接手的老品提成能按之前的全转移给你是我最羡慕的,论坛至少95%的老哥没有这种好运吧。维护老品大家应该都有经验,基本就是什么都不做只要保持库存充足就行了,这样能月薪两万其实还是运气成分居多一点。
出去想月薪三万要么做管理层,要么拿高于正常水平的提成点,比如一般人拿5个点提成,你上来就是10个点,15个点,这同样很难,跳槽之后至少相当长时间里薪资还不如现在
需要沉淀
不想换行业,又不想往管理层的方向上走,你这是把自己的路堵死了啊
正常亚马逊运营,月薪3w(以我的了解杭州15k+提成已经算比较高了,相当于提成也要15k),要么是开荒的公司遇到了爆款,要么就是开发能力强自己开发出了爆款,其余的基本不可能达到(管理层拿分红的除外),所以我感觉你如果想达到这个目的最后只能是单干或者就是运气好找到一个非常大方的老板。。


本人从2023年开始转战亚马逊,从小白助理开始学起,一开始在一个初创公司约50人团队从助理学起,月薪6千。
公司是做家具类目,因为有自有工厂,老板的策略也不错 。所以在我进来之后公司已经开始快速发展,目前公司有200多人,也算发展的比较快。
2023.2月是我第一天入职,开始了10个月的助理生涯,主要也就是发发邮件,回客诉。也有开始在亚马逊上listing,店铺运营也会教我一些东西,但是后面也基本上是自学为主。助理期间拿了10个月的基础工资6千左右。
转折点出现在2024.2月
店铺原先的运营因为职业调动后面店铺所有的sku转给我。店铺所有产品也相应转给我了。因为自己一直努力争取,也在期间一直不停的自主学习广告内容,所以原先的老品分给我后,我也维持住了老品的销量。开始真正拿提成。
我开始拿提成后,折下来,每月薪资应该在2W左右,也还不错。
但是深知,有一部分是因为接手原先老运营的爆款 ,自己努力维持住销量和利润所以有高薪,也知道是因为市场趋势成就了公司发展,公司发展成就了我薪资跃升,运气和努力的成分各占50%吧。
直到2026.1月
公司开始基础工资+提成的模式开始转变为基础工资加绩效,综合薪资开始往1.6W左右降低。
我深知继续在这个公司可能按照原先的运营技巧,我还能维持1.5W的月薪,但是明显感觉到自己的能力很难有大幅度提升,也明白自己在公司继续下去只能当牛马。
我本身就不是一个安于现状的人,所以还是想在工作中找到一些新知识和成就感,并且也不希望自己的能力止步于此。
所以选择了离职,我知道这样很冲动,但是日复一日的重复性工作让我倦怠到无法继续上班。
看了下自己接下来的方向,又感觉很迷茫,不想换行业,又不想往管理层的方向上走。
在BOSS上看了,如果之后想拿3万以上的薪资:
1. 去大厂应聘,但是大厂的面试非常严格,职业要求的能力我可能达不到,面试可能就会被刷下来。
2. 往产品开发方向,但是又担心这是不是转行了,一切又要从头开始。运营我觉得更多的是“术”的技巧,能自学。
但是开发可能真的更需要的是市场洞察能力,觉得自己不一定有这个天赋。
接下来就很迷茫,想问下各位知友有没有什么建议可以提供给我?
职业发展方向需要增加哪方面的技能,才能不断的提升自我能力又能增加自己的工资水平到3万以上?
Leeaandrew
赞同来自: 鸭在流浪 、 跨境马斯托085 、 手写的从前 、 大龄剩男转行 、 FerryH 更多 »
先吐个槽,贫道一觉睡醒看这个帖下面已经有人称道友了。乍一看心中窃喜,还以为自己已经练到化神期大圆满,无意分化出的一道神念瞒着贫道主元神在这里偷偷答题。
调皮了啊,贫道才是正版的啊。
修仙一道也开始如此内卷,看来下次贫道要佛道双修了。
-------------------------------------------------------------------------------------------------------------------------------------------------
道友好,贫道有礼了。
贫道今天不谈如何突破能力瓶颈,只谈一个问题,公司给你开3W,你真的能拿到3W么?
月薪三万不是一个准确的说法,因为要分税前和税后。
如果你之前从未关注过个人所得税这方面,那2026年应该要关注一下了,因为公司要税务合规,个人也要合规(说人话就是,公司由于税务报送,势必会让员工交个税)。
你看,西海岸的蝴蝶扇动一下翅膀,放在个人身上都是一座山。
以跨境宇宙中心SZ为例,我们看下税前和税后3W的区别。
所以税前每月3W,实际每月到手31.21/12=2.6W
如果是税后到手3W呢?那么税前工资理论上则需要达到3.5W左右。
目前按各公司的尿性,面试的时候没人会跟你谈税后薪资的,那么我们就按税前3W计算。
首先我们拆解你的收入构成。
税前收入=基本工资+绩效工资+岗位/食宿/交通/加班补贴等/+全勤奖+提成
按3W的比例,
基本工资+绩效工资约1W~1.5W
各项补贴汇总约1K~2K
全勤奖约300~500
则提成约为:1.25~1.87W
提成算法各个公司不一样,有按销售额,有按回款额,有按毛利润,有按净利润,目前主流的算法是按毛利,我们简化一下就按毛利的5%吧, 且没有因为是你接手老产品而打折扣。反推下你的销售额要做到多少。
假设毛利率10%~15%。提成取中间值为1.5W
当毛利率为15%时,则销售额为1.5W/7/15%/5%=$28W/月
当毛利率为10%时,则销售额为1.5W/7/10%/5%=$42W/月
所以我们可以初步得出一个结论,道友你的个人业绩至少要做到平均30W~40W美金月销售额,才有可能达到税前3W,税后2.6W月工资。
那么30W~40W的月销售额(取中值35W)继续拆解下去代表什么呢?
假设你的业绩由若干个listing构成, 主要listing的销售占比50%,且客单价有$9.99,$29.99,$99.99这几个高中低市场价格代表,则月销数量为:
当客单价为$9.99时,则该listing月销为:350000*50%/9.99=18K
当客单价为$9.99时,则该listing月销为:350000*50%/29.99=6K
当客单价为$99.99时,则该listing月销为:350000*50%/99.99=1.8K
那么分析到这里,全文最大的悖论出现了:
不管是月销2K的产品,还是月销6K的产品,抑或是是月销20K的产品,在各个公司都算是中流砥柱了,凭什么你一来新公司,就交给你来操持,让道友你去独享这1W5的提成呢?
是新公司的员工都不做亚马逊改去修仙啦?
还是说,公司领导层都已经是合体老怪,瞧不上这点业绩,给谁不是给?
再退一步来说,开公司不是开善堂,肯花1.5W底薪去招人,不是让道友来接现成的业绩坐享其成吧?不得让你在更重要的岗位上,发挥出更重要的价值?
比如说,清货。哪个公司旺季之后不会挤压一堆库存的?然后老人离职,新人接盘,你明年3-4月入职新公司,正好无缝衔接。这才能反映出1W5的价值啊
道友,这不是贫道瞎说啊,是有实际案例的,贫道上次逛论坛就认识了一位奇男子,乃是先天清货圣体,出道即清货,职业巅峰记录是半年清掉五万四千余件积压库存,贫道觉得你入新公司前务必要问清楚这1W5工资要不要清货(传送门:毕业后在公司扎根工作三年,终于离职了,对未来充满憧憬也伴随着迷茫)
那换条路,做开发呢?
emmmm……开发之路有空细聊,只能说开发的薪资设计比运营薪资制度水跟深,坑更多。只说一点:运营能一直拿提成是因为一直在运营,开发是平时吃低保,三年不开张,开张吃三年,薪资稳定性大打折扣。
行文至此,已近尾声,照例升华一下主题:
无论税前还是税后,3W已经是打工人的天花板。
薪资迈过一定的门槛,一动不如一静。
跳槽对于低水平的薪资增长是有利的,但拿不到高薪。
因为高薪除了能力分,还有时间分,感情分,信任分,就是俗话说的没有功劳还有苦劳。
跨境电商当下市场,特别是2026年这种税务,平台,以及消费需求日新月益变革的环境里,高薪的途径只有两条:
要么伴随公司一起成长,稳定升职到领导层,拿管理工资+业绩分红。
要么万事不求人,甩开膀子自己创业单干。
跨境之路的更高一个境界贫道已经为你演示完毕,
路怎么选,道友清楚了么?
恭祝道友早日得道果!
Lee
2026.1.14
鸭在流浪 • 深圳
Lee哥最近很活跃呐。(其实我已经在这里看到3位自称贫道的道友了,你们要不开个贴争一下谁是正版吧哈哈哈)
Leeaandrew • 香港特别行政区
@鸭在流浪:开个玩笑哈哈,跨境一行,有如修道,道教兴盛,吾心甚慰
是耶耶呀 • 东莞
抓lee!爱看,你多发
diudiunan • 深圳
@Leeaandrew:开个话题,论一下跨境的道吧,哈哈哈。我感觉最近的氛围,就讲一讲“归一”:立根本,融领域,不迷乱。这样修身养性,才能更好的享受人生享受事业。
路不识Jatty0323 • 香港特别行政区
道长来了,做亚马逊的都是道友,道阻且长呀哈哈哈
我是小小小白吖 • 郑州
厉害了我的道长哥!
oooddd • 深圳 • 23 小时前
摸鱼来看帖子真的能学到东西 又悟到了
wingchu • 深圳 • 22 小时前
说的在Lee, 帖子下有道长的回复就圆满了
烬哥只打高端局 • 台北 • 22 小时前
群里消息不看,跑这来写论文了是吧!!!
匿名用户 • 杭州 • 22 小时前
谢谢Lee哥,我还真没想过纳税这一块,这么一算本质上也没有提高很多
全球立达退运返修 • 深圳 • 22 小时前
我也想拿这么高工资,各位做跨境的大哥们多多支持我啊
安瑞科技 • 深圳 • 21 小时前
好,说的头头是道,逻辑清晰,点赞
REXSMLSX • 湖州 • 49 分钟前
大佬又来啦 ,每天都能看到太享受了!
路不识Jatty0323
赞同来自: COULDTONIGHT 、 跨境小白在学习 、 小辰001 、 你今天爆单了嘛 、 四月Alen 更多 »
“2023年开始转战亚马逊。2024.2月之后开始接手老链接,基本可以做到月薪平均2W”
你这段话放出来,要羡慕死多少运营?运气不是一般的好,放在我身边做亚马逊真实例子里面,你的好运能排进前三。两年就干到月薪2W,厉害的
“店铺原先的运营因为职业调动后面店铺所有的sku转给我。店铺所有产品也相应转给我了。”
这是多少运营梦寐以求的事情,有点羡慕了,曾经的我也在期盼上级离职,把它的香饽饽分给我,猛猛拿提成,可惜很难等到,不出什么生死大事,一般不会走的,你这好运真的爆棚。
“但是深知,有一部分是因为接手原先老运营的爆款 ,自己努力维持住销量和利润所以有高薪,也知道是因为市场趋势成就了公司发展,公司发展成就了我薪资跃升,运气和努力的成分各占50%吧”
我得泼句实在话,你的努力应该占比不会到50%,市场趋势+爆款老链接,已经足够让你起飞了,努力在这两者的结合下显得很渺小。
道友!!!,运气为什么这么好,好羡慕啊,怎么能这样呢?怎么人生这么顺利,你不应该暗暗窃喜嘛,怎么读着文章有点忧郁,有些担忧。哦我懂了,尝试过一个月2W,改到一个月1W5-1W6受不了落差了,可以理解,但我觉得正常公司,就不会让你拿到2W的薪资,一般接手老链接都要砍掉一些之前的待遇的,因为毕竟不是你做起来的,维护爆款老链接,正常的运营应该都会吧,没有很难。
“我本身就不是一个安于现状的人,所以还是想在工作中找到一些新知识和成就感,并且也不希望自己的能力止步于此。但是日复一日的重复性工作让我倦怠到无法继续上班”
理解你的感受,但是上班就是这样,你觉得上班是个很有意思,每天都可以在工作中找到一些成就感吗,太难了,工作这东西发明出来就是让你重复的,确实存在一些工作会给你成就感,让你每天都从中有所收获,曾经看到过Lks(B站UP)采访过欧美顶尖游戏工作室的工作环境,优美的环境,充足的带薪休假,午睡小房间,自由畅谈的人际关系等是很让人羡慕。但那不是普通人可以够得着的。
工作就是重复,所以我们需要生活,需要8+8+8,我们需要睡眠的8,支撑我们工作的8,我们需要生活的8,填补我们空缺的人生意义。还有就是你要知道,根据马斯洛需求理论,你追求的工作状态,处在塔尖,所以,这真的很难。
来说说,月薪3W
说实话,我看你在杭州,我也在杭州,你不应该离职的。
我比你早两年来杭州,杭州月薪3W,按照我的经验真的算是顶级运营了,手握大链接那种,因为你想月薪3W,一年就是接近40,这个月薪已经快够得上杭州E类人才直通的门槛了,你知道杭州E类人才占据杭州打工人的比例是多少吗?也就是50W年薪你就可以直通E类人才,每月2500元的补贴,外加大几十万的购房补贴,这个比例是:0.36% 平均278人中出一个 贫道不才,来杭州四年了还没达到(可能我是废物,真太难了),并且我觉得我运气已经算好的了。
道友,即使1.5W在杭州 2年经验,真的不算少了。如果你想要达到月薪3W,在杭州,首先你要是个组长,小领导,这样你的提点还有底薪都会不少。
个人的话,除非你运气很好,再次接手到老链接,否则,单运营不会给你很高的底薪,剩下都靠提成,深圳的可能性会更大。还有就是,你去开荒,还要碰见那种舍得给钱的老板,会配合你的,也很难。
还有就是你去新公司,大概是做新链接,如今的亚马逊你有把握做新品慢慢做起来,然后一个月拿1.5-2W的提成吗?按照5%提点,你需要做到平均每月43000美金-57000美金的利润。如果有老链接支撑应该还可以,但是如果是纯新的,难度应该不小吧。
至于如何月薪3W,道友,这太难了,先稳定住底薪吧,等你找到下家,可能会怀念上家,这时候就要送你一句歌词 “逝去的过往 就别再回头望”
最后,道友,我很佩服你的魄力,但我还是想说,你直接离职,应该不算一个明智的选择,至少,骑驴找马,或者等到年后再说。
祝道友一切顺利。
COULDTONIGHT • 深圳
说得很中肯了,2年经验即使是1.5w也是运气爆棚了,运气稍差一点的3-4年经验都拿不到这个薪资
路不识Jatty0323 • 香港特别行政区
@COULDTONIGHT:真属于运气爆炸好那种,我是狠狠羡慕了,可能他不知道外面行情吧
你今天爆单了嘛 • 深圳
直接离职 放现在得大环境任何一个职业都不是一个明智得选择 除非家里有矿 另说
benhawk • 深圳
凡事都有两面性,如果答主就奔着目标3w去单干,成了之后会感谢今天毫不犹豫的跑路。
路不识Jatty0323 • 香港特别行政区
@benhawk:看样子 不像是去单干的 单干也不至于 还没开始 就离职
春夏笑笑 • 香港特别行政区
看到刚出来一年就能平均月薪2w,真是运气超好那种,想当年刚入行做亚马逊底薪5.5k,一年后才涨了1000块底薪,新店铺新链接做起,哪有什么老链接
Genjisan • 深圳
我只能说我五年才12K,是不是得去外面看看了
匿铭用户 • 深圳
@春夏笑笑:我19年大学本科毕业就来深圳做亚马逊而且是精品,刚开始底薪才4500,差不多一年后跳槽才涨到7000,毕业第三年,我的底薪才过万。
现在做了6年亚马逊,精品,职位现在是主管了底薪才到15K, 我这种真的运气是非常一般了,没有什么运气成分,全靠拼, 看到帖主,毕业2年月薪就2万了,真的运气爆表了,但还嫌少,我真的不知道说什么好。
匿名用户
赞同来自: 手写的从前 、 KyraGraham 、 知吾必言 、 俗人1234 、 Sylvie77 更多 »
目前3年经验,接触运营工作的全面内容才2年时间,3年经验能拿16K超过深圳不说95%的运营,也起码是80%的运营了,有没有想过进一个新公司还有机会接手老运营留下来的爆款吗,或者一进公司就是清货,你这个经验到顶也就是12K底薪,4K的提成你得沉淀多久才能拿到
根据你发的内容,我推测你在这两年时间并没有去推新品(因为你这两年都说20k的到手工资),26年才变成16k,所以我感觉你也没有太了解到推新一个产品到盈利需要多长时间
而且广告花费头程,前期的成本都要在你的毛利里面扣除,推新品的运营工资一定不会那么稳定,如果你公司的提点高,在推新的时候成本对利润蚕食的越多,你的提成也降的多;
不过还有一句话就是人各有志,不出去看看怎么知道世界的精彩,才知道什么是难能可贵;其实,人生在世是不太需要接受别人的建议的,不会明白的,直到亲身经历过后;人生的成长就是需要经历,经验只会来源于自己体会中吧;需要保持的心态是走了任何一条路都不要去后悔,慢慢去复盘修正这条道路
匿名用户
赞同来自: Zackery 、 Joyce22 、 hoko123 、 林林林林26
坂田底薪25k主管路过,通常100人以上的品牌公司的主管底薪在15-25k之间,但要拿到高额底薪也需要一定的运气。
尤其是今年的大环境,很多公司都在清库存,导致利润率持续走低,而能赚钱的公司往往又不缺主管岗位,真的缺的是能操盘1亿美金以上的经理和总监岗位。
而这些高管岗位,需要的能力和资源要求很高,主管要过渡到这些岗位需要合适的机会锻炼,而现实中这些公司一般没有机会锻炼这样的能力。
所以,大部分亚马逊运营还是要靠提成来提高收入到3W以上,或者自己单干。
匿名用户
看完了全部,我想讲讲我四年的来时路
速卖通0-1 做了精铺日销300单每天美滋滋只拿了4500的工资,第二年留我却只加500块钱底薪,同期同学做亚马逊都拿了六七千的工资,5.5的单休还自费住宿
20年的时候转亚马逊运营助理5500元人民币大小周八小时 却从精品初创里选了个工贸一体的初创老板 挨骂 推广测评数据对接工厂跟单什么都做,做起来链接一开始说销售额十个点 最后财务说要净利润盈亏回正之后才能拿到毛利提成5个点,签了第三年的合同还是薪资6000块 ,推新的时间周期和成本又要耽误第四年 果断跑了
再换一家初创公司,底薪高三千拿不到提成最后全员转外贸,又跑路了
最后亚马逊还是初级的水平,上不上下不下...年龄到了 底薪吃不饱 提成没希望,好公司要好的推新和稳定链接的数据思维,都要细节优化,最后只给应届生薪资推新,市场行情不知道是不是我运气问题
年少轻狂的代价就是容易冲动,选择任何工作的优劣势都可以用时间来弥补,但是外面的行情和水平要求 你可以在职去了解一下,综合来判断你是要推新的成长 内部机会 还是外部机会。
Jeff他姐夫
想达到月薪3万,肯定没那么容易,起码要有好几年经验。
亚马逊运营的工资,一般是底薪加提成,那你必须做出相应的业绩才行,也就是说你得值这个钱,且能创造更大的效益。
至于运营的能力也就哪些,比如市场分析洞察、listing打造、品类清晰把控、广告运营、备货规划等。
简单点说,工作内容大差不差就那些,关键的一点,能不能把活做细做精,有句这样的话“差之毫厘,谬以千里”长期以往下来,做细做精就成了你的核心竞争力。
对于想把3万薪资,定为目标的小伙伴,需要具备分析拆解能力,把运营需要具备的能力拆解出来。
一个一个去学习精进,然后利用到日常工作中,等你走完一个来回,具备这些能力,值这个价了,薪资是水到渠成的事。
虽然我没有拿过3万月薪,但我觉得跟我自己做亚马逊是一样的,拆解、学习、执行、复盘,不断循环。最后获得自己想要的结果!
享受和煦的风
赞同来自: Melody秋
我20年4月份入坑亚马逊,对成长的路颇有心得。
入坑第3个月:自信摸清了门道,觉得亚马逊不过如此。
入坑第6个月:想升运营却未通过,觉得公司不识才。
入坑1年:决心离开,相信此处不留人,自有留人处。
入坑2年:庆幸跳槽果断,薪资翻了一番。
入坑3年:接触越深,越发现自己所知甚少,重新陷入学习。
入坑4年:不再追求“单一推广方法”,而是持续打磨和优化每一个运营细节。
入坑5年:深刻体会到,选品才是持久战的根本,好产品才是天花板。
……,……
从自信爆棚到自我怀疑,再到沉淀深耕。这就是蜕变的过程
享受和煦的风 • 深圳 • 3 小时前
言下之意:每次的决定都是一个蜕变的过程,随着时间和经历心性会得到改变。当你的狂被理性取代的时候,就是你离成功更进一步的时候。
匿名用户
赞同来自: 小狗也得吃饭
我目前就在杭州,可以和大家分享一下我的职业发展,希望可以给到大家一些参考
18年深圳入行,4.5包吃住;第一家干了2年,底薪5500,加提成1w多吧,第一次跳槽,期间升为主管,底薪1w,加提成大概1.6w左右
21年来杭州入职第一家公司,底薪2w,加提成大概2.6w左右;目前第四家,底薪2.4w,但是社保公积金是顶格缴纳的,算上这个,底薪应该也到3w上下了,提成是项目净利润的10-15%
总结:确实跳槽是涨薪(底薪)的最有效手段,但会影响提成;我比较喜欢开荒,开荒的薪资会很不错,但同时要面临卸磨杀驴的风险(我就遇到过)
路不识Jatty0323 • 香港特别行政区
在杭州属于顶级运营了
匿名用户
赞同来自: 手写的从前 、 皮卡皮卡 、 眼睛里星河璀璨
踏踏实实的拿3w不香吗,非要作一下,家里有矿?
太理想主义了,追求自我成长的核心最后不还是为了提高收入,经济基础决定上层建筑,少做梦多做事,跳到其他公司多倍敲打几次就知道现在有多香了。
再者说,现在的环境也不影响自我提升,反而是有更多主动权和资源,自我学习条件要比同水平运营好上多少倍,工作不像学校上课,大多数事情都是干中学,自己学。
想说的话很多,想想还是删掉,人各有志,希望博主将来会有更高的发展。
匿名用户 • 杭州 • 22 小时前
干中学很认同
匿名用户
赞同来自: 手写的从前
说实话,接手的老品提成能按之前的全转移给你是我最羡慕的,论坛至少95%的老哥没有这种好运吧。维护老品大家应该都有经验,基本就是什么都不做只要保持库存充足就行了,这样能月薪两万其实还是运气成分居多一点。
出去想月薪三万要么做管理层,要么拿高于正常水平的提成点,比如一般人拿5个点提成,你上来就是10个点,15个点,这同样很难,跳槽之后至少相当长时间里薪资还不如现在
需要沉淀
不想换行业,又不想往管理层的方向上走,你这是把自己的路堵死了啊
正常亚马逊运营,月薪3w(以我的了解杭州15k+提成已经算比较高了,相当于提成也要15k),要么是开荒的公司遇到了爆款,要么就是开发能力强自己开发出了爆款,其余的基本不可能达到(管理层拿分红的除外),所以我感觉你如果想达到这个目的最后只能是单干或者就是运气好找到一个非常大方的老板。。







其他
04-09 周四











