卖家血亏!亚马逊惊现大批白嫖订单,背后有专业团队操作!
前有封号潮,关联潮,现在再加一个“白嫖行为”?
亚马逊的退货政策一直广为卖家诟病,不仅退货时间相当之长,往往还要忍受买家各种无理由的退款和退货。
近日,有卖家发帖称:亚马逊最近出现大量的直接退款,无法退货,这单就算完成了,那么这样是不是客户都可以白嫖了,这种情况几乎占了九成。
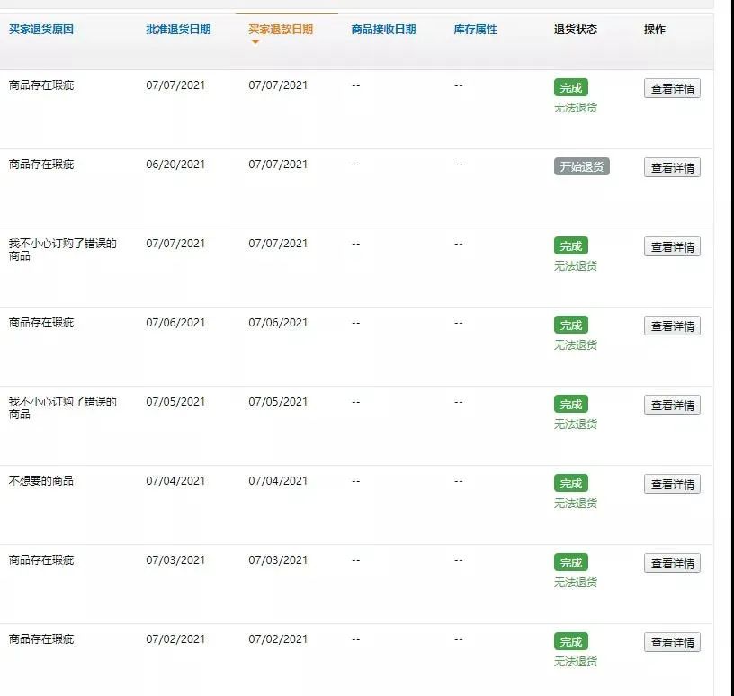
随后,该卖家晒出了其退货记录截图,可以看到,从7月份开始,该卖家的退款订单数量就明显增加,且多数发起退款的订单都是无法退货的。
这就意味着卖家不仅要退还买家货款,还将该商品免费赠与了买家,也就是卖家口中的“白嫖行为。”

而回顾此前亚马逊发布的公告,可以看出此次退款不退货事件其实早有端倪。
亚马逊表示,对于廉价商品或超大件商品,这些商品会产生高昂的运输费用,卖家退还商品原价,并让客户保留或捐赠产品,可以给卖家节省成本。
这就意味着,亚马逊将根据这个产品的价值,去判定该产品值不值得退货;如果不值得,将直接对买家“退款不退货”,而这个产品的成本将由卖家自行承担。
亚马逊退货时限之长本就令一众卖家感到无奈,而如今的只退款不退货更是让利润本就单薄的卖家雪上加霜。
不过,亚马逊4月中旬就生效的退货更新政策,为何在7月初集中爆发了呢?
一位卖家表示:算了下,从6月30日开始就出现这种“无法退货”的订单,到今天已经有245单,等于这245单的款全没了,货也全没了。不知道这个要持续多久……
目前已经有大量卖家有遭遇这一问题的困扰,这一问题自7月份开始爆发,退款原因多为“我不小心订购了错误的商品”,“我在别的地方发现了更优惠的价格”等,无论是何种理由,都无法退货,卖家的货款也随之凭空消失。

联系一下6月末大事,正是亚马逊的重要大促节日——会员日Primeday。老卖家都知道,每年会员日结束之后,都会有一大波退货潮,很多在大促节日中冲动购物的消费者会选择退回商品。
而亚马逊此前为了吸引更多消费者在大促日冲动消费,延长了大促后可以退货的时限。在去年黑五网一时候,甚至延后了一个月之久,大促订单在一个月内都可以退货退款。
在今年这次会员日中,亚马逊同样也有延长退货政策,甚至不只是延长期限这么简单。有卖家猜测,亚马逊为了进一步刺激冲动消费,而对整个退货审批进行了“放宽标准”或者是出现了审批漏洞,这才让买错产品这种理由也能不退货退款!
有卖家尝试开case咨询此问题,客服却回复道:不知道是不是亚马逊最近更新了规则,官方也没知会我们卖家支持团队。我们也收到了不少买家相关的咨询,因为FBA的售后是由美国的客户服务团队来处理的 ,他们如果觉得买家不需要退货 ,就会直接退款给买家而不要求他们退货。”
当然,如果只是亚马逊方面审核上的漏洞,还不足以造成这么多激增的不退款退货,毕竟大部分消费者还是会用正常的退款退货流程,那么哪里还有问题?
海外正有一群人盯着我们电商卖家,利用亚马逊审批的这个漏洞大肆恶意退款。
从外媒的渠道了解到,近期美国卖家也有很多向媒体反映遇到大量恶意退款的情况,而调查后发现,竟然有一批人,专门在购物之后利用亚马逊的漏洞恶意退款不退货。

据曝光称,这群人会在下订单收到包裹之后,打电话给亚马逊FBA客服,称自己没有收到货。并利用平台对消费者的保护,以及他们尝试出来的亚马逊退款审批漏洞,获得不退款退货的批准。
这个操作甚至衍生出专业退款团队,普通消费者也可以下单购物之后,请他们出面联系亚马逊客服获得全额退款并保留产品,团队会收取一定产品金额提点作为报酬。
亚马逊修改退款政策带来的漏洞,加上有人恶意利用和6月末的这波退货潮,三重效应叠加造成了7月以来大批卖家出现不退货退款的订单。各位卖家赶紧看看自己有没有这样的订单,有的话赶紧开case处理。

前有封号潮,关联潮,现在再加一个“白嫖行为”?
亚马逊的退货政策一直广为卖家诟病,不仅退货时间相当之长,往往还要忍受买家各种无理由的退款和退货。
近日,有卖家发帖称:亚马逊最近出现大量的直接退款,无法退货,这单就算完成了,那么这样是不是客户都可以白嫖了,这种情况几乎占了九成。
随后,该卖家晒出了其退货记录截图,可以看到,从7月份开始,该卖家的退款订单数量就明显增加,且多数发起退款的订单都是无法退货的。
这就意味着卖家不仅要退还买家货款,还将该商品免费赠与了买家,也就是卖家口中的“白嫖行为。”

而回顾此前亚马逊发布的公告,可以看出此次退款不退货事件其实早有端倪。
亚马逊表示,对于廉价商品或超大件商品,这些商品会产生高昂的运输费用,卖家退还商品原价,并让客户保留或捐赠产品,可以给卖家节省成本。
这就意味着,亚马逊将根据这个产品的价值,去判定该产品值不值得退货;如果不值得,将直接对买家“退款不退货”,而这个产品的成本将由卖家自行承担。
亚马逊退货时限之长本就令一众卖家感到无奈,而如今的只退款不退货更是让利润本就单薄的卖家雪上加霜。
不过,亚马逊4月中旬就生效的退货更新政策,为何在7月初集中爆发了呢?
一位卖家表示:算了下,从6月30日开始就出现这种“无法退货”的订单,到今天已经有245单,等于这245单的款全没了,货也全没了。不知道这个要持续多久……
目前已经有大量卖家有遭遇这一问题的困扰,这一问题自7月份开始爆发,退款原因多为“我不小心订购了错误的商品”,“我在别的地方发现了更优惠的价格”等,无论是何种理由,都无法退货,卖家的货款也随之凭空消失。

联系一下6月末大事,正是亚马逊的重要大促节日——会员日Primeday。老卖家都知道,每年会员日结束之后,都会有一大波退货潮,很多在大促节日中冲动购物的消费者会选择退回商品。
而亚马逊此前为了吸引更多消费者在大促日冲动消费,延长了大促后可以退货的时限。在去年黑五网一时候,甚至延后了一个月之久,大促订单在一个月内都可以退货退款。
在今年这次会员日中,亚马逊同样也有延长退货政策,甚至不只是延长期限这么简单。有卖家猜测,亚马逊为了进一步刺激冲动消费,而对整个退货审批进行了“放宽标准”或者是出现了审批漏洞,这才让买错产品这种理由也能不退货退款!
有卖家尝试开case咨询此问题,客服却回复道:不知道是不是亚马逊最近更新了规则,官方也没知会我们卖家支持团队。我们也收到了不少买家相关的咨询,因为FBA的售后是由美国的客户服务团队来处理的 ,他们如果觉得买家不需要退货 ,就会直接退款给买家而不要求他们退货。”
当然,如果只是亚马逊方面审核上的漏洞,还不足以造成这么多激增的不退款退货,毕竟大部分消费者还是会用正常的退款退货流程,那么哪里还有问题?
海外正有一群人盯着我们电商卖家,利用亚马逊审批的这个漏洞大肆恶意退款。
从外媒的渠道了解到,近期美国卖家也有很多向媒体反映遇到大量恶意退款的情况,而调查后发现,竟然有一批人,专门在购物之后利用亚马逊的漏洞恶意退款不退货。

据曝光称,这群人会在下订单收到包裹之后,打电话给亚马逊FBA客服,称自己没有收到货。并利用平台对消费者的保护,以及他们尝试出来的亚马逊退款审批漏洞,获得不退款退货的批准。
这个操作甚至衍生出专业退款团队,普通消费者也可以下单购物之后,请他们出面联系亚马逊客服获得全额退款并保留产品,团队会收取一定产品金额提点作为报酬。
亚马逊修改退款政策带来的漏洞,加上有人恶意利用和6月末的这波退货潮,三重效应叠加造成了7月以来大批卖家出现不退货退款的订单。各位卖家赶紧看看自己有没有这样的订单,有的话赶紧开case处理。




福建
12-12 周五











