音乐拳击机 发明专利防侵权检索报告(侵权)-案例展示
平台新政&爆款打造及差异化布局攻略揭秘,手把手教你进军巴西>>>


二、相关专利分析
专利库:美国
对比文件1:US11266894B2 互动式运动训练系统 申请日:2018.11.12(有效,侵权)
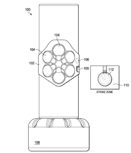
交互式锻炼和训练系统100 用于锻炼和训练的交互式系统。主要部件是适于缠绕或以其他方式固定到拳击或踢腿袋的柔性外壳,其中该外壳支撑围绕中心部分定位的冲击垫阵列。阵列中的每个撞击垫包括用于检测撞击的力传感器,以及多个发光二极管 (LED),这些发光二极管 (LED) 位于力传感器周围,并且当用户准确地撞击垫时(例如,在预定的打击区内和预定的时间内)。此外,每个撞击垫都具有与其相关联的将撞击垫连接到中心部分的延伸(或连接)部分。连接部分有利地包括一组LED,这些LED被选择性地点亮以向用户发送命中点,即与连接部分相关联的撞击垫。

1.一种方法,包括:将主体定位在支撑件上,主体包括有选择地定位以提供一组命中目标的打击垫阵列,其中每个打击垫具有与其相关联的一组指示灯,该指示灯被配置为终止于打击垫的跑道,以及力传感器;将控制信号以通信方式耦合到主体,以选择性地激活跑道中的指示灯,以发送编程的击球序列,其中,编程的击球序列包括一组与音频文件定时协调同步的打击垫提示;和接收由力传感器产生的信号,该信号指示用户对编程的击打序列的响应;其中编程的击打序列同时提供给一组用户,该组用户包括与定位在支撑件上的主体相关联的用户,从而提供关于编程的击打序列的多用户交互性。
分析:从功能上来看:该权利要求限定了击打序列是可与多用户交互的,根据该专利说明书的记载,当用户与系统交互时,通过测量速度、时间和准确度以确定分数,也即可以记录不同用户的击打速度、时间和准确度,并对不同的用户进行打分;本商品也包括多个模式,也即不同的模式对应于多用户,而且可以记录击打得分,因此也包括多用户交互。从结构上来看:本商品包括在击打垫四周的指示灯,但是未配置跑道灯,权利要求限定了“该指示灯被配置为终止于打击垫的跑道...,以选择性地激活跑道中的指示灯”,跑道可以包括灯也可以不包括灯,本商品也可认定为包括跑道(跑道中未设置跑道灯);因此,本商品存在侵权风险。
对比文件2:US10124227B1互动运动训练系统 申请日:2018.06.24(有效,不侵权)
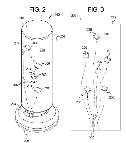
互动运动训练系统包括柔性壳体,其适于包裹在出气筒周围。外壳支撑敲击垫阵列。阵列中的每个打击垫均包括用于检测打击的力传感器,以及位于力传感器周围并在用户准确打击打击垫时点亮的多个发光二极管(LED)。另外,每个敲击垫具有与其相关联的延伸部分,该延伸部分将敲击垫连接至中心部分。有利地,连接部分包括一组LED,其被选择性地点亮以向用户传达命中点,即与连接部分相关联的敲击垫。

1.一种系统,包括:本体,所述本体包括打击垫阵列,所述阵列包括中心部分、一组连接元件和一组打击垫,所述一组打击垫被选择性地定位以提供一组命中目标,其中每个特定的连接元件与特定的撞击垫相关联,并且被定位在所述中心部分和所述特定撞击垫的中间并且沿着从所述中心部向外延伸的线,其中每个特定连接元件包括沿着所述线线性地定位的一组发光二极管(LED),其中,每个撞击垫具有与其相关联的力传感器、围绕外周定位的一组LED和沿着所述线定位的一套LED,其中,所述特定连接元件上的所述一组LED与沿着所述线上定位的所述特定撞击垫的所述组LED一起包括与所述特定的撞击垫相关联的一组跑道灯;和
控制器单元,所述控制器单元被配置为通信地耦合到所述打击垫阵列,并且包括控制电路,所述控制电路提供控制信号以选择性地激活所述跑道灯以电报编程的打击序列,并且接收由所述力传感器产生的电信号。
分析:该权利要求限定“每个特定连接元件包括沿着所述线线性地定位的一组发光二极管(LED)”本商品不包括跑道灯,因此本商品提供了不同于权利要求的结构,因此不会造成侵权。
对比文件3:US20220184480A1互动式运动训练系统 申请日:2022.03.07(授权,未侵权)
沙袋训练包括适于缠绕沙袋的柔性外壳。外壳支撑打击垫阵列。阵列中的每个打击垫包括用于检测打击的力传感器,以及多个发光二极管 (LED),这些发光二极管 (LED) 位于力传感器周围并且当用户准确地打击打击垫时(例如,在预定的打击内)发光区,并在预定时间内)。此外,每个撞击垫都具有与其相关联的将撞击垫连接到中心部分的延伸(或连接)部分。连接部分有利地包括一组LED,这些LED被选择性地点亮以向用户发送命中点,即与连接部分相关联的撞击垫。布置在连接部分上的 LED 用作跑道,其中 LED 从中心部分逐渐点亮并向外朝向撞击垫以编程的撞击顺序被击中。

1 .一种与第一和第二用户相关联而执行的方法,每个用户都与训练设备相关联,该训练设备包括被配置为定位在支撑表面上或与支撑表面相关联的主体,该主体包括有选择地定位以提供训练的冲击垫阵列。一组打击目标,其中每个打击垫都具有与其相关联的一组指示灯,以及一个力传感器,该方法包括: 向第二用户输出内容,该内容先前已经在涉及第一用户与与第一用户相关联的训练设备交互的训练会话中生成,该内容具有与其相关联的数据集,该数据集包括按时间顺序排列的一组命中点,其中命中点表示第一用户与特定的打击垫交互;和 当内容被输出到第二用户时,至少部分地基于在涉及第一用户的训练课程期间记录的数据集选择性地触发与第二用户相关联的训练设备中的指示灯组。
分析:权利要求限定了两用户相互关联的交互训练方法,本商品为多模式训练方式,不同的模式之间不存在关联,因此不会造成侵权。
对比文件4:US8079938B2拳击武术搏击,教练,游戏系统及方法 申请日:2010.11.01(有效,不侵权)
一种拳击或武术训练和/或锻炼装置,包括一个或多个在位置上移位并支撑在框架上的打孔垫。各个垫板位于机架上的支撑位置,用于打孔和踢动。每个垫可通信地连接到一个或多个冲击传感器。每个冲击传感器通信地连接到控制单元。控制单元通信地连接到显示器。碰撞传感器检测到触摸板的触摸和敲击,并向检测的控制单元发送信号。响应于检测,控制单元根据战斗序列,训练序列或其他序列来引导显示器中示出的序列。该控制单元包括一个用户界面,用于在序列之间进行选择,以及为各种类型的序列选择各种菜单项。

1.一种交互式拳击装置,包括: 一个框架; 多个臂,所述多个臂中的每个臂分别连接到所述框架并从所述框架向外延伸; 多个单独的垫,多个单独的垫中的每个单独的垫专门连接到臂中的一个,每个臂具有至少一个明显地连接到该臂的垫; 多个冲击传感器,所述多个冲击传感器中的每个冲击传感器专门地通信地连接到所述单个垫的不同的一个,每个单独的垫具有至少一个明显地连接到所述单个垫的冲击传感器; 控制单元可通信地连接到多个冲击传感器中的每个冲击传感器;和 连接到控制单元的显示器。
分析:该专利提供了一种背景技术方案,该权利要求限定拳击装置包括一个框架; 多个臂在不同的臂上设置击打垫,与本商品结构不同,因此不会造成侵权。
一种具有云技术的拳击健身器及其检测方法。一种具有云技术的拳击健身设备,包括拳击板,存储设备,指示设备,多个传感设备,第一可穿戴设备,第二可穿戴设备以及操作单元。通知装置可以设置在拳击板上。感测设备可以与拳击板连接。操作单元可以电连接到感测设备。结合存储设备中的不同歌曲,可以进行拳击和锻炼以达到多种锻炼方式。娱乐的目的还可以通过将输入的音乐转换为击打指示或将从击中检测到的信号转换为包括音阶,节奏,音量,旋律和音调的音乐来实现。

1.一种采用云技术的拳击健身器,包括:拳击板;一种存储设备,存储至少一个歌曲轨道中包含的音阶,节奏,音量,旋律和音调中的一个或多个;处理单元,获取音阶,节奏,音量,旋律和音调中的一个或多个,并根据歌曲轨道中包括的节奏,频率和左,右声道音量中的一个或多个来生成设置信号;运算单元,电性连接至处理单元,并根据设定信号产生第一控制信号。通知装置,设置在拳击板上,并根据第一控制信号发送通知消息;和感测装置分别连接至拳击板,并根据通知消息感测使用者击打拳击板,并产生拳击感测信号。其中,操作单元电性连接感测装置与通知装置,并根据装箱感测信号产生第二控制信号。通知设备根据第二控制信号发送结果消息;其中,拳击板包括多个拳击区,并且多个拳击区分别代表与歌曲曲目相对应的音阶,节奏,音量,旋律和音调之一。
分析:该权利要求限定了将歌曲转换为击打序列的设备,本商品为内置的击打序列,两者提供的击打序列不同,且该专利已放弃,因此不会造成侵权。
对比文件6:US9027415B2力感测跆拳道设备及其制造方法 申请日:2013.06.14(有效,不侵权)
一种力感测跆拳道设备及其制造方法。示例设备包括:主体,其包括面向外部的第一侧面和面向内部的第二侧面;电子设备,其连接到主体并且被配置为提供与主体相关联的信息;传感器壳体,其附接至主体的第二侧面的一部分。在传感器壳体和面向内部的第二侧面的一部分之间形成口袋,以及位于该口袋内并通信地耦合到电子设备的传感器,该传感器被配置为检测物体接触身体的第一侧面的一部分。

1.一种力感测装置,包括:主体,包括面向外部的第一侧和面向内部的第二侧;电子设备,其连接到身体并被配置为提供与身体相关的信息;传感器外壳;和一个传感器,其中,传感器壳体附接到主体的第二侧的一部分,从而在传感器壳体与面向内部的第二侧的一部分之间形成袋,其中,所述传感器位于所述口袋内并通信地耦合到所述电子设备,所述传感器被配置为检测与所述传感器的附近接触所述身体的第一侧的一部分的物体,其中,传感器壳体被配置为使传感器接触面向内部的第二侧,以及其中,电子设备被配置为基于从传感器接收的数据来计数身体的撞击次数。
分析:该权利要求限定了传感器布置在沙袋形击打装置上,并且传感器用于计数身体的撞击次数,提供了本商品的背景技术方案,与本商品的结构和使用方法均不相同。
三、分析结论
经过检索,美国专利关于交互式击打训练器的外观专利比较多,本商品具有侵权风险的是对比文件1(US11266894B2);
从功能上来看:涉案专利与本商品均包括多用户交互的击打序列,并可以根据用户击打的速度、时间和准确度确定分数。
从结构上来看:涉案专利包括跑道,根据说明书的解读,跑道特指从中心部分到击打垫之间的连线,用于指示击打垫的指示灯光,跑道的直线部分可以包括灯也可以不包括灯,因此本商品也可认定为包括跑道,但跑道中未设置跑道灯;因此,从结构上来看,本商品与涉案专利权利要求限定的技术方案一致,因此,本商品存在较高的侵权风险。




二、相关专利分析
专利库:美国
对比文件1:US11266894B2 互动式运动训练系统 申请日:2018.11.12(有效,侵权)
交互式锻炼和训练系统100 用于锻炼和训练的交互式系统。主要部件是适于缠绕或以其他方式固定到拳击或踢腿袋的柔性外壳,其中该外壳支撑围绕中心部分定位的冲击垫阵列。阵列中的每个撞击垫包括用于检测撞击的力传感器,以及多个发光二极管 (LED),这些发光二极管 (LED) 位于力传感器周围,并且当用户准确地撞击垫时(例如,在预定的打击区内和预定的时间内)。此外,每个撞击垫都具有与其相关联的将撞击垫连接到中心部分的延伸(或连接)部分。连接部分有利地包括一组LED,这些LED被选择性地点亮以向用户发送命中点,即与连接部分相关联的撞击垫。

1.一种方法,包括:将主体定位在支撑件上,主体包括有选择地定位以提供一组命中目标的打击垫阵列,其中每个打击垫具有与其相关联的一组指示灯,该指示灯被配置为终止于打击垫的跑道,以及力传感器;将控制信号以通信方式耦合到主体,以选择性地激活跑道中的指示灯,以发送编程的击球序列,其中,编程的击球序列包括一组与音频文件定时协调同步的打击垫提示;和接收由力传感器产生的信号,该信号指示用户对编程的击打序列的响应;其中编程的击打序列同时提供给一组用户,该组用户包括与定位在支撑件上的主体相关联的用户,从而提供关于编程的击打序列的多用户交互性。
分析:从功能上来看:该权利要求限定了击打序列是可与多用户交互的,根据该专利说明书的记载,当用户与系统交互时,通过测量速度、时间和准确度以确定分数,也即可以记录不同用户的击打速度、时间和准确度,并对不同的用户进行打分;本商品也包括多个模式,也即不同的模式对应于多用户,而且可以记录击打得分,因此也包括多用户交互。从结构上来看:本商品包括在击打垫四周的指示灯,但是未配置跑道灯,权利要求限定了“该指示灯被配置为终止于打击垫的跑道...,以选择性地激活跑道中的指示灯”,跑道可以包括灯也可以不包括灯,本商品也可认定为包括跑道(跑道中未设置跑道灯);因此,本商品存在侵权风险。
对比文件2:US10124227B1互动运动训练系统 申请日:2018.06.24(有效,不侵权)
互动运动训练系统包括柔性壳体,其适于包裹在出气筒周围。外壳支撑敲击垫阵列。阵列中的每个打击垫均包括用于检测打击的力传感器,以及位于力传感器周围并在用户准确打击打击垫时点亮的多个发光二极管(LED)。另外,每个敲击垫具有与其相关联的延伸部分,该延伸部分将敲击垫连接至中心部分。有利地,连接部分包括一组LED,其被选择性地点亮以向用户传达命中点,即与连接部分相关联的敲击垫。

1.一种系统,包括:本体,所述本体包括打击垫阵列,所述阵列包括中心部分、一组连接元件和一组打击垫,所述一组打击垫被选择性地定位以提供一组命中目标,其中每个特定的连接元件与特定的撞击垫相关联,并且被定位在所述中心部分和所述特定撞击垫的中间并且沿着从所述中心部向外延伸的线,其中每个特定连接元件包括沿着所述线线性地定位的一组发光二极管(LED),其中,每个撞击垫具有与其相关联的力传感器、围绕外周定位的一组LED和沿着所述线定位的一套LED,其中,所述特定连接元件上的所述一组LED与沿着所述线上定位的所述特定撞击垫的所述组LED一起包括与所述特定的撞击垫相关联的一组跑道灯;和
控制器单元,所述控制器单元被配置为通信地耦合到所述打击垫阵列,并且包括控制电路,所述控制电路提供控制信号以选择性地激活所述跑道灯以电报编程的打击序列,并且接收由所述力传感器产生的电信号。
分析:该权利要求限定“每个特定连接元件包括沿着所述线线性地定位的一组发光二极管(LED)”本商品不包括跑道灯,因此本商品提供了不同于权利要求的结构,因此不会造成侵权。
对比文件3:US20220184480A1互动式运动训练系统 申请日:2022.03.07(授权,未侵权)
沙袋训练包括适于缠绕沙袋的柔性外壳。外壳支撑打击垫阵列。阵列中的每个打击垫包括用于检测打击的力传感器,以及多个发光二极管 (LED),这些发光二极管 (LED) 位于力传感器周围并且当用户准确地打击打击垫时(例如,在预定的打击内)发光区,并在预定时间内)。此外,每个撞击垫都具有与其相关联的将撞击垫连接到中心部分的延伸(或连接)部分。连接部分有利地包括一组LED,这些LED被选择性地点亮以向用户发送命中点,即与连接部分相关联的撞击垫。布置在连接部分上的 LED 用作跑道,其中 LED 从中心部分逐渐点亮并向外朝向撞击垫以编程的撞击顺序被击中。

1 .一种与第一和第二用户相关联而执行的方法,每个用户都与训练设备相关联,该训练设备包括被配置为定位在支撑表面上或与支撑表面相关联的主体,该主体包括有选择地定位以提供训练的冲击垫阵列。一组打击目标,其中每个打击垫都具有与其相关联的一组指示灯,以及一个力传感器,该方法包括: 向第二用户输出内容,该内容先前已经在涉及第一用户与与第一用户相关联的训练设备交互的训练会话中生成,该内容具有与其相关联的数据集,该数据集包括按时间顺序排列的一组命中点,其中命中点表示第一用户与特定的打击垫交互;和 当内容被输出到第二用户时,至少部分地基于在涉及第一用户的训练课程期间记录的数据集选择性地触发与第二用户相关联的训练设备中的指示灯组。
分析:权利要求限定了两用户相互关联的交互训练方法,本商品为多模式训练方式,不同的模式之间不存在关联,因此不会造成侵权。
对比文件4:US8079938B2拳击武术搏击,教练,游戏系统及方法 申请日:2010.11.01(有效,不侵权)
一种拳击或武术训练和/或锻炼装置,包括一个或多个在位置上移位并支撑在框架上的打孔垫。各个垫板位于机架上的支撑位置,用于打孔和踢动。每个垫可通信地连接到一个或多个冲击传感器。每个冲击传感器通信地连接到控制单元。控制单元通信地连接到显示器。碰撞传感器检测到触摸板的触摸和敲击,并向检测的控制单元发送信号。响应于检测,控制单元根据战斗序列,训练序列或其他序列来引导显示器中示出的序列。该控制单元包括一个用户界面,用于在序列之间进行选择,以及为各种类型的序列选择各种菜单项。

1.一种交互式拳击装置,包括: 一个框架; 多个臂,所述多个臂中的每个臂分别连接到所述框架并从所述框架向外延伸; 多个单独的垫,多个单独的垫中的每个单独的垫专门连接到臂中的一个,每个臂具有至少一个明显地连接到该臂的垫; 多个冲击传感器,所述多个冲击传感器中的每个冲击传感器专门地通信地连接到所述单个垫的不同的一个,每个单独的垫具有至少一个明显地连接到所述单个垫的冲击传感器; 控制单元可通信地连接到多个冲击传感器中的每个冲击传感器;和 连接到控制单元的显示器。
分析:该专利提供了一种背景技术方案,该权利要求限定拳击装置包括一个框架; 多个臂在不同的臂上设置击打垫,与本商品结构不同,因此不会造成侵权。
一种具有云技术的拳击健身器及其检测方法。一种具有云技术的拳击健身设备,包括拳击板,存储设备,指示设备,多个传感设备,第一可穿戴设备,第二可穿戴设备以及操作单元。通知装置可以设置在拳击板上。感测设备可以与拳击板连接。操作单元可以电连接到感测设备。结合存储设备中的不同歌曲,可以进行拳击和锻炼以达到多种锻炼方式。娱乐的目的还可以通过将输入的音乐转换为击打指示或将从击中检测到的信号转换为包括音阶,节奏,音量,旋律和音调的音乐来实现。

1.一种采用云技术的拳击健身器,包括:拳击板;一种存储设备,存储至少一个歌曲轨道中包含的音阶,节奏,音量,旋律和音调中的一个或多个;处理单元,获取音阶,节奏,音量,旋律和音调中的一个或多个,并根据歌曲轨道中包括的节奏,频率和左,右声道音量中的一个或多个来生成设置信号;运算单元,电性连接至处理单元,并根据设定信号产生第一控制信号。通知装置,设置在拳击板上,并根据第一控制信号发送通知消息;和感测装置分别连接至拳击板,并根据通知消息感测使用者击打拳击板,并产生拳击感测信号。其中,操作单元电性连接感测装置与通知装置,并根据装箱感测信号产生第二控制信号。通知设备根据第二控制信号发送结果消息;其中,拳击板包括多个拳击区,并且多个拳击区分别代表与歌曲曲目相对应的音阶,节奏,音量,旋律和音调之一。
分析:该权利要求限定了将歌曲转换为击打序列的设备,本商品为内置的击打序列,两者提供的击打序列不同,且该专利已放弃,因此不会造成侵权。
对比文件6:US9027415B2力感测跆拳道设备及其制造方法 申请日:2013.06.14(有效,不侵权)
一种力感测跆拳道设备及其制造方法。示例设备包括:主体,其包括面向外部的第一侧面和面向内部的第二侧面;电子设备,其连接到主体并且被配置为提供与主体相关联的信息;传感器壳体,其附接至主体的第二侧面的一部分。在传感器壳体和面向内部的第二侧面的一部分之间形成口袋,以及位于该口袋内并通信地耦合到电子设备的传感器,该传感器被配置为检测物体接触身体的第一侧面的一部分。

1.一种力感测装置,包括:主体,包括面向外部的第一侧和面向内部的第二侧;电子设备,其连接到身体并被配置为提供与身体相关的信息;传感器外壳;和一个传感器,其中,传感器壳体附接到主体的第二侧的一部分,从而在传感器壳体与面向内部的第二侧的一部分之间形成袋,其中,所述传感器位于所述口袋内并通信地耦合到所述电子设备,所述传感器被配置为检测与所述传感器的附近接触所述身体的第一侧的一部分的物体,其中,传感器壳体被配置为使传感器接触面向内部的第二侧,以及其中,电子设备被配置为基于从传感器接收的数据来计数身体的撞击次数。
分析:该权利要求限定了传感器布置在沙袋形击打装置上,并且传感器用于计数身体的撞击次数,提供了本商品的背景技术方案,与本商品的结构和使用方法均不相同。
三、分析结论
经过检索,美国专利关于交互式击打训练器的外观专利比较多,本商品具有侵权风险的是对比文件1(US11266894B2);
从功能上来看:涉案专利与本商品均包括多用户交互的击打序列,并可以根据用户击打的速度、时间和准确度确定分数。
从结构上来看:涉案专利包括跑道,根据说明书的解读,跑道特指从中心部分到击打垫之间的连线,用于指示击打垫的指示灯光,跑道的直线部分可以包括灯也可以不包括灯,因此本商品也可认定为包括跑道,但跑道中未设置跑道灯;因此,从结构上来看,本商品与涉案专利权利要求限定的技术方案一致,因此,本商品存在较高的侵权风险。







其他
04-16 周四










