【关于产品认证你或许想了解的】 德国WEEE产品
AI设计/3D打印/欧洲市场实战拆解,点击报名

【关于产品认证你或许想了解的】
德国WEEE产品

产品政策
合规流程
产品信息
常见问题


一、产品政策

(一)什么是WEEE?
WEEE即Waste Electrical and Electronic Equipment (WEEE) Directive (2002/96/EC),报废的电子电气设备。
2005年8月13日,欧盟《关于报废电子电气设备指令》和《禁止在电子电气设备中使用有害物质指令》以及在此基础上德国制订的《德国电子电气法》(ElektroG)生效,欧盟市场上流通的电子电气设备的生产商必须在法律上承担起支付报废产品回收费用的责任,同时欧盟各成员国有义务制定自己的电子电气产品回收计划,建立相关配套回收设施,使电子电气产品的最终用户能够方便并且免费地处理报废设备。
法规主要目的:预防废弃物的产生,其次是为方便废弃物进行再回收、再使用、再制造,减少资源浪费。
在2016年4月24号,德国环保部门专门发布了针对电商的法律并要求亚马逊必须通知在其平台上销售的境外电商进行电子设备回收的注册。也就是说,商家在取得WEEE电子设备回收注册码之前,不允许在亚马逊平台上销售产品。
(二)为何要注册WEEE并回收电子设备?不合规有什么后果?
环保要求:欧盟是一个对环保要求非常严格的地区,电子回收法律对土壤污染和地下水的保护起到至关重要的作用。
不注册并回收会有什么后果?
EAR/德国环境保护协会/竞争对手发现你的产品没印上垃圾桶标志或没有注册回收,会有以下惩罚——被亚马逊封锁listing,产品无法销售。
德国的监管部门尤其是市场监督局会根据相应的进口数量以及销售历史等等,进行相应的处罚,罚款高达到十万欧元;
直接没收您由此销售所产生的所有盈利;
直接停止您这个账户或者您这个公司在德国的所有销售;
更严重的就会提醒律师对您这个违规行为进行起诉,并且追溯相应的刑事以及民事责任。
注:亚马逊目前是抽查状态,建议尽早注册,否则一旦被投诉/抽查,产品售卖不了,对客户损失也很大。且德国WEEE无法加急。
(三)WEEE-亚马逊不定期会进行审查
亚马逊不定期会对平台上销售的产品进行合规审查,发现产品不符合合规要求,会要求卖家提供WEEE相关证书或下架产品。据亚马逊告知,接下来会在产品合规方面加大审查,所以对于电子电器产品而言,WEEE注册及申报必不可少。以下为亚马逊卖家收到的关于德国WEEE办理的邮件:


二、合规流程

(一)谁有责任注册并申报德国WEEE?
在德国销售电子电器的生产商需要注册“德国WEEE”
进行德国WEEE注册的主体是“producer”(生产商),这里生产商有两种定义:
①第一种:自己生产产品,并且以自己的名义和品牌上市。
②第二种:自己不生产产品,从其他工厂拿货,但是对外表现为生产商(比如包装/产品上打自己的品牌,公司名称和地址等)
如产品上没有留公司名称和地址,则是违规。根据欧盟法规,产品/包装一定要有公司名称和地址的。
注:
1、电子电器:只要是通电产品就需要注册,用外部电池,也代表这个产品是通电的。
2、目前亚马逊要求申请主体需要和店铺后台主体一致,所以建议客户按店铺主体申请。
(二)如何选择代理人?
根据ElectroG法案的要求,德国境外的生产商必须有设在德国境内的分公司负责注册;如果在德国境内没有分公司的,需要有授权代理人。
授权人必须是如下两类人:
◆ 律师或者注册会计师
◆ 专业的回收公司
授权人主要负责:
1)负责管理机构Stiftung EAR与制造商直接的联络,即各地方通知Stiftung EAR制造商回收废弃物时,Stiftung EAR通知代理人负责废弃物的回收工作;
2)对制造商的责任进行担保,即一旦制造商退出德国市场,代理人负责完成未销售产品与剩余废弃物的处理工作(回收的废弃物包括电子电器本身以及它们的包装)。
(三)德国WEEE注册机构EAR
根据德国ElektroG的要求,负责ElektroG执行的政府部门是联邦环保局。
EAR(die Stiftung Elektro-Altgeräte Register )电子旧设备登记基金,其主要职能是支持联邦环保局的工作,向其提供相关生产商、产品的注册以及设备回收等信息。


三、产品信息

(一)WEEE六大类

(二)划分类别判断顺序

(三)产品信息
合作方式/申请主体:以公司为主体合作收费(按自然年收费,每年11月前需告知我们是否续费第二年,付续费价,不续费则需付费注销)
费用说明:WEEE总共有6大类,我们的费用单价包括一个类别一个品牌的注册和该类当年免费的重量申报费用,如公司名下多加类目和品牌都是要增加费用的。
每类包括的申报重量额度:

时效:1-3个月(最快1个月,依据官方审核员速度而定,官方不接受加急)
所需资料:申请表+营业执照及翻译机构出具的英文翻译件(我司代处理)+产品图片(能看到品牌LOGO)
注:官方规定申请WEEE的公司,邮箱和手机号不能重复使用,故客户提交资料时,需提供未在WEEE登记过的联系方式。
合作流程:
1、前端:依据该公司名下在德国销售的电子产品的类别数和品牌数确定价格——签署合同付款
2、后端:提交公司及产品信息(每类每品牌提供一个代表性产品)——提交官网注册——下发授权书——客户签字盖章回传——下发受理书——注册成功,下证书
3、客户:客户将其注册的品牌、WEEE回收标识印在产品本身和包装上,亚马逊后台绑定WEEE——每月10号前提交上月实际销售重量给到我们申报,年终我们再总体申报一次
销售重量:结合亚马逊后台德国站的销售单量,乘以产品重量-去掉包装,得到一个总重量
注册后获得:WEEE证书
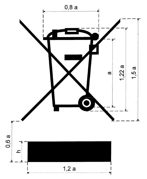
德国WEEE注册以后,需要在产品、外包装和说明书 3 个地方添加以下标志:

转代理:如客户要转代理过来,需让他的代理先注销(预计2-4周),我们同步做递交,他们那边注销成功后,我们就可以授权成功了,但中途客户的产品也有可能被投诉下架,会有些风险,看客户选择。

四、常见问题

费用问题
为何每年都得续费,如果我是当年10月才注册下来的,当年11月前就要确认明年是否续费?
官方都是按自然年收取费用的,所以我们每个自然年也需付费给他们,只要客户WEEE注册下的证书是当年的,那么次年就要再缴费。建议您及早注册,早注册下来及早对产品进行保护。
产品概念
• 亚马逊需要的是WEEE注册还是WEEE检测?
WEEE检测是检测单个产品的回收率,达到80%才能销售。做WEEE检测不被亚马逊认可。如果您的产品在欧盟,在德国销售,您需要做的是WEEE注册。
• 德国WEEE 注册可以在整个欧盟通用吗?
不可以,每个国家都需单独注册。
• 德国WEEE注册机构?EAR是什么?
EAR(die Stiftung Elektro-Altgeräte Register )是电子旧设备登记基金,德国WEEE的注册机构。其主要职能是支持联邦环保局的工作,向其提供相关生产商、产品的注册以及设备回收等信息。根据德国ElektroG的要求,负责ElektroG执行的政府部门是联邦环保局。
注册主体
• 德国WEEE 是以公司/店铺注册,还是以商品/品牌注册?
是以公司名为主体注册的,一个公司一个注册码,可以申请多个类目和品牌。但亚马逊审核WEEE的时候,会要求WEEE证书和后台的公司名字保持一致,所以平台和官方有冲突,建议以亚马逊平台要求为准,每家亚马逊店铺注册一个WEEE。
• 这个店铺的一个品牌注册了德国WEEE,这个品牌授权给了其他店铺,那么可以共用一个WEEE吗?
以公司主体注册的,跟品牌授权没关系
• X个公司注册X个WEEE,但产品是同个品牌,是否有关系?
没有关系,只要公司的联系邮箱和手机号不要重复即可
• 营业执照和店铺后台主体公司的地址不一样,以哪个为准?
官方会要求营业执照和后台信息保持一致,不然没法下证,现在改店铺后台信息很容易引发KYC审核,需要让客户选择是改后台信息,还是提供旧的营业执照过来,我们按旧的信息申请。
类别问题
• 我店铺内的产品主要是灯具,是不是都属于第3类呢?
不一定。如果只是一个简单的LED灯泡去单独销售,则属于第3类。但是如果产品的最长边(收缩到最短)不超过50cm,如台灯,则属于第5类,即小型电子电气设备。如超过50cm,如落地灯、壁灯或者吊顶灯,则是属于第4类,大型电子电气设备。
另外,很多卖家销售的LED灯串,虽然产品总长度很多超过50cm,但是属于第5类,即小型电子电气设备。WEEE产品的分类较为复杂,如无法判断,可发产品销售链接过来,我们协助判断。
• 客户是否能先注册未来要上架的产品类别?
可以先申请,提供产品图片以及技术参数过来,也可以后续上架了再提交加类申请,但加类的时间和新注册的时间是一样的,都是1-3个月,早下证书早对该产品类别产生保护。注:也是每个自然年都要续费。
注册资料问题
• 注册需要提供产品品牌吗?
需要提供,如您现在没有已注册的品牌,也可以是贵司正在注册的品牌,厂家授权的品牌,或是未来想要注册的品牌都可以。
• 非大陆公司申请德国WEEE,需要额外提供什么资料?
德国公司:需要提供德国公司营业执照、银行账户信息。如部分客户对营业执照比较敏感,可打上水印再提交。
香港公司:商业登记证,周年申报表,nnc1(香港政府下来的文件,一共有七页),营业执照
• 个体工商户提交的申请表需要注意的问题?
要在公司英文名称后面加法人的英文名字才能下证
• 是否一定要提供店铺链接,目的是什么?不方便提供是否可不提供?
1、我们核对申请的公司主体
2、要看申请的产品的相关技术参数信息(如没有产品链接,需要提供产品说明书英文版的给我们)
3、需要提供给官方审核
注册完毕后问题
• 注册完可以在哪个网上查询注册号吗?
https://www.ear-system.de/ear-verzeichnis/hersteller.jsf#no-back,一般证书注册下来,官网5-7个工作日完成更新
• 如果后续新增产品,还需要向EAR机构提交材料进行注册吗?
如果新增产品属于已经注册过的类别和品牌,则不需要再注册。如果新增产品不属于已经注册的类别和品牌,则需要及时告知我方,从而进行新增类别及品牌的注册。
• 注册完毕后,公司相关信息发生变更,是否需重新注册德国WEEE?
如果是地址发生变更,不需要重新注册,注册主体是以公司的名义注册的
• 申报在官网可以查询到吗?
申报是查询不到的,也没有相关回执。
• 每月申报是否可0申报?
已经下证书的,没发货要做0申报,只需要提供德国站的就可以,有发货的要正常做申报,合作费用中,我们已经包括了当年申报的重量,如当年不超出该费用,是不用额外收费的。
• 假如是3月份注册下证的,但3月之前有销售,那么4月份申报的时候是否需要补缴之前的?
目前德国政府要求是注册下证后每个月开始申报,没有说要补缴之前的。



【关于产品认证你或许想了解的】
德国WEEE产品

产品政策
合规流程
产品信息
常见问题


一、产品政策

(一)什么是WEEE?
WEEE即Waste Electrical and Electronic Equipment (WEEE) Directive (2002/96/EC),报废的电子电气设备。
2005年8月13日,欧盟《关于报废电子电气设备指令》和《禁止在电子电气设备中使用有害物质指令》以及在此基础上德国制订的《德国电子电气法》(ElektroG)生效,欧盟市场上流通的电子电气设备的生产商必须在法律上承担起支付报废产品回收费用的责任,同时欧盟各成员国有义务制定自己的电子电气产品回收计划,建立相关配套回收设施,使电子电气产品的最终用户能够方便并且免费地处理报废设备。
法规主要目的:预防废弃物的产生,其次是为方便废弃物进行再回收、再使用、再制造,减少资源浪费。
在2016年4月24号,德国环保部门专门发布了针对电商的法律并要求亚马逊必须通知在其平台上销售的境外电商进行电子设备回收的注册。也就是说,商家在取得WEEE电子设备回收注册码之前,不允许在亚马逊平台上销售产品。
(二)为何要注册WEEE并回收电子设备?不合规有什么后果?
环保要求:欧盟是一个对环保要求非常严格的地区,电子回收法律对土壤污染和地下水的保护起到至关重要的作用。
不注册并回收会有什么后果?
EAR/德国环境保护协会/竞争对手发现你的产品没印上垃圾桶标志或没有注册回收,会有以下惩罚——被亚马逊封锁listing,产品无法销售。
德国的监管部门尤其是市场监督局会根据相应的进口数量以及销售历史等等,进行相应的处罚,罚款高达到十万欧元;
直接没收您由此销售所产生的所有盈利;
直接停止您这个账户或者您这个公司在德国的所有销售;
更严重的就会提醒律师对您这个违规行为进行起诉,并且追溯相应的刑事以及民事责任。
注:亚马逊目前是抽查状态,建议尽早注册,否则一旦被投诉/抽查,产品售卖不了,对客户损失也很大。且德国WEEE无法加急。
(三)WEEE-亚马逊不定期会进行审查
亚马逊不定期会对平台上销售的产品进行合规审查,发现产品不符合合规要求,会要求卖家提供WEEE相关证书或下架产品。据亚马逊告知,接下来会在产品合规方面加大审查,所以对于电子电器产品而言,WEEE注册及申报必不可少。以下为亚马逊卖家收到的关于德国WEEE办理的邮件:


二、合规流程

(一)谁有责任注册并申报德国WEEE?
在德国销售电子电器的生产商需要注册“德国WEEE”
进行德国WEEE注册的主体是“producer”(生产商),这里生产商有两种定义:
①第一种:自己生产产品,并且以自己的名义和品牌上市。
②第二种:自己不生产产品,从其他工厂拿货,但是对外表现为生产商(比如包装/产品上打自己的品牌,公司名称和地址等)
如产品上没有留公司名称和地址,则是违规。根据欧盟法规,产品/包装一定要有公司名称和地址的。
注:
1、电子电器:只要是通电产品就需要注册,用外部电池,也代表这个产品是通电的。
2、目前亚马逊要求申请主体需要和店铺后台主体一致,所以建议客户按店铺主体申请。
(二)如何选择代理人?
根据ElectroG法案的要求,德国境外的生产商必须有设在德国境内的分公司负责注册;如果在德国境内没有分公司的,需要有授权代理人。
授权人必须是如下两类人:
◆ 律师或者注册会计师
◆ 专业的回收公司
授权人主要负责:
1)负责管理机构Stiftung EAR与制造商直接的联络,即各地方通知Stiftung EAR制造商回收废弃物时,Stiftung EAR通知代理人负责废弃物的回收工作;
2)对制造商的责任进行担保,即一旦制造商退出德国市场,代理人负责完成未销售产品与剩余废弃物的处理工作(回收的废弃物包括电子电器本身以及它们的包装)。
(三)德国WEEE注册机构EAR
根据德国ElektroG的要求,负责ElektroG执行的政府部门是联邦环保局。
EAR(die Stiftung Elektro-Altgeräte Register )电子旧设备登记基金,其主要职能是支持联邦环保局的工作,向其提供相关生产商、产品的注册以及设备回收等信息。


三、产品信息

(一)WEEE六大类

(二)划分类别判断顺序

(三)产品信息
合作方式/申请主体:以公司为主体合作收费(按自然年收费,每年11月前需告知我们是否续费第二年,付续费价,不续费则需付费注销)
费用说明:WEEE总共有6大类,我们的费用单价包括一个类别一个品牌的注册和该类当年免费的重量申报费用,如公司名下多加类目和品牌都是要增加费用的。
每类包括的申报重量额度:

时效:1-3个月(最快1个月,依据官方审核员速度而定,官方不接受加急)
所需资料:申请表+营业执照及翻译机构出具的英文翻译件(我司代处理)+产品图片(能看到品牌LOGO)
注:官方规定申请WEEE的公司,邮箱和手机号不能重复使用,故客户提交资料时,需提供未在WEEE登记过的联系方式。
合作流程:
1、前端:依据该公司名下在德国销售的电子产品的类别数和品牌数确定价格——签署合同付款
2、后端:提交公司及产品信息(每类每品牌提供一个代表性产品)——提交官网注册——下发授权书——客户签字盖章回传——下发受理书——注册成功,下证书
3、客户:客户将其注册的品牌、WEEE回收标识印在产品本身和包装上,亚马逊后台绑定WEEE——每月10号前提交上月实际销售重量给到我们申报,年终我们再总体申报一次
销售重量:结合亚马逊后台德国站的销售单量,乘以产品重量-去掉包装,得到一个总重量
注册后获得:WEEE证书
德国WEEE注册以后,需要在产品、外包装和说明书 3 个地方添加以下标志:

转代理:如客户要转代理过来,需让他的代理先注销(预计2-4周),我们同步做递交,他们那边注销成功后,我们就可以授权成功了,但中途客户的产品也有可能被投诉下架,会有些风险,看客户选择。

四、常见问题

费用问题
为何每年都得续费,如果我是当年10月才注册下来的,当年11月前就要确认明年是否续费?
官方都是按自然年收取费用的,所以我们每个自然年也需付费给他们,只要客户WEEE注册下的证书是当年的,那么次年就要再缴费。建议您及早注册,早注册下来及早对产品进行保护。
产品概念
• 亚马逊需要的是WEEE注册还是WEEE检测?
WEEE检测是检测单个产品的回收率,达到80%才能销售。做WEEE检测不被亚马逊认可。如果您的产品在欧盟,在德国销售,您需要做的是WEEE注册。
• 德国WEEE 注册可以在整个欧盟通用吗?
不可以,每个国家都需单独注册。
• 德国WEEE注册机构?EAR是什么?
EAR(die Stiftung Elektro-Altgeräte Register )是电子旧设备登记基金,德国WEEE的注册机构。其主要职能是支持联邦环保局的工作,向其提供相关生产商、产品的注册以及设备回收等信息。根据德国ElektroG的要求,负责ElektroG执行的政府部门是联邦环保局。
注册主体
• 德国WEEE 是以公司/店铺注册,还是以商品/品牌注册?
是以公司名为主体注册的,一个公司一个注册码,可以申请多个类目和品牌。但亚马逊审核WEEE的时候,会要求WEEE证书和后台的公司名字保持一致,所以平台和官方有冲突,建议以亚马逊平台要求为准,每家亚马逊店铺注册一个WEEE。
• 这个店铺的一个品牌注册了德国WEEE,这个品牌授权给了其他店铺,那么可以共用一个WEEE吗?
以公司主体注册的,跟品牌授权没关系
• X个公司注册X个WEEE,但产品是同个品牌,是否有关系?
没有关系,只要公司的联系邮箱和手机号不要重复即可
• 营业执照和店铺后台主体公司的地址不一样,以哪个为准?
官方会要求营业执照和后台信息保持一致,不然没法下证,现在改店铺后台信息很容易引发KYC审核,需要让客户选择是改后台信息,还是提供旧的营业执照过来,我们按旧的信息申请。
类别问题
• 我店铺内的产品主要是灯具,是不是都属于第3类呢?
不一定。如果只是一个简单的LED灯泡去单独销售,则属于第3类。但是如果产品的最长边(收缩到最短)不超过50cm,如台灯,则属于第5类,即小型电子电气设备。如超过50cm,如落地灯、壁灯或者吊顶灯,则是属于第4类,大型电子电气设备。
另外,很多卖家销售的LED灯串,虽然产品总长度很多超过50cm,但是属于第5类,即小型电子电气设备。WEEE产品的分类较为复杂,如无法判断,可发产品销售链接过来,我们协助判断。
• 客户是否能先注册未来要上架的产品类别?
可以先申请,提供产品图片以及技术参数过来,也可以后续上架了再提交加类申请,但加类的时间和新注册的时间是一样的,都是1-3个月,早下证书早对该产品类别产生保护。注:也是每个自然年都要续费。
注册资料问题
• 注册需要提供产品品牌吗?
需要提供,如您现在没有已注册的品牌,也可以是贵司正在注册的品牌,厂家授权的品牌,或是未来想要注册的品牌都可以。
• 非大陆公司申请德国WEEE,需要额外提供什么资料?
德国公司:需要提供德国公司营业执照、银行账户信息。如部分客户对营业执照比较敏感,可打上水印再提交。
香港公司:商业登记证,周年申报表,nnc1(香港政府下来的文件,一共有七页),营业执照
• 个体工商户提交的申请表需要注意的问题?
要在公司英文名称后面加法人的英文名字才能下证
• 是否一定要提供店铺链接,目的是什么?不方便提供是否可不提供?
1、我们核对申请的公司主体
2、要看申请的产品的相关技术参数信息(如没有产品链接,需要提供产品说明书英文版的给我们)
3、需要提供给官方审核
注册完毕后问题
• 注册完可以在哪个网上查询注册号吗?
https://www.ear-system.de/ear-verzeichnis/hersteller.jsf#no-back,一般证书注册下来,官网5-7个工作日完成更新
• 如果后续新增产品,还需要向EAR机构提交材料进行注册吗?
如果新增产品属于已经注册过的类别和品牌,则不需要再注册。如果新增产品不属于已经注册的类别和品牌,则需要及时告知我方,从而进行新增类别及品牌的注册。
• 注册完毕后,公司相关信息发生变更,是否需重新注册德国WEEE?
如果是地址发生变更,不需要重新注册,注册主体是以公司的名义注册的
• 申报在官网可以查询到吗?
申报是查询不到的,也没有相关回执。
• 每月申报是否可0申报?
已经下证书的,没发货要做0申报,只需要提供德国站的就可以,有发货的要正常做申报,合作费用中,我们已经包括了当年申报的重量,如当年不超出该费用,是不用额外收费的。
• 假如是3月份注册下证的,但3月之前有销售,那么4月份申报的时候是否需要补缴之前的?
目前德国政府要求是注册下证后每个月开始申报,没有说要补缴之前的。







其他
04-09 周四











