不做低价卷王:高价小众品的精准运营之道
AI设计/3D打印/欧洲市场实战拆解,点击报名
大家好,今天想和大家分享一个我最近操作的案例,一个让我从一开始就“心里凉半截”,到最后却做到类目天花板的产品。
这不仅是一个成功案例,更是一套可复制的 小众高客单价产品破局方法论 。
01
刚拿到这条链接的时候,我扫了一眼小类前100名,几乎找不到同款。再去搜核心关键词,同款产品基本都在大几百名开外。
说实话,当时心就凉了半截,脑子里一直有个声音: 这产品,到底行不行?
但这个产品有个特点: 材质特殊,有高级感,产品质量非常过硬 。当然,质量好的代价就是成本高,反映到售价上,就是价格远远高于类目大部分产品,几乎是普通产品的两倍。
好在利润率不错,26.99美元的售价,能保证将近50%的毛利。这让我稍微有了点底气:就算前期转化差,后期也可以通过调整价格或促销来撬动一下。
我们的产品在价格带上确实处于高位,但也因此避开了低价内卷的红海。
定位:不贪心,找准自己的生态位
接着就是分析类目关键词。因为材质独特,最相关的核心关键词ABA排名直接到了四五十万。很明显,这个产品定位就不是走量的。
这个类目还有一个特点: 销量断层非常严重 。小类前20名,日销能到80多单;但到了20名往后,日销直接跌到30单左右。
客户的预期是进小类前100,大概日均15单。而我给自己定的目标很清晰:在不大动价格的前提下,做到日均20+单,小类50名左右就算成功。
总结 :“不贪大,只做透” ——在垂直选品中,这是核心原则。我们不追求覆盖所有人,而是聚焦一个细分痛点,做深做透。
02
目标定了,那就开干。检查完链接,确认没什么问题后,我开始进行广告推广。
前面说了,强相关关键词的流量虽然小,但这是最精准的流量,必须抓住。只有抓住了这波流量,才能慢慢吃到更大流量关键词的流量,把单量放大。
用强相关关键词测试后,我发现转化率竟然还不错,达到了10%,超过了类目平均水平。
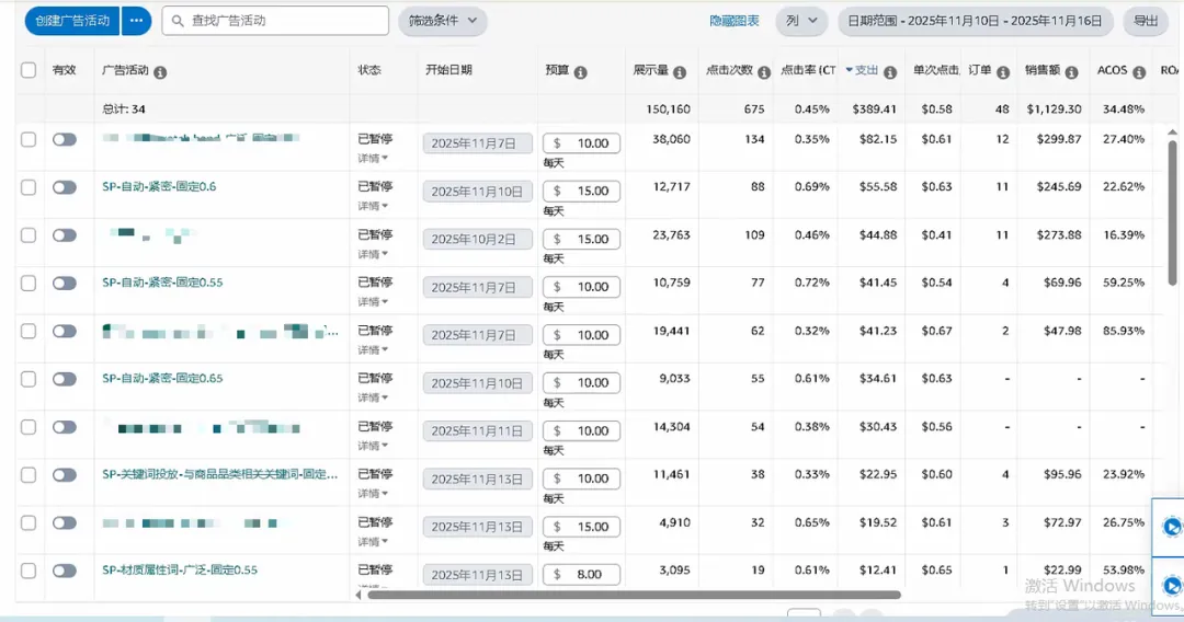
这也验证了我方向是对的。后面可以尝试拓展一些更大的流量词了。广告活动的表现数据如(图 1)所示,强相关词的点击率和转化率都表现突出。

在放大测试的过程中,我发现有些词的转化还可以,有些则比较差。这很正常,因为产品是非标品,变体又多(尺寸和颜色)。
于是,我开始分批次测试不同变体,最后只保留表现最好的那几个。最终,这条链接只保留了4-5个核心变体进行推广,而这几个变体的销量,能占到整体销量的50%以上。
分批次测试的过程可以参考(图 2)中的广告活动数据对比。

到了12月,库存告急,广告基本就暂停了拓展,主要精力放在了控货上。那段时间的数据参考价值不大,就不多说。
03
1月份补货到仓后,我开始持续做增量优化。有了前一个多月的数据积累,接下来的操作就清晰多了。我从搜索词报告中,把表现好的词筛选出来进行再投放。比如截图里的品牌词、商品投放,都是从搜索词报告里挖掘出来放大的。相关广告活动的表现如(图3和图4)所示。

(图3)

这时候,我的广告架构已经初步成型:自动广告、关键词广告、品牌广告、视频广告、捡漏广告,共同构成了一个完整的流量矩阵。
04
到2月份,这条链接的日均单量稳定在30+,小类排名30名左右,稳稳占据了同材质产品的第一名。
对于这类产品来说,这已经是天花板了,再往前就是那些9.99美元走量的低价产品了。
细心的小伙伴可能发现了,我的广告架构里几乎没有投放关键词精准匹配组。难道是不需要推关键词自然排名吗?
其实,要不要推关键词排名,真的和产品本身有关。不是说非标品就不需要打,标品就一定要打。
因为这个产品在市场上同类比较少,强相关词的流量本来就小,只要单量拉上去,自然位就能做到头部。
而那些通用的大流量词,自然位早就被前20名的低价产品牢牢占据。
我们售价是人家的两倍,产品本身都不一样,硬碰硬去抢那些词,明显是打不过的。
05
对于这种市场上比较小众的产品,自动广告往往能带来意想不到的效果,甚至完全可以作为主打,从我上面的广告截图也不难看出这一点。而品牌广告、视频广告、捡漏广告,更多是起到锦上添花的作用。把这些策略组合起来,再加上对出单词的再投放,就形成了一个完美的流量闭环。
总结 :“运营没有固定的公式,适合自己的产品,能达成目标的策略,就是最好的。”
(深度拓展)小众高客单价产品的破局之道
这个案例的成功,并非偶然。它背后隐藏着一套清晰的逻辑,尤其适用于那些追求差异化和高利润的卖家。
重新定义蓝海: 蓝海并非空白市场,而是“有强需求但未被很好满足”的市场。 我们的产品正是抓住了材质特殊这一细分需求,在一片红海中找到了属于自己的蓝海。
垂直选品四步法则:
看需求与转化: 月搜索量过万,购买率≥25%。我们的产品虽然搜索量不大,但转化率高,说明需求真实且迫切。
看增长潜力: 近3个月同比增长≥50%。我们的产品所在的细分赛道正处于上升期。
看竞争格局: ABA集中度<30%,头部未垄断。类目销量断层严重,说明竞争格局尚未固化,有可乘之机。
看类目周期: 优先选择日常刚需款,避开季节性过强品类。我们的产品属于日常用品,需求稳定。
广告策略的精准匹配:
流量结构分析: 对于我们这种“流量入口少、滑动排名梯度小”的类似蓝海产品,策略是覆盖各流量层级,精准打词,铺ASIN,观察自然排名。
捡漏广告的艺术: 自动广告捡漏、手动关键词捡漏、ASIN定位捡漏等,都是低成本获取精准流量的关键。我们的自动广告订单占比高达45%,正是这一策略的生动体现。
高客单价产品的特殊运营逻辑:
决策周期长: 高客单价产品的买家决策周期更长,需要比价、商量,甚至等待优惠。因此,广告归因周期不能只看3天,而应延长至14天,特别是品牌广告和展示型广告。
信任是关键: 高客单价产品的转化,品牌信任至关重要。旗舰店是建立信任的载体,需要做好场景化展示、真实评价墙和售后保障页。
促销需精准: 针对加购人群发放专属优惠,能有效缩短决策周期,提升转化率。
总结 :“在标品市场,你是跟大卖的资本对抗;而在非标品市场,你是在和消费者的情感、文化、场景、需求直接对话。” 中小卖家的机会,往往藏在大卖家看不上的细分市场里。
希望今天的分享,能给正在做类似小众、高客单价产品的你,带来一些新的启发。


大家好,今天想和大家分享一个我最近操作的案例,一个让我从一开始就“心里凉半截”,到最后却做到类目天花板的产品。
这不仅是一个成功案例,更是一套可复制的 小众高客单价产品破局方法论 。
01
刚拿到这条链接的时候,我扫了一眼小类前100名,几乎找不到同款。再去搜核心关键词,同款产品基本都在大几百名开外。
说实话,当时心就凉了半截,脑子里一直有个声音: 这产品,到底行不行?
但这个产品有个特点: 材质特殊,有高级感,产品质量非常过硬 。当然,质量好的代价就是成本高,反映到售价上,就是价格远远高于类目大部分产品,几乎是普通产品的两倍。
好在利润率不错,26.99美元的售价,能保证将近50%的毛利。这让我稍微有了点底气:就算前期转化差,后期也可以通过调整价格或促销来撬动一下。
我们的产品在价格带上确实处于高位,但也因此避开了低价内卷的红海。
定位:不贪心,找准自己的生态位
接着就是分析类目关键词。因为材质独特,最相关的核心关键词ABA排名直接到了四五十万。很明显,这个产品定位就不是走量的。
这个类目还有一个特点: 销量断层非常严重 。小类前20名,日销能到80多单;但到了20名往后,日销直接跌到30单左右。
客户的预期是进小类前100,大概日均15单。而我给自己定的目标很清晰:在不大动价格的前提下,做到日均20+单,小类50名左右就算成功。
总结 :“不贪大,只做透” ——在垂直选品中,这是核心原则。我们不追求覆盖所有人,而是聚焦一个细分痛点,做深做透。
02
目标定了,那就开干。检查完链接,确认没什么问题后,我开始进行广告推广。
前面说了,强相关关键词的流量虽然小,但这是最精准的流量,必须抓住。只有抓住了这波流量,才能慢慢吃到更大流量关键词的流量,把单量放大。
用强相关关键词测试后,我发现转化率竟然还不错,达到了10%,超过了类目平均水平。
这也验证了我方向是对的。后面可以尝试拓展一些更大的流量词了。广告活动的表现数据如(图 1)所示,强相关词的点击率和转化率都表现突出。

在放大测试的过程中,我发现有些词的转化还可以,有些则比较差。这很正常,因为产品是非标品,变体又多(尺寸和颜色)。
于是,我开始分批次测试不同变体,最后只保留表现最好的那几个。最终,这条链接只保留了4-5个核心变体进行推广,而这几个变体的销量,能占到整体销量的50%以上。
分批次测试的过程可以参考(图 2)中的广告活动数据对比。

到了12月,库存告急,广告基本就暂停了拓展,主要精力放在了控货上。那段时间的数据参考价值不大,就不多说。
03
1月份补货到仓后,我开始持续做增量优化。有了前一个多月的数据积累,接下来的操作就清晰多了。我从搜索词报告中,把表现好的词筛选出来进行再投放。比如截图里的品牌词、商品投放,都是从搜索词报告里挖掘出来放大的。相关广告活动的表现如(图3和图4)所示。

(图3)

这时候,我的广告架构已经初步成型:自动广告、关键词广告、品牌广告、视频广告、捡漏广告,共同构成了一个完整的流量矩阵。
04
到2月份,这条链接的日均单量稳定在30+,小类排名30名左右,稳稳占据了同材质产品的第一名。
对于这类产品来说,这已经是天花板了,再往前就是那些9.99美元走量的低价产品了。
细心的小伙伴可能发现了,我的广告架构里几乎没有投放关键词精准匹配组。难道是不需要推关键词自然排名吗?
其实,要不要推关键词排名,真的和产品本身有关。不是说非标品就不需要打,标品就一定要打。
因为这个产品在市场上同类比较少,强相关词的流量本来就小,只要单量拉上去,自然位就能做到头部。
而那些通用的大流量词,自然位早就被前20名的低价产品牢牢占据。
我们售价是人家的两倍,产品本身都不一样,硬碰硬去抢那些词,明显是打不过的。
05
对于这种市场上比较小众的产品,自动广告往往能带来意想不到的效果,甚至完全可以作为主打,从我上面的广告截图也不难看出这一点。而品牌广告、视频广告、捡漏广告,更多是起到锦上添花的作用。把这些策略组合起来,再加上对出单词的再投放,就形成了一个完美的流量闭环。
总结 :“运营没有固定的公式,适合自己的产品,能达成目标的策略,就是最好的。”
(深度拓展)小众高客单价产品的破局之道
这个案例的成功,并非偶然。它背后隐藏着一套清晰的逻辑,尤其适用于那些追求差异化和高利润的卖家。
重新定义蓝海: 蓝海并非空白市场,而是“有强需求但未被很好满足”的市场。 我们的产品正是抓住了材质特殊这一细分需求,在一片红海中找到了属于自己的蓝海。
垂直选品四步法则:
看需求与转化: 月搜索量过万,购买率≥25%。我们的产品虽然搜索量不大,但转化率高,说明需求真实且迫切。
看增长潜力: 近3个月同比增长≥50%。我们的产品所在的细分赛道正处于上升期。
看竞争格局: ABA集中度<30%,头部未垄断。类目销量断层严重,说明竞争格局尚未固化,有可乘之机。
看类目周期: 优先选择日常刚需款,避开季节性过强品类。我们的产品属于日常用品,需求稳定。
广告策略的精准匹配:
流量结构分析: 对于我们这种“流量入口少、滑动排名梯度小”的类似蓝海产品,策略是覆盖各流量层级,精准打词,铺ASIN,观察自然排名。
捡漏广告的艺术: 自动广告捡漏、手动关键词捡漏、ASIN定位捡漏等,都是低成本获取精准流量的关键。我们的自动广告订单占比高达45%,正是这一策略的生动体现。
高客单价产品的特殊运营逻辑:
决策周期长: 高客单价产品的买家决策周期更长,需要比价、商量,甚至等待优惠。因此,广告归因周期不能只看3天,而应延长至14天,特别是品牌广告和展示型广告。
信任是关键: 高客单价产品的转化,品牌信任至关重要。旗舰店是建立信任的载体,需要做好场景化展示、真实评价墙和售后保障页。
促销需精准: 针对加购人群发放专属优惠,能有效缩短决策周期,提升转化率。
总结 :“在标品市场,你是跟大卖的资本对抗;而在非标品市场,你是在和消费者的情感、文化、场景、需求直接对话。” 中小卖家的机会,往往藏在大卖家看不上的细分市场里。
希望今天的分享,能给正在做类似小众、高客单价产品的你,带来一些新的启发。







其他
04-09 周四











